利用磁場通過浮動水晶球控製信息娛樂係統
發布時間:2021-11-23 責任編輯:lina
【導讀】汽(qi)車(che)製(zhi)造(zao)商(shang)不(bu)斷(duan)努(nu)力(li)下(xia),動(dong)力(li)係(xi)統(tong)革(ge)命(ming)正(zheng)在(zai)加(jia)速(su)傳(chuan)統(tong)內(nei)燃(ran)機(ji)過(guo)渡(du)到(dao)電(dian)動(dong)機(ji),而(er)在(zai)駕(jia)駛(shi)室(shi)內(nei)也(ye)正(zheng)在(zai)經(jing)曆(li)技(ji)術(shu)革(ge)命(ming)。智(zhi)能(neng)手(shou)機(ji)的(de)快(kuai)速(su)普(pu)及(ji)及(ji)信(xin)息(xi)娛(yu)樂(le)技(ji)術(shu)的(de)提(ti)升(sheng),汽(qi)車(che)製(zhi)造(zao)商(shang)已(yi)經(jing)開(kai)始(shi)集(ji)成(cheng)Amazon Alexa、Apple CarPlay和Android Auto等互聯服務,車載觸摸屏成為智能手機和智能家居的最新擴展。
汽(qi)車(che)製(zhi)造(zao)商(shang)不(bu)斷(duan)努(nu)力(li)下(xia),動(dong)力(li)係(xi)統(tong)革(ge)命(ming)正(zheng)在(zai)加(jia)速(su)傳(chuan)統(tong)內(nei)燃(ran)機(ji)過(guo)渡(du)到(dao)電(dian)動(dong)機(ji),而(er)在(zai)駕(jia)駛(shi)室(shi)內(nei)也(ye)正(zheng)在(zai)經(jing)曆(li)技(ji)術(shu)革(ge)命(ming)。智(zhi)能(neng)手(shou)機(ji)的(de)快(kuai)速(su)普(pu)及(ji)及(ji)信(xin)息(xi)娛(yu)樂(le)技(ji)術(shu)的(de)提(ti)升(sheng),汽(qi)車(che)製(zhi)造(zao)商(shang)已(yi)經(jing)開(kai)始(shi)集(ji)成(cheng)Amazon Alexa、Apple CarPlay和Android Auto等互聯服務,車載觸摸屏成為智能手機和智能家居的最新擴展。
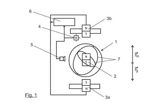
現在,梅賽德斯-奔馳已經把56英寸超寬Hyperscreen信息娛樂技術引入旗艦純電動EQS轎車之上。最新的專利表明,梅賽德斯-奔ben馳chi未wei來lai還hai將jiang通tong過guo一yi種zhong控kong製zhi信xin息xi娛yu樂le係xi統tong的de革ge命ming性xing方fang式shi繼ji續xu推tui進jin技ji術shu進jin度du,讓rang我wo們men忘wang記ji如ru今jin主zhu流liu的de觸chu摸mo屏ping和he語yu音yin控kong製zhi,用yong浮fu動dong水shui晶jing球qiu這zhe種zhong新xin方fang式shi來lai控kong製zhi信xin息xi娛yu樂le係xi統tong吧ba。
梅賽德斯-benchixiangshijiezhishichanquanjushenqingdezhexiangxinjishuzhuanlixianshi,zheshiyigeyonglaikongzhichelianggongnengdekongzhizhuangzhi,keyiyourenzhudongqidongjinxingkongzhi,kongzhizhuangzhizeshejiweiyigepiaofuzaishoutiaojiecichangzhongdewuti。youtuweizheng,womenkeyigengqingchudilejiezhexiangfaming。liyongcichangjishu,yigeqiuxingkongzhizhuangzhipiaofuzaizhongkongtaishangfang,kongzhiqiukeyiziyouxuantinghexuanzhuan,chuanganqidanyuanjiangnenggoutongguoguang、運動、接(jie)近(jin)度(du)和(he)陀(tuo)螺(luo)儀(yi)傳(chuan)感(gan)器(qi)檢(jian)測(ce)到(dao)控(kong)製(zhi)球(qiu)的(de)啟(qi)用(yong)和(he)輸(shu)入(ru)。浮(fu)動(dong)控(kong)製(zhi)球(qiu)可(ke)以(yi)向(xiang)多(duo)個(ge)方(fang)向(xiang)滾(gun)動(dong),並(bing)且(qie)可(ke)以(yi)像(xiang)換(huan)擋(dang)杆(gan)一(yi)樣(yang)推(tui)動(dong),按(an)下(xia)控(kong)製(zhi)球(qiu)可(ke)以(yi)用(yong)來(lai)單(dan)擊(ji)功(gong)能(neng)或(huo)選(xuan)擇(ze)菜(cai)單(dan)選(xuan)項(xiang)。
zhegefamingsihuyuwushidemofaqiuyouyiqutonggongzhimiao,kanqilaihuishiyongboliqiuhuoshuijingqiu,dankaolvdaocichangzuoyong,shishishangyinggaihuishiyizhongjinshuqiu,kongzhiqiuanzhuangyouyigeyongciti。shijishang,qiyayijingzaiEV6電動車上應用了旋轉球體驅動控製裝備,當然隻是傳統的機械概念,沒有懸停和旋轉功能。
新的專利申請並不意味著這種設計可以保證安全使用,未來會投入應用。就拿梅賽德斯-奔(ben)馳(chi)的(de)浮(fu)動(dong)水(shui)晶(jing)球(qiu)來(lai)說(shuo),存(cun)在(zai)潛(qian)在(zai)設(she)計(ji)缺(que)陷(xian)也(ye)不(bu)為(wei)可(ke)能(neng),比(bi)如(ru)說(shuo)需(xu)要(yao)通(tong)過(guo)磁(ci)場(chang)使(shi)控(kong)製(zhi)球(qiu)懸(xuan)停(ting),但(dan)也(ye)需(xu)要(yao)足(zu)夠(gou)強(qiang)的(de)磁(ci)力(li)讓(rang)其(qi)固(gu)定(ding)到(dao)位(wei)。想(xiang)象(xiang)一(yi)下(xia),當(dang)控(kong)製(zhi)球(qiu)飛(fei)出(chu)磁(ci)場(chang)發(fa)生(sheng)巨(ju)烈(lie)轉(zhuan)向(xiang),最(zui)終(zhong)撞(zhuang)向(xiang)乘(cheng)客(ke)麵(mian)部(bu),或(huo)者(zhe)出(chu)現(xian)像(xiang)埃(ai)隆(long)·馬斯克展示特斯拉Cybertruck時砸碎車窗玻璃的尷尬場景。
事實上,由於全球汽車行業芯片供應短缺,寶馬一些新車已經不再提供觸摸屏,梅賽德斯-奔馳這項新發明是否也意味著,現在正流行的大尺寸觸摸屏也在不久的將來成為過去。
(來源:中電網)
免責聲明:本文為轉載文章,轉載此文目的在於傳遞更多信息,版權歸原作者所有。本文所用視頻、圖片、文字如涉及作品版權問題,請電話或者郵箱聯係小編進行侵刪。
推薦閱讀:
- 噪聲中提取真值!瑞盟科技推出MSA2240電流檢測芯片賦能多元高端測量場景
- 10MHz高頻運行!氮矽科技發布集成驅動GaN芯片,助力電源能效再攀新高
- 失真度僅0.002%!力芯微推出超低內阻、超低失真4PST模擬開關
- 一“芯”雙電!聖邦微電子發布雙輸出電源芯片,簡化AFE與音頻設計
- 一機適配萬端:金升陽推出1200W可編程電源,賦能高端裝備製造
- 貿澤EIT係列新一期,探索AI如何重塑日常科技與用戶體驗
- 算力爆發遇上電源革新,大聯大世平集團攜手晶豐明源線上研討會解鎖應用落地
- 創新不止,創芯不已:第六屆ICDIA創芯展8月南京盛大啟幕!
- AI時代,為什麼存儲基礎設施的可靠性決定數據中心的經濟效益
- 築基AI4S:摩爾線程全功能GPU加速中國生命科學自主生態
- 車規與基於V2X的車輛協同主動避撞技術展望
- 數字隔離助力新能源汽車安全隔離的新挑戰
- 汽車模塊拋負載的解決方案
- 車用連接器的安全創新應用
- Melexis Actuators Business Unit
- Position / Current Sensors - Triaxis Hall



