基於ZigBee的智能家居安全監控係統研究
發布時間:2011-12-15
中心議題:
- 基於ZigBee的智能家居安全監控係統設計
解決方案:
- 智能家居安全監控係統的硬件設計
- 隻能家居安全監控係統的軟件設計
為實現對家庭安全的實時監控,提出了智能家居遠程安全監控係統設計方案。係統基於ZigBee技術和GSM /GPRS網絡進行設計,能夠通過彩信和短信發出監控圖像和報警信息,接收遠程指令;同時引入了多種傳感器,實現了對家用電器的遠程控製,實現了智能家居遠程監控。重點闡述了係統的硬件、軟件設計以及係統的性能測試,實現了多個監控裝置的無線聯網。實驗結果表明,所設計的係統能夠實現安全、便捷的智能家居遠程監控,並具有較高的可用性和可靠性。
0 前 言
智能家居又稱智能住宅,正朝著具備無線遠程控製、多媒體控製、gaosushujuchuanshudenggongnengdefangxiangfazhan,qiguanjianjishuweijianrongxingqiangdejiatingkongzhiqihemanzuxinxichuanshuxuyaodejiatingwangluo。muqian,chuanshuwangluoduocaiyongzonghebuxianjishu,xianzhilexitongdeyingyongchangsuo,erqiefeiyongjiaogao。caiyongwuxianfangshigoujianlinghuobianjiedezhinengjiajuanquanjiankongxitong,chengweidangqiandeyanjiuredian。
目前,應用於智能家居的無線通信技術主要包括: Ir2DA紅外線技術、藍牙技術和ZigBee技術等。IrDA屬於短距離、點對點的半雙工通信方式,使用不便且失誤率高,不適用於家庭的組網方式;藍牙技術則因為網絡容量有限,成本較高,不適於節點較多的家居網絡應用。
本研究通過采用傳輸範圍適中、安全可靠、網絡容量較大的ZigBee技術,設計智能家居遠程安全監控係統。
1 係統架構
1. 1 ZigBee網絡拓撲選型
ZigBee是一種近距離、低複雜度、低功耗、低成本的雙向無線通信技術,主要適用於自動控製和遠程控製領域。IEEE802. 15. 4 是ZigBee技術的基礎,與高速率個人區域網、藍牙或802. 11x無線局域網相比,ZigBee協議更為簡單實用。
ZigBee網絡的拓撲結構主要有3種:星型、樹狀和網狀網絡。網狀網絡容錯能力高、自適應力好、傳輸距離長,但其複雜度也最高;星型網絡具有簡潔和低功耗等特點,使用簡單,適用於家庭的小規模、低複雜度的應用;樹狀網絡則介於兩者之間。在智能家居中應用星型網絡,可獲得較高的性價比。
1. 2 係統構成
本係統采用模塊化設計方案。以嵌入式係統主板為核心,通過CMOS攝像頭對關鍵部位進行安全監測,通過手機傳遞安全信息和圖像彩信,並對家用電器進行遠程控製,利用ZigBee模塊實現家用電器、係統主板和煙霧、溫度、煤氣等傳感器的無線聯網。
係統主板的核心控製器為S3C44B0X型32位微控製器,對數據進行處理和判別,並通過彩信模塊和Zig2Bee模塊發出信息和指令;擴展板用以接入煙霧、紅外、煤氣等家庭安防狀態傳感器;彩信模塊將係統控製器所發出的家庭安防狀態信息發送至用戶手機,並接收用戶發送的短信指令; ZigBee模塊負責係統主板、擴展板和家用電器之間的數據交聯。係統結構如圖1所示。

圖1 基於ZigBee的智能家居安全監控係統
[page]
2 係統硬件設計
2. 1 串口攝像機
串口攝像機采用了優化的串行通訊協議,支持分包傳輸,使主機可以配置更小的緩存,同時提供了TTL電平和RS232 電平兩種輸出。通過串行通信實現與主機之間的指令和數據的傳輸,主機可對其進行波特率、圖像分辨率、發送方式等狀態參數的設定。
2. 2 彩信模塊設計
彩信模塊內置彩信協議,是集SMS、MMS於一體的GSM /GPRS模塊。它采用AT指令進行模塊控製,通過RS232接口進行控製命令和數據的傳輸。其內部集成600 KB 的Flash存儲空間,可供發送MMS信息時實現圖片的多張上傳。
2. 3 係統控製器
本係統采用32位R ISC處理器S3C44B0X,具有豐富的功能和外設,包括: 8 KB Cache、內部SRAM、LCD控製器、2通道UART、4通道DMA、帶有PWM功能的5通道定時器等。該處理器在各方麵的性能均能滿足係統的需要,並且在同類產品中的性價比也是較高的。
2. 4 ZigBee收發器件
本係統采用CC2430芯片作為ZigBee無線通信模塊。CC2430整合了ZigBee射頻(RF)前端、內存和微控製器。
CC2430集成了符合IEEE802. 15. 4 標準的2. 4GHz的RF無線電收發機,支持數字化的RSSI/LQ I,具有CSMA /CA功能和強大的DMA功能、電池監測和溫度感測功能,同時具有強大和靈活的開發工具。
2. 5 係統硬件接口設計
ZigBee模塊通過RS232 接口與係統主板通過串口進行通信; ZigBee模塊之間以無線網絡的形式進行數據傳輸,其中與傳感器相連的ZigBee模塊利用其普通I/O端口作為傳感器信號的接收端口;與家用電器相聯的ZigBee模塊通過繼電器控製家用電器的開關運行。係統硬件的接口設計與連接如圖2所示。

圖2 係統硬件接口設計
串口攝像機和彩信模塊使用RS232 接口與S3C44B0X處理器進行數據和指令的傳輸。
3 係統軟件設計
整個係統軟件開發采用模塊化設計方案,具體可分為3個部分: ZigBee無線收發、彩信及短信收發和圖像采集處理。
3. 1 ZigBee無線網絡的應用
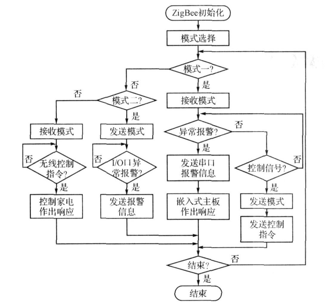
無線通信的軟件設計主要包括:係統異常報警信號的傳輸和接收、ARM處理器和ZigBee模塊之間以及各ZigBee模塊之間的數據傳輸控製等, ZigBee無線通信模塊軟件流程圖如圖3所示。其中,根據在網絡中所處的層次,將ZigBee模塊設定為3個運行模式:
模式1.與係統主板相連。用來接收其他ZigBee模塊發送的報警信息和將主板給出的控製信息發送給其他ZigBee模塊,是主板與外部設備進行無線通信的核心樞紐。
模式2.通過繼電器與家用電器相連,置於接收狀態。當接收到其他ZigBee模塊發送過來的控製指令時,控製家電執行相應的開關動作。
模式3.通過繼電器與傳感器相連,置於發送狀態。當ZigBee模塊接收到傳感器的報警信號時,將報警信號發送給其他ZigBee模塊。
[page]
模塊的模式可通過撥碼開關進行設定。不同模式的模塊負責各層間數據和指令的傳輸,構成了家庭安防局域網。

圖3 無線通信模塊的軟件流程
3. 2 彩信及短信的收發實現
彩信模塊可實現SMS和MMS的收發功能,通過AT指令進行控製。首先要進行模塊初始化配置,如設置接入點、IP設定、設置MMS通信模式、設置服務器網址等。
Xmodem協議的開始標誌是文件接收方發出"NAK"字節,文件發送方在收到該信號後發送數據幀,雙方開始正常通信過程。基於Xmodem協議上傳圖片的流程如圖4所示。

圖4 發送文件流程
3. 3 異常狀態檢測
本係統能夠通過圖像方式,對外人入侵、火災等室內異常情況進行自動判別。其智能性主要體現在:係統軟件能夠對環境狀態進行自學,從而能適應背景環境的變化;duiyulinjiezhuangtai,nenggouzidongqidongzhuangtaigenzongjiankong,tongguoduofutupianhuodezhunquedepanduanjieguo。yibeijingchafenfahezhenjianchafenfaweijichu,caiyongledongjingyuzhijiehefa。zhenggemubiaodejianceguochengzhuyaobaokuo:圖像預處理;量化函數運動檢測(或小目標運動跟蹤檢測) ; 異常情況判別及處理。
[page]
當係統接收到攝像機傳送的新圖像後,首先進行預處理和去噪,以得到可以量化物體運動或異常區域的二值圖像;然後進行異常狀態分析與判斷。係統采用兩種異常量化函數:基(ji)於(yu)全(quan)局(ju)的(de)位(wei)圖(tu)處(chu)理(li)和(he)抽(chou)查(zha)檢(jian)測(ce)處(chu)理(li)。然(ran)後(hou),根(gen)據(ju)異(yi)常(chang)量(liang)化(hua)函(han)數(shu)指(zhi)標(biao)進(jin)行(xing)特(te)定(ding)的(de)後(hou)續(xu)操(cao)作(zuo)。若(ruo)需(xu)進(jin)入(ru)異(yi)常(chang)報(bao)警(jing)處(chu)理(li)程(cheng)序(xu),則(ze)傳(chuan)送(song)報(bao)警(jing)信(xin)號(hao),發(fa)送(song)MMS信息,並存儲當前視頻等;若需進入臨界異常跟蹤,則啟動臨界異常跟蹤程序;否則進行背景更換判定並等待獲取下一幅監控圖像。
4 係統測試及實驗數據分析
本係統采用運動目標檢測算法,實現對監視對象的圖像處理與異常判斷,占背景麵積8‰的小目標都能被係統識別。係統有效消除了因環境光線變化、背景微變、小目標漸進運動等因素引起的係統誤判。采用本係統軟、硬件進行入侵事件檢測,其實驗圖片及檢測效果如圖5所示。

圖5 入侵事件跟蹤檢測效果
為驗證ZigBee通信在智能家居安全監控係統中的性能,測試了兩組性能指標:
①無障礙狀態下,隨著距離的增加,數據丟包率、接收功率和自由空間衰減的變化情況;
②數據傳輸距離為30 m時,隨著障礙物增加而產生的丟包率;實驗數據分別如表1、表2所示。
接收功率根據CC2430芯片內建的RSSI (接收信號強度指示) 測得, RSSI的值存放在寄存器RSSIL.
RSSI_VAL中,其與接收功率的對應關係如下:
P =RSSI_VAL +RSSI_OFFSET[ dBm ].
其中, RSSI_OFFSET是經驗取值,約為- 45 dB.

表1 無障礙物時的測試數據

表2 存在障礙時的30 m距離測試數據
實驗結果表明,在無障礙物傳輸距離為80 m以內時,傳輸數據的丟包率低於1%,能夠充分滿足正常家居環境的通信需要,而且接收功率很低,非常適合家庭的使用; ZigBee模塊之間通信傳輸距離為30 m時,穿過2堵水泥牆的丟包率僅為1%,穿過1堵水泥牆時丟包率為0% ,完全能夠滿足係統設計的要求。
5 結束語
本研究提出並設計完成一種基於ZigBee的智能家居安全監控係統,分別從係統功能介紹、硬件設計、軟件設計、實驗數據分析等方麵分析了ZigBee技術在該係統中的應用。將ZigBee技術應用於智能家居中,實現了快速率、低成本、低功耗的無線網絡通信。通過將傳統傳感器報警係統和圖像監控係統相結合,形成了新型的智能安防係統。用戶可以通過手機或PC機接收MMS信息,根據需要進行遠程手機設定,從而實現靈活、便捷的家庭安全監控。
- 噪聲中提取真值!瑞盟科技推出MSA2240電流檢測芯片賦能多元高端測量場景
- 10MHz高頻運行!氮矽科技發布集成驅動GaN芯片,助力電源能效再攀新高
- 失真度僅0.002%!力芯微推出超低內阻、超低失真4PST模擬開關
- 一“芯”雙電!聖邦微電子發布雙輸出電源芯片,簡化AFE與音頻設計
- 一機適配萬端:金升陽推出1200W可編程電源,賦能高端裝備製造
- 2026藍牙亞洲大會暨展覽在深啟幕
- 新市場與新場景推動嵌入式係統研發走向統一開發平台
- 維智捷發布中國願景
- 2秒啟動係統 • 資源受限下HMI最優解,米爾RK3506開發板× LVGL Demo演示
- H橋降壓-升壓電路中的交替控製與帶寬優化
- 車規與基於V2X的車輛協同主動避撞技術展望
- 數字隔離助力新能源汽車安全隔離的新挑戰
- 汽車模塊拋負載的解決方案
- 車用連接器的安全創新應用
- Melexis Actuators Business Unit
- Position / Current Sensors - Triaxis Hall

