福利到!簡析半橋諧振DC-DC變換器得三種運行模式
發布時間:2015-08-24 責任編輯:echolady
【導讀】本文詳細講述了半橋LLC諧振型DC-DC變換器的三種不同的運行模式,並且詳細分析了fm<fs<fr開關頻率的運行模式,針對四個工作階段進行了詳細的闡述。下麵就跟小編一起去了解半橋諧振DC-DC變換器開關頻率的運行模式。
半橋LLC諧振型的DC-DC變換器在日常運行中擁有三個不同的運行模式,也因此能夠適應多種環境下的應用需求。由於此前我們曾經專項分析過fs=fr運行模式的工作過程和運行特點,因此今天本文將會重點針對fm<fs<fr運行模式進行簡要分析,幫助工程師了解其工作運行狀態和運行特點。
fm<fs<fr開關頻率運行簡析
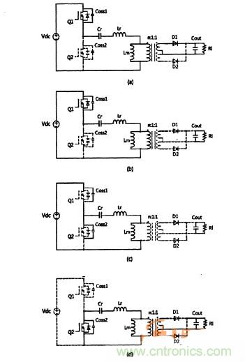
下麵分析LLC諧振DC-DC變換器開關頻率fm<fs<fr的工作原理,這是LLC最常用的工作區域,此時原邊開關管實現零電壓開通,副邊整流二極管實現零電流關斷,該工作區稱為Boost區,電路工作在過諧振狀態下的主要波形圖如圖1所示。圖2顯示的是fm<fs<fr的開關控製時序表,下圖中圖3顯示各個階段的主要工作波形和等效電路圖。

圖1fm<fs<fr時主要工作波形圖

圖2fm<fs<fr開關控製時序表

圖3fm<fs<fr時各階段的等效電路
工作階段1:t0-t1
在這一工作階段中,半橋LLC諧振轉換器的MOS管Q1和整流管D1是導通的,諧振電流ir則按正弦形式增加。激磁電感電流如按線性上升,兩者之差通過副邊整流後傳輸至負載端。變壓器原邊電壓被副邊箝位於nV0,此階段內隻有Lr和Cr參與諧振,Lm不參與諧振。
工作階段2:t1-t2
在這一工作階段中,半橋LLC諧振轉換器在t1時刻諧振電流ir等於激磁電流im,此後,激磁電感Lm開始參與與Lr、Cr諧振,因為諧振電流等於激磁電流,變壓器原副邊斷開,整流管Dl關斷(D2亦截止)。
工作階段3:t2-t3
在這一工作階段中,半橋LLC諧振轉換器的激磁電流im將其存儲的能量轉移到諧振電容Cr,在這種模式下,實現升壓(Boost)作用,此時直流電壓增益大於1。副邊整流二極管Dl零電流關斷,變壓器原副邊脫開,諧振網絡不向負載端傳遞能量。此時的Lm兩端電壓不再受箝位限製,Lm和Lr、Cr將一起參與諧振.在此階段內為下一階段的Q2的ZVS創造了條件。
工作階段4:t3-t4
在這一工作階段中,半橋LLC諧振轉換器在t3時刻以後Q1關斷,諧振電流ir流過MOS管Q2的體二極管,因此在t3時刻,MOS管Q2實現了零電壓開通。t4時刻以後,電路工作在下半個周期,其工作情況與上述四個個階段完全對稱,這裏也不再重述。
通過對半橋LLC諧振DC-DC變換器的fm<fs<fr開關頻率運行工作狀態分析,我們可以看到,當開關頻率fs小於fr的條件下,LLC原邊開關管工作在ZVS狀態,而副邊整流二極管工作在ZCS狀態,從而電路中的所有功率半導體器件都實現了軟開關:duiyuyuanbiankaiguanguanlaishuojianxiaolekaiguansunhao。duiyufubianzhengliuerjiguanlaishuojianxiaolefanxianghuifudailaidesunhao,cishidezhengliuerjiguanbucunzaidianyajianfeng,keyicaiyongnaiyazhigengdideerjiguan(導通壓降也會更低,成本降低,導通損耗就會更小)。
相關閱讀:
諧振型DC-DC變換器實現ZVS、ZCS 條件,要達到什麼條件?
對比分析:DC-DC變換器的硬開關MOS和IGBT損耗對比
經典集萃:淺析LLC半橋諧振型DC-DC變換器
特別推薦
- 噪聲中提取真值!瑞盟科技推出MSA2240電流檢測芯片賦能多元高端測量場景
- 10MHz高頻運行!氮矽科技發布集成驅動GaN芯片,助力電源能效再攀新高
- 失真度僅0.002%!力芯微推出超低內阻、超低失真4PST模擬開關
- 一“芯”雙電!聖邦微電子發布雙輸出電源芯片,簡化AFE與音頻設計
- 一機適配萬端:金升陽推出1200W可編程電源,賦能高端裝備製造
技術文章更多>>
- 三星上演罕見對峙:工會集會討薪,股東隔街抗議
- 摩爾線程實現DeepSeek-V4“Day-0”支持,國產GPU適配再提速
- 築牢安全防線:智能駕駛邁向規模化應用的關鍵挑戰與破局之道
- GPT-Image 2:99%文字準確率,AI生圖告別“鬼畫符”
- 機器人馬拉鬆的勝負手:藏在主板角落裏的“時鍾戰爭”
技術白皮書下載更多>>
- 車規與基於V2X的車輛協同主動避撞技術展望
- 數字隔離助力新能源汽車安全隔離的新挑戰
- 汽車模塊拋負載的解決方案
- 車用連接器的安全創新應用
- Melexis Actuators Business Unit
- Position / Current Sensors - Triaxis Hall
熱門搜索
NFC
NFC芯片
NOR
ntc熱敏電阻
OGS
OLED
OLED麵板
OmniVision
Omron
OnSemi
PI
PLC
Premier Farnell
Recom
RF
RF/微波IC
RFID
rfid
RF連接器
RF模塊
RS
Rubycon
SATA連接器
SD連接器
SII
SIM卡連接器
SMT設備
SMU
SOC
SPANSION

