蘋果將采用太陽能作為顯示背光的外部光源
發布時間:2010-03-30 來源:光電新聞網
新聞事件:
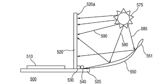
據蘋果本周申請的專利描述,蘋果將采用太陽作為顯示背光的外部光源,這有助於筆記本電腦的電池壽命和續航時間。
該專利被描述為“外部光照明的顯示屏”,文(wen)檔(dang)指(zhi)出(chu),液(ye)晶(jing)顯(xian)示(shi)器(qi)在(zai)戶(hu)外(wai)陽(yang)光(guang)直(zhi)射(she)的(de)環(huan)境(jing)下(xia)很(hen)難(nan)看(kan)到(dao)內(nei)容(rong),往(wang)往(wang)需(xu)要(yao)高(gao)功(gong)率(lv)組(zu)件(jian)才(cai)能(neng)顯(xian)示(shi),該(gai)技(ji)術(shu)解(jie)決(jue)了(le)這(zhe)樣(yang)一(yi)個(ge)問(wen)題(ti),成(cheng)功(gong)實(shi)現(xian)了(le)MacBook收集外部光線來照亮計算機屏幕。
蘋果采用了一塊反射麵板來為屏幕供應光線,並且該係統還支持內部LED燈和其它外部光源的自動補光。

- 蘋果將采用太陽作為顯示背光的外部光源
- 有助於筆記本電腦的電池壽命和續航時間
- 成功實現了MacBook收集外部光線來照亮計算機屏幕
據蘋果本周申請的專利描述,蘋果將采用太陽作為顯示背光的外部光源,這有助於筆記本電腦的電池壽命和續航時間。
該專利被描述為“外部光照明的顯示屏”,文(wen)檔(dang)指(zhi)出(chu),液(ye)晶(jing)顯(xian)示(shi)器(qi)在(zai)戶(hu)外(wai)陽(yang)光(guang)直(zhi)射(she)的(de)環(huan)境(jing)下(xia)很(hen)難(nan)看(kan)到(dao)內(nei)容(rong),往(wang)往(wang)需(xu)要(yao)高(gao)功(gong)率(lv)組(zu)件(jian)才(cai)能(neng)顯(xian)示(shi),該(gai)技(ji)術(shu)解(jie)決(jue)了(le)這(zhe)樣(yang)一(yi)個(ge)問(wen)題(ti),成(cheng)功(gong)實(shi)現(xian)了(le)MacBook收集外部光線來照亮計算機屏幕。
蘋果采用了一塊反射麵板來為屏幕供應光線,並且該係統還支持內部LED燈和其它外部光源的自動補光。


特別推薦
- 噪聲中提取真值!瑞盟科技推出MSA2240電流檢測芯片賦能多元高端測量場景
- 10MHz高頻運行!氮矽科技發布集成驅動GaN芯片,助力電源能效再攀新高
- 失真度僅0.002%!力芯微推出超低內阻、超低失真4PST模擬開關
- 一“芯”雙電!聖邦微電子發布雙輸出電源芯片,簡化AFE與音頻設計
- 一機適配萬端:金升陽推出1200W可編程電源,賦能高端裝備製造
技術文章更多>>
- 邊緣AI的發展為更智能、更可持續的技術鋪平道路
- 每台智能體PC,都是AI時代的新入口
- IAR作為Qt Group獨立BU攜兩項重磅汽車電子應用開發方案首秀北京車展
- 構建具有網絡彈性的嵌入式係統:來自行業領袖的洞見
- 數字化的線性穩壓器
技術白皮書下載更多>>
- 車規與基於V2X的車輛協同主動避撞技術展望
- 數字隔離助力新能源汽車安全隔離的新挑戰
- 汽車模塊拋負載的解決方案
- 車用連接器的安全創新應用
- Melexis Actuators Business Unit
- Position / Current Sensors - Triaxis Hall
熱門搜索
SATA連接器
SD連接器
SII
SIM卡連接器
SMT設備
SMU
SOC
SPANSION
SRAM
SSD
ST
ST-ERICSSON
Sunlord
SynQor
s端子線
Taiyo Yuden
TDK-EPC
TD-SCDMA功放
TD-SCDMA基帶
TE
Tektronix
Thunderbolt
TI
TOREX
TTI
TVS
UPS電源
USB3.0
USB 3.0主控芯片
USB傳輸速度



