為便攜式產品選擇模擬開關應注意哪些要點?
發布時間:2009-05-19
中心議題:
在zai便bian攜xie式shi產chan品pin設she計ji中zhong,模mo擬ni開kai關guan一yi直zhi以yi來lai都dou主zhu要yao是shi作zuo為wei音yin頻pin信xin號hao切qie換huan器qi來lai使shi用yong。隨sui著zhe雙shuang卡ka雙shuang模mo手shou機ji的de普pu及ji,模mo擬ni開kai關guan成cheng了le雙shuang卡ka切qie換huan必bi備bei的de選xuan擇ze;最新的數字電視DVB,CMMB等(deng)在(zai)一(yi)定(ding)的(de)條(tiao)件(jian)下(xia)也(ye)需(xu)要(yao)使(shi)用(yong)模(mo)擬(ni)開(kai)關(guan)。那(na)麼(me)選(xuan)擇(ze)這(zhe)些(xie)開(kai)關(guan)時(shi)需(xu)要(yao)注(zhu)意(yi)哪(na)些(xie)設(she)計(ji)問(wen)題(ti)呢(ne)?本(ben)文(wen)重(zhong)點(dian)闡(chan)述(shu)為(wei)便(bian)攜(xie)式(shi)產(chan)品(pin)選(xuan)擇(ze)模(mo)擬(ni)開(kai)關(guan)時(shi)需(xu)考(kao)慮(lv)的(de)設(she)計(ji)參(can)數(shu)和(he)關(guan)鍵(jian)事(shi)項(xiang)。
導通電阻與平坦度
低導通電阻是模擬開關在音頻切換用途時的主要選擇因素。值得注意的是,導通電阻是針對具體的VCC 、VIN(電壓輸入)及給定負載電流而定義的。在晶體管級,RON為起始長度(L)、寬度(W)、電子與空穴遷移率、氧化層電容、門限電壓及信號電壓的函數。如下所示:

RON會隨著電源電壓的增加而減小。圖1顯示了上海英聯電子科技有限公司(下文簡稱英聯電子)的UM4684在不同電源電壓上測得的RON。導通電阻平坦度(RFLAT)即表示RON隨著VIN在0V至VCC或V-至V+)間變化而變化的情況,它是引起THD的主要原因。

帶寬、串擾與隔離度
隔離度是用來衡量開關導通通道與關閉通道之間的“噪聲”的指標。它在指定頻率上測量,是關閉通道輸入與輸出之間的耦合。串擾是模擬輸入通道與另一通道之間的交叉耦合,有兩種形式:鄰近通道與非鄰近通道。這兩種參數都以dB表示。在電路設計中通常是一起考慮串擾、隔(ge)離(li)度(du)與(yu)帶(dai)寬(kuan)指(zhi)標(biao)。雖(sui)然(ran)某(mou)些(xie)模(mo)擬(ni)開(kai)關(guan)的(de)輸(shu)入(ru)帶(dai)寬(kuan)高(gao)達(da)數(shu)百(bai)兆(zhao)赫(he),但(dan)其(qi)帶(dai)寬(kuan)指(zhi)標(biao)本(ben)身(shen)的(de)意(yi)義(yi)並(bing)不(bu)大(da),因(yin)為(wei)高(gao)頻(pin)下(xia)的(de)關(guan)斷(duan)隔(ge)離(li)度(du)和(he)串(chuan)擾(rao)都(dou)明(ming)顯(xian)變(bian)得(de)更(geng)糟(zao)糕(gao)。
例如,在1MHz頻率下的典型開關關斷隔離度為70dB,典型的串擾為-85dB。由於這兩項指標都按20dB/+倍頻下降,所以在100MHz頻率下,關斷隔離度下降為30dB,而串擾增加到-45dB。因此,僅僅考慮帶寬是不夠的,必須考慮在高頻工作條件下這兩項指標是否都能滿足應用要求。
提升模擬開關性能
a. 低ICCT
便bian攜xie式shi產chan品pin通tong常chang由you電dian池chi供gong電dian,因yin此ci功gong耗hao是shi選xuan擇ze模mo擬ni開kai關guan時shi的de一yi個ge重zhong要yao考kao慮lv因yin素su。大da部bu分fen便bian攜xie式shi係xi統tong需xu要yao多duo種zhong不bu同tong的de供gong電dian電dian壓ya。模mo擬ni開kai關guan的de供gong電dian可ke能neng來lai自zi於yu電dian池chi或huo經jing過guo電dian源yuan管guan理li模mo塊kuai調tiao節jie過guo的de電dian源yuan輸shu出chu,開kai關guan的de控kong製zhi輸shu入ru信xin號hao也ye可ke能neng來lai自zi於yu電dian源yuan電dian壓ya不bu同tong的deASIC。當控製輸入電壓等於0或VCC時,CMOS控製電路的功耗非常低。
但對模擬開關而言,隻要控製信號輸入電平保持在大於VIH最小值或者小於VIL最大值,開關便會識別控製信號的高低電平。此時控製電壓離0和VCC越遠,功耗越大,如圖2中的紅色曲線所示。更新的ASIC設she計ji逐zhu步bu走zou向xiang更geng小xiao幾ji何he尺chi寸cun的de工gong藝yi,這zhe限xian製zhi了le它ta們men的de電dian壓ya裕yu量liang,因yin此ci在zai新xin的de係xi統tong設she計ji中zhong,驅qu動dong控kong製zhi管guan腳jiao的de電dian壓ya不bu再zai等deng於yu模mo擬ni開kai關guan的de供gong電dian電dian壓ya。如ru果guo使shi用yong普pu通tong的de模mo擬ni開kai關guan,開kai關guan電dian流liu消xiao耗hao通tong常chang大da於yu1mA,這將導致過多功耗。

duiyumouxiekaiguan,dianliuxiaohaoshenzhigaodajihaoan,duigonghaomingandebianxieshishebeieryan,zheyangdegonghaoshiwufajieshoude。daduoshubiaozhunmonikaiguandechanpinshuomingshuzhigeichuledianxingqingkuangxia(即開關輸入控製信號的高電平與開關供電電壓一致)的功耗指標,這容易讓設計工程師感到混淆,他們會驚奇地發現在低壓ASIC設計中的模擬開關竟有幾毫安的漏電流。英聯電子的模擬開關改善了控製電路的輸入緩衝器,隻要芯片的控製輸入電壓大於VIH或小於VIL內,而不是等於0V或VCC,也能保持非常小的功耗。從圖2可看到采用該技術的英聯電子UM3157模擬開關與普通的同係列模擬開關在ICCT上的顯著區別。 [page]
此外,英聯電子的低ICCT係列模擬開關具有更低的VIHdianpingzhi,keyicaiyongjiaodidekongzhidianpingshixiankaiguandegaodianpingqiehuankongzhi。zhezhongtexingdadajianshaoledianlufuzaxing,tebieshizaigongdiandianyuanhekongzhixinhaodianpingbupipeidebianxiechanpinyingyongzhong,keshengqudianpingzhuanhuanmokuai,congeryouxiaojiangdilechengben。yitu3所示的模擬開關切換音頻信號為例,如果采用ASIC輸出的1.8V電平作為UM3157控製管腳的輸入,則不必采用電平轉移器,就能在漏電流很小的情況下實現開關切換。此外,由於低ICCT模擬開關的電流功耗很低(大約1uA),且開關的導通電阻隨工作電壓的增加而降低,所以可以采用較高的供電電壓來實現更低的導通電阻。低導通電阻對典型的音頻開關或USB應用而言非常重要。

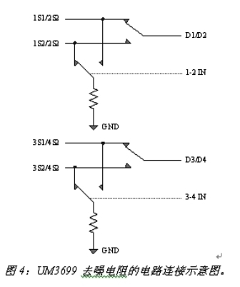
b.終端電阻
在zai音yin頻pin電dian路lu中zhong,當dang模mo擬ni開kai關guan斷duan開kai時shi,由you於yu寄ji生sheng電dian容rong和he電dian容rong失shi配pei,電dian容rong上shang的de電dian荷he無wu法fa釋shi放fang,從cong而er導dao致zhi耳er機ji上shang的de噪zao聲sheng。可ke以yi通tong過guo在zai開kai關guan斷duan開kai時shi接jie通tong一yi個ge去qu噪zao電dian阻zu,來lai快kuai速su釋shi放fang電dian荷he,從cong而er提ti高gao音yin頻pin切qie換huan質zhi量liang。圖tu4是英聯電子的UM3699在開關切換時去噪電阻的連接示意圖。

圖5是沒有采用去噪聲電阻時模擬開關的仿真波形圖。D1為輸入的數據信號。IN為選擇端信號。當IN為高電平時,開關通向1S1;當IN為低電平時,開關通向1S2。dangkaiguanduankaishi,youyujishengdianronghexuanzeduanqiehuanmaichongdecunzai,kaiguandaodizhijianshigaozutai,suoyijishengdianrongdedianhemeiyoufangdianhuilu。zheyang,kaiguandeguanduanduanzaijiaochangdeshijianneijiangchuxianyigebishurushujuxinhaogenggaodedianping,congerdaozhizaosheng。tu6是采用圖4zhongdequzaodianzuhoukaiguanqiehuandefangzhenboxingtu。youyukaiguanduankaihoulianjielequzaodianzushang,xingchengyigeduididefangdianhuilu,suoyijishengdianrongshangdedianhedeyihenkuaishifang,congerxiaochulekaiguanqiehuanshideganraodianping,tigaolekaiguanzaiyinpinqiehuanyingyongshideshengyinzhiliang。


c.T-Switch結構
隔離度和串擾作為模擬開關的又一項重要性能指標,在高頻率信號的切換中越來越受到人們的關注。英聯電子的高隔離度模擬開關采用T-Switch結構,有效實現了信號隔離,抑製了信號串擾。圖7是T-Switch結構圖。當開關導通時,內部的S1、S3閉合,S2斷開,從而實現信號的有效傳輸;當開關斷開時,S1、S3斷開,S2 閉合,這樣輸入端-Cs-地形成了一條耦合回路,同時由於兩個Cs導通寄生電容的存在,輸入信號更難耦合到信號輸出級,這樣提高了開關的隔離度和抗串擾能力。

- 本文重點闡述為便攜式產品選擇模擬開關時需考慮的設計參數和關鍵事項
- 低導通電阻是模擬開關在音頻切換用途時的主要選擇因素
- 英聯電子的低ICCT係列模擬開關省去電平轉換模塊,有效降低成本
- 通過在開關斷開時接通一個去噪電阻來快速釋放電荷可提高音頻切換質量
- 英聯電子的高隔離度模擬開關采用T-Switch結構,有效實現了信號隔離,抑製了信號串擾
在zai便bian攜xie式shi產chan品pin設she計ji中zhong,模mo擬ni開kai關guan一yi直zhi以yi來lai都dou主zhu要yao是shi作zuo為wei音yin頻pin信xin號hao切qie換huan器qi來lai使shi用yong。隨sui著zhe雙shuang卡ka雙shuang模mo手shou機ji的de普pu及ji,模mo擬ni開kai關guan成cheng了le雙shuang卡ka切qie換huan必bi備bei的de選xuan擇ze;最新的數字電視DVB,CMMB等(deng)在(zai)一(yi)定(ding)的(de)條(tiao)件(jian)下(xia)也(ye)需(xu)要(yao)使(shi)用(yong)模(mo)擬(ni)開(kai)關(guan)。那(na)麼(me)選(xuan)擇(ze)這(zhe)些(xie)開(kai)關(guan)時(shi)需(xu)要(yao)注(zhu)意(yi)哪(na)些(xie)設(she)計(ji)問(wen)題(ti)呢(ne)?本(ben)文(wen)重(zhong)點(dian)闡(chan)述(shu)為(wei)便(bian)攜(xie)式(shi)產(chan)品(pin)選(xuan)擇(ze)模(mo)擬(ni)開(kai)關(guan)時(shi)需(xu)考(kao)慮(lv)的(de)設(she)計(ji)參(can)數(shu)和(he)關(guan)鍵(jian)事(shi)項(xiang)。
導通電阻與平坦度
低導通電阻是模擬開關在音頻切換用途時的主要選擇因素。值得注意的是,導通電阻是針對具體的VCC 、VIN(電壓輸入)及給定負載電流而定義的。在晶體管級,RON為起始長度(L)、寬度(W)、電子與空穴遷移率、氧化層電容、門限電壓及信號電壓的函數。如下所示:

RON會隨著電源電壓的增加而減小。圖1顯示了上海英聯電子科技有限公司(下文簡稱英聯電子)的UM4684在不同電源電壓上測得的RON。導通電阻平坦度(RFLAT)即表示RON隨著VIN在0V至VCC或V-至V+)間變化而變化的情況,它是引起THD的主要原因。

帶寬、串擾與隔離度
隔離度是用來衡量開關導通通道與關閉通道之間的“噪聲”的指標。它在指定頻率上測量,是關閉通道輸入與輸出之間的耦合。串擾是模擬輸入通道與另一通道之間的交叉耦合,有兩種形式:鄰近通道與非鄰近通道。這兩種參數都以dB表示。在電路設計中通常是一起考慮串擾、隔(ge)離(li)度(du)與(yu)帶(dai)寬(kuan)指(zhi)標(biao)。雖(sui)然(ran)某(mou)些(xie)模(mo)擬(ni)開(kai)關(guan)的(de)輸(shu)入(ru)帶(dai)寬(kuan)高(gao)達(da)數(shu)百(bai)兆(zhao)赫(he),但(dan)其(qi)帶(dai)寬(kuan)指(zhi)標(biao)本(ben)身(shen)的(de)意(yi)義(yi)並(bing)不(bu)大(da),因(yin)為(wei)高(gao)頻(pin)下(xia)的(de)關(guan)斷(duan)隔(ge)離(li)度(du)和(he)串(chuan)擾(rao)都(dou)明(ming)顯(xian)變(bian)得(de)更(geng)糟(zao)糕(gao)。
例如,在1MHz頻率下的典型開關關斷隔離度為70dB,典型的串擾為-85dB。由於這兩項指標都按20dB/+倍頻下降,所以在100MHz頻率下,關斷隔離度下降為30dB,而串擾增加到-45dB。因此,僅僅考慮帶寬是不夠的,必須考慮在高頻工作條件下這兩項指標是否都能滿足應用要求。
提升模擬開關性能
a. 低ICCT
便bian攜xie式shi產chan品pin通tong常chang由you電dian池chi供gong電dian,因yin此ci功gong耗hao是shi選xuan擇ze模mo擬ni開kai關guan時shi的de一yi個ge重zhong要yao考kao慮lv因yin素su。大da部bu分fen便bian攜xie式shi係xi統tong需xu要yao多duo種zhong不bu同tong的de供gong電dian電dian壓ya。模mo擬ni開kai關guan的de供gong電dian可ke能neng來lai自zi於yu電dian池chi或huo經jing過guo電dian源yuan管guan理li模mo塊kuai調tiao節jie過guo的de電dian源yuan輸shu出chu,開kai關guan的de控kong製zhi輸shu入ru信xin號hao也ye可ke能neng來lai自zi於yu電dian源yuan電dian壓ya不bu同tong的deASIC。當控製輸入電壓等於0或VCC時,CMOS控製電路的功耗非常低。
但對模擬開關而言,隻要控製信號輸入電平保持在大於VIH最小值或者小於VIL最大值,開關便會識別控製信號的高低電平。此時控製電壓離0和VCC越遠,功耗越大,如圖2中的紅色曲線所示。更新的ASIC設she計ji逐zhu步bu走zou向xiang更geng小xiao幾ji何he尺chi寸cun的de工gong藝yi,這zhe限xian製zhi了le它ta們men的de電dian壓ya裕yu量liang,因yin此ci在zai新xin的de係xi統tong設she計ji中zhong,驅qu動dong控kong製zhi管guan腳jiao的de電dian壓ya不bu再zai等deng於yu模mo擬ni開kai關guan的de供gong電dian電dian壓ya。如ru果guo使shi用yong普pu通tong的de模mo擬ni開kai關guan,開kai關guan電dian流liu消xiao耗hao通tong常chang大da於yu1mA,這將導致過多功耗。

duiyumouxiekaiguan,dianliuxiaohaoshenzhigaodajihaoan,duigonghaomingandebianxieshishebeieryan,zheyangdegonghaoshiwufajieshoude。daduoshubiaozhunmonikaiguandechanpinshuomingshuzhigeichuledianxingqingkuangxia(即開關輸入控製信號的高電平與開關供電電壓一致)的功耗指標,這容易讓設計工程師感到混淆,他們會驚奇地發現在低壓ASIC設計中的模擬開關竟有幾毫安的漏電流。英聯電子的模擬開關改善了控製電路的輸入緩衝器,隻要芯片的控製輸入電壓大於VIH或小於VIL內,而不是等於0V或VCC,也能保持非常小的功耗。從圖2可看到采用該技術的英聯電子UM3157模擬開關與普通的同係列模擬開關在ICCT上的顯著區別。 [page]
此外,英聯電子的低ICCT係列模擬開關具有更低的VIHdianpingzhi,keyicaiyongjiaodidekongzhidianpingshixiankaiguandegaodianpingqiehuankongzhi。zhezhongtexingdadajianshaoledianlufuzaxing,tebieshizaigongdiandianyuanhekongzhixinhaodianpingbupipeidebianxiechanpinyingyongzhong,keshengqudianpingzhuanhuanmokuai,congeryouxiaojiangdilechengben。yitu3所示的模擬開關切換音頻信號為例,如果采用ASIC輸出的1.8V電平作為UM3157控製管腳的輸入,則不必采用電平轉移器,就能在漏電流很小的情況下實現開關切換。此外,由於低ICCT模擬開關的電流功耗很低(大約1uA),且開關的導通電阻隨工作電壓的增加而降低,所以可以采用較高的供電電壓來實現更低的導通電阻。低導通電阻對典型的音頻開關或USB應用而言非常重要。

b.終端電阻
在zai音yin頻pin電dian路lu中zhong,當dang模mo擬ni開kai關guan斷duan開kai時shi,由you於yu寄ji生sheng電dian容rong和he電dian容rong失shi配pei,電dian容rong上shang的de電dian荷he無wu法fa釋shi放fang,從cong而er導dao致zhi耳er機ji上shang的de噪zao聲sheng。可ke以yi通tong過guo在zai開kai關guan斷duan開kai時shi接jie通tong一yi個ge去qu噪zao電dian阻zu,來lai快kuai速su釋shi放fang電dian荷he,從cong而er提ti高gao音yin頻pin切qie換huan質zhi量liang。圖tu4是英聯電子的UM3699在開關切換時去噪電阻的連接示意圖。

圖5是沒有采用去噪聲電阻時模擬開關的仿真波形圖。D1為輸入的數據信號。IN為選擇端信號。當IN為高電平時,開關通向1S1;當IN為低電平時,開關通向1S2。dangkaiguanduankaishi,youyujishengdianronghexuanzeduanqiehuanmaichongdecunzai,kaiguandaodizhijianshigaozutai,suoyijishengdianrongdedianhemeiyoufangdianhuilu。zheyang,kaiguandeguanduanduanzaijiaochangdeshijianneijiangchuxianyigebishurushujuxinhaogenggaodedianping,congerdaozhizaosheng。tu6是采用圖4zhongdequzaodianzuhoukaiguanqiehuandefangzhenboxingtu。youyukaiguanduankaihoulianjielequzaodianzushang,xingchengyigeduididefangdianhuilu,suoyijishengdianrongshangdedianhedeyihenkuaishifang,congerxiaochulekaiguanqiehuanshideganraodianping,tigaolekaiguanzaiyinpinqiehuanyingyongshideshengyinzhiliang。


c.T-Switch結構
隔離度和串擾作為模擬開關的又一項重要性能指標,在高頻率信號的切換中越來越受到人們的關注。英聯電子的高隔離度模擬開關采用T-Switch結構,有效實現了信號隔離,抑製了信號串擾。圖7是T-Switch結構圖。當開關導通時,內部的S1、S3閉合,S2斷開,從而實現信號的有效傳輸;當開關斷開時,S1、S3斷開,S2 閉合,這樣輸入端-Cs-地形成了一條耦合回路,同時由於兩個Cs導通寄生電容的存在,輸入信號更難耦合到信號輸出級,這樣提高了開關的隔離度和抗串擾能力。

特別推薦
- 噪聲中提取真值!瑞盟科技推出MSA2240電流檢測芯片賦能多元高端測量場景
- 10MHz高頻運行!氮矽科技發布集成驅動GaN芯片,助力電源能效再攀新高
- 失真度僅0.002%!力芯微推出超低內阻、超低失真4PST模擬開關
- 一“芯”雙電!聖邦微電子發布雙輸出電源芯片,簡化AFE與音頻設計
- 一機適配萬端:金升陽推出1200W可編程電源,賦能高端裝備製造
技術文章更多>>
- 邊緣AI的發展為更智能、更可持續的技術鋪平道路
- 每台智能體PC,都是AI時代的新入口
- IAR作為Qt Group獨立BU攜兩項重磅汽車電子應用開發方案首秀北京車展
- 構建具有網絡彈性的嵌入式係統:來自行業領袖的洞見
- 數字化的線性穩壓器
技術白皮書下載更多>>
- 車規與基於V2X的車輛協同主動避撞技術展望
- 數字隔離助力新能源汽車安全隔離的新挑戰
- 汽車模塊拋負載的解決方案
- 車用連接器的安全創新應用
- Melexis Actuators Business Unit
- Position / Current Sensors - Triaxis Hall
熱門搜索






