雙向可控矽的設計及應用分析
發布時間:2009-01-08
中心議題:
- 雙向可控矽特點
- 雙向可控矽應用
- 雙向可控矽的安裝
解決方案:
- 雙向可控矽門極加正、負觸發脈衝都能使管子觸發導通,有四種觸發方式
- 應用:需定量掌握其主要參數,對其進行適當選用並采取相應措施以達到各參數的要求
- 雙向可控矽安裝方法有夾子壓接和螺栓固定兩種
引言
1958年,從美國通用電氣公司研製成功第一個工業用可控矽開始,電能的變換和控製從旋轉的變流機組、靜止的離子變流器進入以電力半導體器件組成的變流器時代。可控矽分單向可控矽與雙向可控矽。單向可控矽一般用於彩電的過流、過壓保護電路。雙向可控矽一般用於交流調節電路,如調光台燈及全自動洗衣機中的交流電源控製。
shuangxiangkekongguishizaiputongkekongguidejichushangfazhanerchengde,tabujinnengdaitiliangzhifanjixingbingliandekekonggui,erqiejinxuyigechufadianlu,shimuqianbijiaolixiangdejiaoliukaiguanqijian,yizhiweijiadianxingyezhongzhuyaodegonglvkongzhiqijian。jinjinian,suizhebandaotijishudefazhan,dagonglvshuangxiangkekongguibuduanyongxian,bingguangfanyingyongzaibianliu、變頻領域,可控矽應用技術日益成熟。本文主要探討廣泛應用於家電行業的雙向可控矽的設計及應用。
雙向可控矽特點
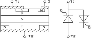
雙向可控矽可被認為是一對反並聯連接的普通可控矽的集成,工作原理與普通單向可控矽相同。圖1為雙向可控矽的基本結構及其等效電路,它有兩個主電極T1和T2,一個門極G,門極使器件在主電極的正反兩個方向均可觸發導通,所以雙向可控矽在第1和第3象限有對稱的伏安特性。雙向可控矽門極加正、負觸發脈衝都能使管子觸發導通,因此有四種觸發方式。

圖1 雙向可控矽結構及等效電路
雙向可控矽應用
為正常使用雙向可控矽,需定量掌握其主要參數,對雙向可控矽進行適當選用並采取相應措施以達到各參數的要求。
耐壓級別的選擇:通常把VDRM(斷態重複峰值電壓)和VRRM(反向重複峰值電壓)中較小的值標作該器件的額定電壓。選用時,額定電壓應為正常工作峰值電壓的2~3倍,作為允許的操作過電壓裕量。
電流的確定:由(you)於(yu)雙(shuang)向(xiang)可(ke)控(kong)矽(gui)通(tong)常(chang)用(yong)在(zai)交(jiao)流(liu)電(dian)路(lu)中(zhong),因(yin)此(ci)不(bu)用(yong)平(ping)均(jun)值(zhi)而(er)用(yong)有(you)效(xiao)值(zhi)來(lai)表(biao)示(shi)它(ta)的(de)額(e)定(ding)電(dian)流(liu)值(zhi)。由(you)於(yu)可(ke)控(kong)矽(gui)的(de)過(guo)載(zai)能(neng)力(li)比(bi)一(yi)般(ban)電(dian)磁(ci)器(qi)件(jian)小(xiao),因(yin)而(er)一(yi)般(ban)家(jia)電(dian)中(zhong)選(xuan)用(yong)可(ke)控(kong)矽(gui)的(de)電(dian)流(liu)值(zhi)為(wei)實(shi)際(ji)工(gong)作(zuo)電(dian)流(liu)值(zhi)的(de)2~3倍。同時,可控矽承受斷態重複峰值電壓VDRM和反向重複峰值電壓VRRM時的峰值電流應小於器件規定的IDRM和IRRM。
通態(峰值)電壓VTM的選擇:它是可控矽通以規定倍數額定電流時的瞬態峰值壓降。為減少可控矽的熱損耗,應盡可能選擇VTM小的可控矽。
維持電流:IH是維持可控矽維持通態所必需的最小主電流,它與結溫有關,結溫越高,則IH越小。
電壓上升率的抵製:dv/dtzhideshizaiguanduanzhuangtaixiadianyadeshangshengxielv,zheshifangzhiwuchufadeyigeguanjiancanshu。cizhichaoxianjiangkenengdaozhikekongguichuxianwudaotongdexianxiang。youyukekongguidezhizaogongyijuedingleA2與G之間會存在寄生電容,如圖2所示。我們知道dv/dt的變化在電容的兩端會出現等效電流,這個電流就會成為Ig,也就是出現了觸發電流,導致誤觸發。

圖2 雙向可控矽等效示意圖
切換電壓上升率dVCOM/dt。驅qu動dong高gao電dian抗kang性xing的de負fu載zai時shi,負fu載zai電dian壓ya和he電dian流liu的de波bo形xing間jian通tong常chang發fa生sheng實shi質zhi性xing的de相xiang位wei移yi動dong。當dang負fu載zai電dian流liu過guo零ling時shi雙shuang向xiang可ke控kong矽gui發fa生sheng切qie換huan,由you於yu相xiang位wei差cha電dian壓ya並bing不bu為wei零ling。這zhe時shi雙shuang向xiang可ke控kong矽gui須xu立li即ji阻zu斷duan該gai電dian壓ya。產chan生sheng的de切qie換huan電dian壓ya上shang升sheng率lv(dVCOM/dt)若超過允許值,會迫使雙向可控矽回複導通狀態,因為載流子沒有充分的時間自結上撤出,如圖3所示。

圖3 切換時的電流及電壓變化
高dVCOM/dt承受能力受二個條件影響:
dICOM/dt—切換時負載電流下降率。dICOM/dt高,則dVCOM/dt承受能力下降。
結麵溫度Tj越高,dVCOM/dt承受能力越下降。假如雙向可控矽的dVCOM/dt的允許值有可能被超過,為避免發生假觸發,可在T1 和T2 間裝置RC緩衝電路,以此限製電壓上升率。通常選用47~100Ω的能承受浪湧電流的碳膜電阻,0.01μF~0.47μF的電容,晶閘管關斷過程中主電流過零反向後迅速由反向峰值恢複至零電流,此過程可在元件兩端產生達正常工作峰值電壓5-6倍的尖峰電壓。一般建議在盡可能靠近元件本身的地方接上阻容吸收回路。
斷開狀態下電壓變化率dvD/dt。若截止的雙向可控矽上(或門極靈敏的閘流管)作用很高的電壓變化率,盡管不超過VDRM,電容性內部電流能產生足夠大的門極電流,並觸發器件導通。門極靈敏度隨溫度而升高。假如發生這樣的問題,T1 和T2 間(或陽極和陰極間)應該加上RC 緩衝電路,以限製dvD/dt。
電流上升率的抑製:電流上升率的影響主要表現在以下兩個方麵:
①dIT/dt(導通時的電流上升率)—當(dang)雙(shuang)向(xiang)可(ke)控(kong)矽(gui)或(huo)閘(zha)流(liu)管(guan)在(zai)門(men)極(ji)電(dian)流(liu)觸(chu)發(fa)下(xia)導(dao)通(tong),門(men)極(ji)臨(lin)近(jin)處(chu)立(li)即(ji)導(dao)通(tong),然(ran)後(hou)迅(xun)速(su)擴(kuo)展(zhan)至(zhi)整(zheng)個(ge)有(you)效(xiao)麵(mian)積(ji)。這(zhe)遲(chi)後(hou)的(de)時(shi)間(jian)有(you)一(yi)個(ge)極(ji)限(xian),即(ji)負(fu)載(zai)電(dian)流(liu)上(shang)升(sheng)率(lv)的(de)許(xu)可(ke)值(zhi)。過(guo)高(gao)的(de)dIT/dt可能導致局部燒毀,並使T1-T2 短路。假如過程中限製dIT/dt到一較低的值,雙向可控矽可能可以幸存。因此,假如雙向可控矽的VDRM在嚴重的、異常的電源瞬間過程中有可能被超出或導通時的dIT/dt有可能被超出,可在負載上串聯一個幾μH的不飽和(空心)電感。
②dICOM/dt (切換電流變化率) —導致高dICOM/dt值的因素是:高負載電流、高電網頻率(假設正弦波電流)或者非正弦波負載電流,它們引起的切換電流變化率超出最大的允許值,使雙向可控矽甚至不能支持50Hz 波形由零上升時不大的dV/dt,加入一幾mH的電感和負載串聯,可以限製dICOM/dt。
·為了解決高dv/dt及di/dt引起的問題,還可以使用Hi-Com 雙向可控矽,它和傳統的雙向可控矽的內部結構有差別。差別之一是內部的二個“閘流管”分隔得更好,減少了互相的影響。這帶來下列好處:
①高dVCOM/dt。能控製電抗性負載,在很多場合下不需要緩衝電路,保證無故障切換。這降低了元器件數量、底板尺寸和成本,還免去了緩衝電路的功率耗散。
②高dICOM/dt。切換高頻電流或非正弦波電流的性能大為改善,而不需要在負載上串聯電感,以限製dICOM/dt。
③高dvD/dt(斷開狀態下電壓變化率)。雙向可控矽在高溫下更為靈敏。高溫下,處於截止狀態時,容易因高dV/dt下的假觸發而導通。Hi-Com雙向可控矽減少了這種傾向。從而可以用在高溫電器,控製電阻性負載,例如廚房和取暖電器,而傳統的雙向可控矽則不能用。
[page]
門極參數的選用:
門極觸發電流—為了使可控矽可靠觸發,觸發電流Igt選擇25度時max值的α倍,α為門極觸發電流—結溫特性係數,查數據手冊可得,取特性曲線中最低工作溫度時的係數。若對器件工作環境溫度無特殊需要,通常α取大於1.5倍即可。
門極壓降—可以選擇Vgt 25度時max值的β倍。β為門極觸發電壓—結溫特性係數,查數據手冊可得,取特性曲線中最低工作溫度時的係數。若對器件工作環境溫度無特殊需要,通常β取1~1.2倍即可。
觸發電阻—Rg=(Vcc-Vgt)/Igt
觸發脈衝寬度—為了導通閘流管(或雙向可控矽),除了要門極電流≧IGT ,還要使負載電流達到≧IL(擎住電流),並按可能遇到的最低溫度考慮。因此,可取25度下可靠觸發可控矽的脈衝寬度Tgw的2倍以上。
在電子噪聲充斥的環境中,若幹擾電壓超過觸發電壓VGT,並bing有you足zu夠gou的de門men極ji電dian流liu,就jiu會hui發fa生sheng假jia觸chu發fa,導dao致zhi雙shuang向xiang可ke控kong矽gui切qie換huan。第di一yi條tiao防fang線xian是shi降jiang低di臨lin近jin空kong間jian的de雜za波bo。門men極ji接jie線xian越yue短duan越yue好hao,並bing確que保bao門men極ji驅qu動dong電dian路lu的de共gong用yong返fan回hui線xian直zhi接jie連lian接jie到daoTI 管腳(對閘流管是陰極)。若(ruo)門(men)極(ji)接(jie)線(xian)是(shi)硬(ying)線(xian),可(ke)采(cai)用(yong)螺(luo)旋(xuan)雙(shuang)線(xian),或(huo)幹(gan)脆(cui)用(yong)屏(ping)蔽(bi)線(xian),這(zhe)些(xie)必(bi)要(yao)的(de)措(cuo)施(shi)都(dou)是(shi)為(wei)了(le)降(jiang)低(di)雜(za)波(bo)的(de)吸(xi)收(shou)。為(wei)增(zeng)加(jia)對(dui)電(dian)子(zi)噪(zao)聲(sheng)的(de)抵(di)抗(kang)力(li),可(ke)在(zai)門(men)極(ji)和(he)T1 之間串入1kΩ或huo更geng小xiao的de電dian阻zu,以yi此ci降jiang低di門men極ji的de靈ling敏min度du。假jia如ru已yi采cai用yong高gao頻pin旁pang路lu電dian容rong,建jian議yi在zai該gai電dian容rong和he門men極ji間jian加jia入ru電dian阻zu,以yi降jiang低di通tong過guo門men極ji的de電dian容rong電dian流liu的de峰feng值zhi,減jian少shao雙shuang向xiang可ke控kong矽gui門men極ji區qu域yu為wei過guo電dian流liu燒shao毀hui的de可ke能neng。
結溫Tj的控製:為了長期可靠工作,應保證Rth j-a 足夠低,維持Tj不高於80%Tjmax ,其值相應於可能的最高環境溫度。
雙向可控矽的安裝
對負載小,或電流持續時間短(小於1 秒鍾)的de雙shuang向xiang可ke控kong矽gui,可ke在zai自zi由you空kong間jian工gong作zuo。但dan大da部bu分fen情qing況kuang下xia,需xu要yao安an裝zhuang在zai散san熱re器qi或huo散san熱re的de支zhi架jia上shang,為wei了le減jian小xiao熱re阻zu,可ke控kong矽gui與yu散san熱re器qi間jian要yao塗tu上shang導dao熱re矽gui脂zhi。
雙向可控矽固定到散熱器的主要方法有三種,夾子壓接、螺栓固定和鉚接。前二種方法的安裝工具很容易取得。很多場合下,鉚接不是一種推薦的方法,本文不做介紹。
夾子壓接
這是推薦的方法,熱阻最小。夾子對器件的塑封施加壓力。這同樣適用於非絕緣封裝(SOT82 和SOT78 ) 和絕緣封裝( SOT186 F-pack 和更新的SOT186A X-pack)。注意,SOT78 就是TO220AB。
螺栓固定
SOT78 組件帶有M3 成套安裝零件,包括矩形墊圈,墊圈放在螺栓頭和接頭片之間。應該不對器件的塑料體施加任何力量。
安裝過程中,螺絲刀決不能對器件塑料體施加任何力量。
和接頭片接觸的散熱器表麵應處理,保證平坦,10mm上允許偏差0.02mm。
安裝力矩(帶墊圈)應在0.55Nm 和0.8Nm 之間。
yingbimianshiyongzigongsiluoding,yinweijiyakenengdaozhianzhuangkongzhouweidelongqi,yingxiangqijianhesanreqizhijianderejiechu。anzhuanglijuwufakongzhi,yeshizhezhonganzhuangfangfadequedian。
器件應首先機械固定,然後焊接引線。這可減少引線的不適當應力。
結語
在可控矽設計中,選用合適的參數以及與之相對應的軟硬件設計,用可控矽構成的變流裝置具有節約能源、成本低廉等特點,目前在工業中得到飛速的發展。
參考文獻:
[1] 傅永濤. 可控矽控製電路的設計保護[J]. 中國高新技術企業:46-56
[2] 陳振春. 雙向可控矽在電動機控製電路中的應用[J]. 南昌工程學院學報,2005,24(2):73-76
[3] 芮長穎. 可控矽觸發電路的設計[J]. 巢湖學院學報,2007,9(3):79-82
[4] 黃俊,王兆安編. 電力電子變流技術(第3版)[M]. 北京:機械工業出版社,2005
[5] 瑞薩科技公司. 矽可控開關元件與三端雙向可控矽開關元件(Rev.1). 2004
[6] Nick Ham. 閘流管和雙向可控矽-成功應用的十條黃金規則. 2002
- 噪聲中提取真值!瑞盟科技推出MSA2240電流檢測芯片賦能多元高端測量場景
- 10MHz高頻運行!氮矽科技發布集成驅動GaN芯片,助力電源能效再攀新高
- 失真度僅0.002%!力芯微推出超低內阻、超低失真4PST模擬開關
- 一“芯”雙電!聖邦微電子發布雙輸出電源芯片,簡化AFE與音頻設計
- 一機適配萬端:金升陽推出1200W可編程電源,賦能高端裝備製造
- 大聯大世平集團首度亮相北京國際汽車展 攜手全球芯片夥伴打造智能車整合應用新典範
- 2026北京車展即將啟幕,高通攜手汽車生態“朋友圈”推動智能化體驗再升級
- 邊緣重構智慧城市:FPGA SoM 如何破解視頻係統 “重而慢”
- 如何使用工業級串行數字輸入來設計具有並行接口的數字輸入模塊
- 意法半導體將舉辦投資者會議探討低地球軌道(LEO)發展機遇
- 車規與基於V2X的車輛協同主動避撞技術展望
- 數字隔離助力新能源汽車安全隔離的新挑戰
- 汽車模塊拋負載的解決方案
- 車用連接器的安全創新應用
- Melexis Actuators Business Unit
- Position / Current Sensors - Triaxis Hall




