為振動馬達應用設計驅動電路
發布時間:2008-11-02
中心論題:
- 振動馬達有著廣泛的應用,多數分為直流有刷或無刷電機,有扁平和圓柱兩種基本的結構
- 介紹無刷直流扁平振動馬達的基本構造
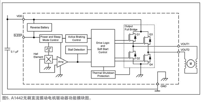
- A1442 BLDC馬達驅動電路集成了主動製動、睡眠模式、防空轉,反向電池保護等功能,是驅動馬達唯一必須的的IC
解決方案:
- 利用數字換向與線性軟開關避免電火花,從而避免寬帶射頻幹擾(RFI)幹擾
- 利用旁路電容降低在開關電源的電感負載時產生的瞬時電壓峰值
- 利用A1442 BLDC馬達驅動電路實現主動製動、睡眠模式、防空轉,反向電池保護等功能
振動馬達用於各種應用中,包括手機、遊戲操縱杆、手持遊戲機、尋呼機、牙刷及剔須刀等。最令人感興趣的是手機市場,該市場的全球手機出貨量在2007年已經超過10億部。手機市場推動著微型振動馬達設計與製造技術方麵的創新。較小的手機要求馬達占用較少的PCB麵積,並需要馬達采用較薄的設計。手機中還采用了進行來電顯示振鈴及遊戲應用的馬達。
多數振動馬達由一個較小的電動馬達驅動一個偏心配重,如圖1所示。馬達分為直流有刷或無刷電機,有兩種基本的結構:硬幣狀(扁平)與圓柱形(條狀)。

柱型馬達是采用傳統軸向設計的簡單有刷電機,如圖2所示。用於多種應用中,但由於體積較大,不適合在手機中應用。柱型馬達在手機中需要較大的空間,直徑是所有振動馬達中最大的。

在電刷切換馬達線圈的電流時,所有的有刷電機在換向點會產生電火花。這些電火花是寬帶射頻幹擾(RFI)的最佳發射源。電刷會發生磨損,這是馬達故障的最主要原因。
更小、更薄的設計需求促成了將有刷電機技術用於扁平振動馬達中,如圖3所suo示shi。與yu電dian刷shua接jie觸chu的de換huan向xiang點dian對dui轉zhuan子zi中zhong的de電dian動dong線xian圈quan進jin行xing激ji勵li。激ji勵li線xian圈quan時shi會hui產chan生sheng一yi個ge磁ci場chang,該gai磁ci場chang可ke與yu集ji成cheng在zai定ding子zi中zhong的de環huan形xing磁ci鐵tie作zuo用yong,產chan生sheng旋xuan轉zhuan。
如圖3suoshi,huanxiangdianyijiaobiandejixingduipailie,dangzhuanziyundongshi,xianquanzaitongguohuanxiangdianshibuduandigaibianjixing。madaruciyiyusuoshijiadianyachengzhengbilidesuduchixudixuanzhuan。bianpingzhendongmadazhonggengfuzadedianshuayibanbizhuxingmadadianshuadekekaoxingchayixie。

無刷振動電機
如前所述,無刷電機具有較長的壽命,並由於產生的電火花較少,也沒有了RFI幹擾。無刷直流(BLDC)設計還提供業內直徑最小、厚度最薄的扁平振動馬達。圖4介紹了這種馬達的基本構造。
在這種設計中,轉子組件中包含了磁鐵和在旋轉時產生振動的配重。較大的線圈移到了定子內,在定子中連接到控製IC。
數字換向與線性軟開關避免了電火花,從而也避免了RFI幹擾。Allegro完全集成的A1442霍爾效應傳感器與精密放大器通過比較器電路連接到一個內部全橋輸出電路,該比較器可確定適當的換向點。圖4中馬達的第三條線是可選的,它連接到A1442的啟用針腳(enable pin),用作控製主動製動與睡眠功能。第三線可將IC針腳連接到PCB的VCC。

A1442是驅動馬達唯一必須的的IC。圖5所示的功能模塊圖說明了設備運行和先進的特性。注意圖4和圖5中,采用集成的霍爾傳感器免除了外部霍爾傳感器,從而減少了馬達PCB元件數量。唯一所需的外部元件是一種標準電路特性——位於應用馬達安裝PCB上的0.1µF的旁路電容,它用於降低在開關電源的電感負載時產生的瞬時電壓峰值。

軟開關與換向
當設備加電時,它可檢測到磁場並激活電橋。活動的晶體管根據磁極來設定。南極磁場激活輸出晶體管Q1與Q4,驅動電流從VOUT1流行VOUT2。當北極磁場出現接近時(旋轉),Q1與Q4關閉,而Q2和Q3導通。該驅動電流從VOUT2流向VOUT1,從而逆轉了經過線圈的電流方向。
馬達的設計會有所變化,但其最大的轉速範圍從9,000rpm到15,000rpm。多數的設計采用四極的轉子磁鐵,有些少數的設計采用六極磁鐵。使用這些參數,使用下麵的等式可輕鬆地計算出換向開關頻率(fCS , Hz):
fCS = RPM × PP/60,
其中PP為磁極對的數量。對於轉速為9,000rpm的四極磁鐵,fCS為300Hz。對於轉速為9,000rpm的四極磁鐵,fCS為750Hz。因yin此ci,換huan向xiang信xin號hao與yu線xian圈quan電dian流liu開kai關guan事shi件jian均jun在zai在zai音yin頻pin範fan圍wei內nei。軟ruan開kai關guan驅qu動dong算suan法fa為wei通tong過guo逐zhu漸jian降jiang低di線xian圈quan中zhong的de電dian流liu然ran後hou反fan轉zhuan其qi方fang向xiang,可ke減jian少shao由you開kai關guan感gan應ying馬ma達da線xian圈quan負fu載zai所suo產chan生sheng的de音yin頻pin噪zao音yin及jiEMI。圖6中的時序圖說明了開關活動的過程。

主動製動、睡眠模式、防空轉
A1442 BLDC馬達驅動電路集成了主動製動功能,可用於快速停止或啟動循環。當手機處於睡眠模式時,快速停止或啟動循環在手機振鈴、來電顯示中十分有用,也用於遊戲應用中。製動功能可用睡眠針腳激活,如圖5所示。
在一個低信號施加到睡眠針腳時,馬達會啟動主動製動功能:反fan轉zhuan輸shu出chu橋qiao的de極ji性xing,從cong而er反fan轉zhuan電dian流liu方fang向xiang。反fan轉zhuan電dian流liu方fang向xiang而er使shi磁ci場chang反fan轉zhuan的de效xiao果guo,是shi為wei了le施shi加jia一yi個ge以yi反fan方fang向xiang旋xuan轉zhuan馬ma達da的de力li,這zhe樣yang可ke迅xun速su地di降jiang低di其qi速su度du。製zhi動dong後hou,馬ma達da驅qu動dong電dian路lu關guan閉bi活huo動dong電dian路luIC,而進入睡眠模式。
在睡眠模式下,IC的電流消耗通常小於1µA。睡眠模式可免除客戶PCB上的FET晶體管,不然必須要有這種晶體管來關閉或開啟馬達的電源。這樣,電機就可永久地連接到電池上。
如ru果guo電dian機ji停ting止zhi,驅qu動dong電dian路lu會hui發fa起qi一yi個ge防fang空kong轉zhuan算suan法fa。當dang電dian機ji出chu現xian停ting止zhi時shi,輸shu出chu會hui不bu斷duan地di開kai啟qi與yu關guan閉bi來lai重zhong啟qi馬ma達da。開kai關guan循xun環huan生sheng成cheng力li矩ju循xun環huan來lai抖dou動dong電dian機ji以yi增zeng加jia啟qi動dong的de機ji會hui。它ta還hai預yu防fang能neng損sun壞huai馬ma達da線xian圈quan的de連lian續xu停ting止zhi電dian流liu。
A1442中集成了反向電池保護功能,以防止馬達線錯誤地反焊到PCB上,這樣也便於重新加工。如果設備關閉時線圈的輸出意外地短路,馬達驅動電路的熱關閉保護功能會在IC預熱時禁用輸出。反向電池保與熱關閉對組裝車間及在OEM電路板裝配線上返工是非常強大的功能。
隨著超薄設計的出現,振動馬達的厚度成為一個重要的賣點。現在馬達厚度接近1.5mm甚至更薄,利用EW封裝–MLP(DFN)的最大總封裝高度0.4mm,長度與寬度僅為1.5mm×2mm,可實現更大的設計靈活性。
- 噪聲中提取真值!瑞盟科技推出MSA2240電流檢測芯片賦能多元高端測量場景
- 10MHz高頻運行!氮矽科技發布集成驅動GaN芯片,助力電源能效再攀新高
- 失真度僅0.002%!力芯微推出超低內阻、超低失真4PST模擬開關
- 一“芯”雙電!聖邦微電子發布雙輸出電源芯片,簡化AFE與音頻設計
- 一機適配萬端:金升陽推出1200W可編程電源,賦能高端裝備製造
- 算力爆發遇上電源革新,大聯大世平集團攜手晶豐明源線上研討會解鎖應用落地
- 築基AI4S:摩爾線程全功能GPU加速中國生命科學自主生態
- 一秒檢測,成本降至萬分之一,光引科技把幾十萬的台式光譜儀“搬”到了手腕上
- AI服務器電源機櫃Power Rack HVDC MW級測試方案
- 突破工藝邊界,奎芯科技LPDDR5X IP矽驗證通過,速率達9600Mbps
- 車規與基於V2X的車輛協同主動避撞技術展望
- 數字隔離助力新能源汽車安全隔離的新挑戰
- 汽車模塊拋負載的解決方案
- 車用連接器的安全創新應用
- Melexis Actuators Business Unit
- Position / Current Sensors - Triaxis Hall



