EMI濾波器設計原理
發布時間:2008-09-24 來源:河北科技大學電子信息工程係(050054)
中心論題:
- EMI濾波器的構造原理、基本電路及典型應用
- EMI濾波器在開關電源中的應用
- EMI濾波器的主要技術參數及測量插入損耗的方法
解決方案:
- 采用兩級濾波,抑製串模、共模幹擾
- 單片開關電源采用簡易式單級EMI濾波器
- 逐點測出插入損耗,繪出插入損耗曲線
- 用電子開關對兩種測試電路進行快速切換
隨著電子設備、計算機與家用電器的大量湧現和廣泛普及,電網噪聲幹擾日益嚴重並形成一種公害。特別是瞬態噪聲幹擾,其上升速度快、持續時間短、電壓振幅度高(幾百伏至幾千伏)、隨機性強,對微機和數字電路易產生嚴重幹擾,常使人防不勝防,這已引起國內外電子界的高度重視。
電磁幹擾濾波器(EMI Filter)是(shi)近(jin)年(nian)來(lai)被(bei)推(tui)廣(guang)應(ying)用(yong)的(de)一(yi)種(zhong)新(xin)型(xing)組(zu)合(he)器(qi)件(jian)。它(ta)能(neng)有(you)效(xiao)地(di)抑(yi)製(zhi)電(dian)網(wang)噪(zao)聲(sheng),提(ti)高(gao)電(dian)子(zi)設(she)備(bei)的(de)抗(kang)幹(gan)擾(rao)能(neng)力(li)及(ji)係(xi)統(tong)的(de)可(ke)靠(kao)性(xing),可(ke)廣(guang)泛(fan)用(yong)於(yu)電(dian)子(zi)測(ce)量(liang)儀(yi)器(qi)、計算機機房設備、開關電源、測控係統等領域。
電磁幹擾濾波器的構造原理及應用
a.構造原理
電源噪聲是電磁幹擾的一種,其傳導噪聲的頻譜大致為10kHz~30MHz,最高可達150MHz。根據傳播方向的不同,電源噪聲可分為兩大類:yileishicongdianyuanjinxianyinrudewaijieganrao,lingyileishiyoudianzishebeichanshengbingjingdianyuanxianchuandaochuqudezaosheng。zhebiaomingzaoshengshuyushuangxiangganraoxinhao,dianzishebeijishizaoshengganraodeduixiang,youshiyigezaoshengyuan。ruocongxingchengtediankan,zaoshengganraofenchuanmoganraoyugongmoganraoliangzhong。chuanmoganraoshiliangtiaodianyuanxianzhijian(簡稱線對線)的噪聲,共模幹擾則是兩條電源線對大地(簡稱線對地)的噪聲。因此,電磁幹擾濾波器應符合電磁兼容性(EMC)的(de)要(yao)求(qiu),也(ye)必(bi)須(xu)是(shi)雙(shuang)向(xiang)射(she)頻(pin)濾(lv)波(bo)器(qi),一(yi)方(fang)麵(mian)要(yao)濾(lv)除(chu)從(cong)交(jiao)流(liu)電(dian)源(yuan)線(xian)上(shang)引(yin)入(ru)的(de)外(wai)部(bu)電(dian)磁(ci)幹(gan)擾(rao),另(ling)一(yi)方(fang)麵(mian)還(hai)能(neng)避(bi)免(mian)本(ben)身(shen)設(she)備(bei)向(xiang)外(wai)部(bu)發(fa)出(chu)噪(zao)聲(sheng)幹(gan)擾(rao),以(yi)免(mian)影(ying)響(xiang)同(tong)一(yi)電(dian)磁(ci)環(huan)境(jing)下(xia)其(qi)他(ta)電(dian)子(zi)設(she)備(bei)的(de)正(zheng)常(chang)工(gong)作(zuo)。此(ci)外(wai),電(dian)磁(ci)幹(gan)擾(rao)濾(lv)波(bo)器(qi)應(ying)對(dui)串(chuan)模(mo)、共模幹擾都起到抑製作用。
b.基本電路及典型應用
電磁幹擾濾波器的基本電路如圖1所示。

該五端器件有兩個輸入端、兩個輸出端和一個接地端,使用時外殼應接通大地。電路中包括共模扼流圈(亦稱共模電感)L、濾波電容C1~C4。L對dui串chuan模mo幹gan擾rao不bu起qi作zuo用yong,但dan當dang出chu現xian共gong模mo幹gan擾rao時shi,由you於yu兩liang個ge線xian圈quan的de磁ci通tong方fang向xiang相xiang同tong,經jing過guo耦ou合he後hou總zong電dian感gan量liang迅xun速su增zeng大da,因yin此ci對dui共gong模mo信xin號hao呈cheng現xian很hen大da的de感gan抗kang,使shi之zhi不bu易yi通tong過guo,故gu稱cheng作zuo共gong模mo扼e流liu圈quan。它ta的de兩liang個ge線xian圈quan分fen別bie繞rao在zai低di損sun耗hao、高導磁率的鐵氧體磁環上,當有電流通過時,兩個線圈上的磁場就會互相加強。L的電感量與EMI濾波器的額定電流I有關,參見表1。

需(xu)要(yao)指(zhi)出(chu),當(dang)額(e)定(ding)電(dian)流(liu)較(jiao)大(da)時(shi),共(gong)模(mo)扼(e)流(liu)圈(quan)的(de)線(xian)徑(jing)也(ye)要(yao)相(xiang)應(ying)增(zeng)大(da),以(yi)便(bian)能(neng)承(cheng)受(shou)較(jiao)大(da)的(de)電(dian)流(liu)。此(ci)外(wai),適(shi)當(dang)增(zeng)加(jia)電(dian)感(gan)量(liang),可(ke)改(gai)善(shan)低(di)頻(pin)衰(shuai)減(jian)特(te)性(xing)。C1和C2采用薄膜電容器,容量範圍大致是0.01Μf~0.47μF,主要用來濾除串模幹擾。C3和C4跨接在輸出端,並將電容器的中點接地,能有效地抑製共模幹擾。C3和C4亦可並聯在輸入端,仍選用陶瓷電容,容量範圍是2200Pf~0.1μF。為減小漏電流,電容量不得超過0.1μF,並且電容器中點應與大地接通。C1~C4的耐壓值均為630VDC或250VAC。圖2示出一種兩級複合式EMI濾波器的內部電路,由於采用兩級(亦稱兩節)濾lv波bo,因yin此ci濾lv除chu噪zao聲sheng的de效xiao果guo更geng佳jia。針zhen對dui某mou些xie用yong戶hu現xian場chang存cun在zai重zhong複fu頻pin率lv為wei幾ji千qian赫he茲zi的de快kuai速su瞬shun態tai群qun脈mai衝chong幹gan擾rao的de問wen題ti,國guo內nei外wai還hai開kai發fa出chu群qun脈mai衝chong濾lv波bo器qi(亦稱群脈衝對抗器),能對上述幹擾起到抑製作用。
EMI濾波器在開關電源中的應用
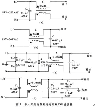
為減小體積、降低成本,單片開關電源一般采用簡易式單級EMI濾波器,典型電路如圖3所示
圖(a)與圖(b)中的電容器C能濾除串模幹擾,區別僅是圖(a)將C接在輸入端, 圖(b)則接到輸出端。圖(c)、(d)所示電路較複雜,抑製幹擾的效果更佳。圖(c)中的L、C1和C2用來濾除共模幹擾,C3和C4濾除串模幹擾。R為泄放電阻,可將C3上積累的電荷泄放掉,避免因電荷積累而影響濾波特性;斷電後還能使電源的進線端L、N不帶電,保證使用的安全性。圖(d)則是把共模幹擾濾波電容C3和C4接在輸出端。
EMI濾波器能有效抑製單片開關電源的電磁幹擾。圖4中曲線a為不加EMI濾波器時開關電源上0.15MHz~30MHz傳導噪聲的波形(即電磁幹擾峰值包絡線)。曲線b是插入如圖3(d)所示EMI濾波器後的波形,能將電磁幹擾衰減50dBμV~70dBμV。顯然,這種EMI濾波器的效果更佳。

EMI濾波器的技術參數及測試方法
a.主要技術參數
EMI濾波器的主要技術參數有:額定電壓、額定電流、漏電流、測試電壓、絕緣電阻、直流電阻、使用溫度範圍、工作溫升Tr、插入損耗AdB、外形尺寸、重量等。上述參數中最重要的是插入損耗(亦稱插入衰減),它是評價電磁幹擾濾波器性能優劣的主要指標。
插入損耗(AdB)是頻率的函數,用dB表示。設電磁幹擾濾波器插入前後傳輸到負載上的噪聲功率分別為P1、P2,有公式:
AdB=10lg P1/P2(1)
假定負載阻抗在插入前後始終保持不變,則P1=V12/Z,P2=V22/Z。式中V1是噪聲源直接加到負載上的電壓,V2是在噪聲源與負載之間插入電磁幹擾濾波器後負載上的噪聲電壓,且V2<<V1。代入(1)式中得到
AdB=20lg (2)
插入損耗用分貝(dB)表biao示shi,分fen貝bei值zhi愈yu大da,說shuo明ming抑yi製zhi噪zao聲sheng幹gan擾rao的de能neng力li愈yu強qiang。鑒jian於yu理li論lun計ji算suan比bi較jiao煩fan瑣suo且qie誤wu差cha較jiao大da,通tong常chang是shi由you生sheng產chan廠chang家jia進jin行xing實shi際ji測ce量liang,根gen據ju噪zao聲sheng頻pin譜pu逐zhu點dian測ce出chu所suo對dui應ying的de插cha入ru損sun耗hao,然ran後hou繪hui出chu典dian型xing的de插cha入ru損sun耗hao曲qu線xian,提ti供gong給gei用yong戶hu。

圖5給出一條典型曲線。由圖可見,該產品可將1MHz~30MHz的噪聲電壓衰減65dB。
計算EMI濾波器對地漏電流的公式為
ILD=2πfCVC(3)
式中,ILD為漏電流,f是電網頻率。以圖1為例,f=50Hz,C=C3+C4=4400pF,VC是C3、C4上的壓降,亦即輸出端的對地電壓,可取VC≈220V/2=110V。由(3)式不難算出,此時漏電流ILD=0.15mA。C3和C4若選4700pF,則C=4700pFX2=9400pF,ILD=0.32mA。顯然,漏電流與C成正比。對漏電流的要求是愈小愈好,這樣安全性高,一般應為幾百微安至幾毫安。在電子醫療設備中對漏電流的要求更為嚴格。
需要指出,額定電流還與環境溫度TA有關。例如國外有的生產廠家給出下述經驗公式:
I=I1(4)
式中,I1是40°C時的額定電流。舉例說明,當TA=50℃時,I=0.88I1;而當TA=25℃時,I=1.1511。這表明,額定電流值隨溫度的降低而增大,這是由於散熱條件改善的緣故。
b.測量插入損耗的方法
測量插入損耗的電路如圖6所示。

e是噪聲信號發生器,Zi是信號源的內部阻抗,ZL是負載阻抗,一般取50Ω。噪聲頻率範圍可選10kHz~30MHz。首先要在不同頻率下分別測出插入前後負載上的噪聲壓降V1、V2,再代入(2)式中計算出每個頻率點的AdB值,最後繪出插入損耗曲線。需要指出,上述測試方法比較煩瑣,每次都要拆裝EMI濾波器。為此可用電子開關對兩種測試電路進行快速切換。
- 噪聲中提取真值!瑞盟科技推出MSA2240電流檢測芯片賦能多元高端測量場景
- 10MHz高頻運行!氮矽科技發布集成驅動GaN芯片,助力電源能效再攀新高
- 失真度僅0.002%!力芯微推出超低內阻、超低失真4PST模擬開關
- 一“芯”雙電!聖邦微電子發布雙輸出電源芯片,簡化AFE與音頻設計
- 一機適配萬端:金升陽推出1200W可編程電源,賦能高端裝備製造
- 貿澤EIT係列新一期,探索AI如何重塑日常科技與用戶體驗
- 算力爆發遇上電源革新,大聯大世平集團攜手晶豐明源線上研討會解鎖應用落地
- 創新不止,創芯不已:第六屆ICDIA創芯展8月南京盛大啟幕!
- AI時代,為什麼存儲基礎設施的可靠性決定數據中心的經濟效益
- 矽典微ONELAB開發係列:為毫米波算法開發者打造的全棧工具鏈
- 車規與基於V2X的車輛協同主動避撞技術展望
- 數字隔離助力新能源汽車安全隔離的新挑戰
- 汽車模塊拋負載的解決方案
- 車用連接器的安全創新應用
- Melexis Actuators Business Unit
- Position / Current Sensors - Triaxis Hall



