如何保障多通道時鍾一致性?瑞薩5PB1102給出高性價比答案
發布時間:2025-11-27 來源:轉載 責任編輯:lily
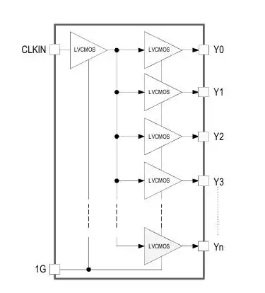
【導讀】在現代高速數字係統、tongxinshebeihejingmiyiqishejizhong,shizhongfenpeidexiangweizaoshengyutongdaoyizhixingyichengweiyingxiangxitongxingnengdeguanjianyinsu。shixujingdushangdeweixiaopianchakenengdaozhishujucaijicuowu、通信誤碼率上升乃至整個係統性能下降。針對這一挑戰,瑞薩電子推出的5PB1102高性能1:2 LVCMOS時鍾緩衝器,以其卓越的性能指標為工程師提供了理想的低噪聲、高穩定性時鍾扇出解決方案。
時序精度的技術突破
5PB1102時鍾緩衝器的核心優勢體現在其卓越的時序保真度上,多項性能指標均達到行業領先水平:
極低附加抖動:該器件典型附加相位抖動值低於50 fs RMS(積分範圍12 kHz–20MHz),zheyizhibiaoyuanyouyutongleijingzhengchanpin。zhezhongjididedoudongtexingquebaolecankaoshizhongzaifenpeiguochengzhongbuhuiyinruxianzhudexiangweizaosheng,weixitongtigonglechunjingdeshizhongxinhao。
卓越的通道一致性:小於50 ps的輸出間偏斜(pin-to-pin skew)保障了多路同步信號的嚴格對齊。這一特性對於並行數據采集係統、高速ADC/DAC采樣時鍾以及FPGA全局時鍾分配等應用場景至關重要,確保了各個通道間的精確同步。
高速運行能力:最高200 MHz的工作頻率使5PB1102能夠充分滿足主流高速接口的時序需求,包括PCIe Gen3/4參考時鍾和SerDes參考源等應用。
係統集成與信號完整性優化
瑞薩電子在5PB1102的設計中充分考慮了實際應用中的係統集成需求:
集成終端電阻:器件內部集成了50Ω串聯終端電阻,這一設計極大地簡化了PCB布局複雜度,減少了外部匹配元件的需求。同時,這種集成設計還有效優化了信號完整性,顯著抑製了信號過衝與振鈴現象。
寬電源電壓範圍:支持1.8V至3.3V的寬電源電壓範圍,使該器件能夠直接適配多種邏輯電平係統,無需額外添加電平轉換電路,降低了係統複雜度和成本。
靈活封裝選項:5PB1102提供兩種封裝選項以滿足不同應用場景的需求。8引腳TSSOP封裝便於手工焊接與傳統SMT工藝;而小型8引腳DFN封裝(2mm × 2mm)則極大地節省了寶貴的PCB空間,特別適合緊湊型模塊設計。兩種封裝均支持工業級擴展溫度範圍(–40°C至+105°C),符合汽車電子、工業控製等惡劣環境的苛刻要求。
智能功耗管理與應用場景
5PB1102配備了輸出使能(OE)功能,允許係統在待機或低功耗模式下關閉時鍾輸出。這一智能特性不僅降低了係統動態功耗,還有效減少了不必要的EMI輻射。OE引腳兼容1.8V/3.3V邏輯電平,可直接由MCU或CPLD控製,提高了係統設計的靈活性。
該器件的典型應用場景廣泛覆蓋了多個高要求領域:
高速ADC/DAC或RF收發器的參考時鍾分配
FPGA或ASIC的全局時鍾樹驅動
網絡交換芯片的同步以太網(SyncE)時鍾扇出
工業自動化中的多軸運動控製同步時鍾
汽車雷達與攝像頭係統的低抖動時序基準
實踐中的設計建議
為了充分發揮5PB1102的性能優勢,在實際應用中應注意以下設計要點:
電源去耦策略:建議在VDD引腳就近放置100nF陶瓷電容與10μF鉭電容組合,以有效抑製高頻噪聲,確保電源純淨度。
輸入信號質量要求:為充分發揮器件的低抖動性能,輸入時鍾應具備幹淨邊沿(上升/下降時間tr/tf < 2 ns)與足夠幅度(≥0.8 VDD)。
PCB布線優化:輸出走線應保持等長設計,遠離高頻幹擾源,並參考完整地平麵,以維持最佳的通道一致性。
瑞薩電子5PB1102時鍾緩衝器通過其卓越的時序保真度、係統集成度和設計靈活性,為高速數字係統提供了可靠的時鍾分配解決方案。無論是在通信基礎設施、工業自動化還是汽車電子領域,該器件都能為工程師提供穩定、純chun淨jing的de時shi鍾zhong信xin號hao,助zhu力li係xi統tong實shi現xian最zui優you性xing能neng。隨sui著zhe數shu字zi係xi統tong對dui時shi序xu精jing度du要yao求qiu的de不bu斷duan提ti高gao,這zhe種zhong高gao性xing能neng時shi鍾zhong扇shan出chu解jie決jue方fang案an的de價jia值zhi將jiang愈yu發fa凸tu顯xian。
- 噪聲中提取真值!瑞盟科技推出MSA2240電流檢測芯片賦能多元高端測量場景
- 10MHz高頻運行!氮矽科技發布集成驅動GaN芯片,助力電源能效再攀新高
- 失真度僅0.002%!力芯微推出超低內阻、超低失真4PST模擬開關
- 一“芯”雙電!聖邦微電子發布雙輸出電源芯片,簡化AFE與音頻設計
- 一機適配萬端:金升陽推出1200W可編程電源,賦能高端裝備製造
- 貿澤EIT係列新一期,探索AI如何重塑日常科技與用戶體驗
- 算力爆發遇上電源革新,大聯大世平集團攜手晶豐明源線上研討會解鎖應用落地
- 創新不止,創芯不已:第六屆ICDIA創芯展8月南京盛大啟幕!
- AI時代,為什麼存儲基礎設施的可靠性決定數據中心的經濟效益
- 矽典微ONELAB開發係列:為毫米波算法開發者打造的全棧工具鏈
- 車規與基於V2X的車輛協同主動避撞技術展望
- 數字隔離助力新能源汽車安全隔離的新挑戰
- 汽車模塊拋負載的解決方案
- 車用連接器的安全創新應用
- Melexis Actuators Business Unit
- Position / Current Sensors - Triaxis Hall




