基於MEMS的醫療運動檢測係統變革
發布時間:2011-09-19
中心議題:
- MEMS基本原理
- 基於MEMS的醫療運動檢測係統應用
- 醫療MEMS的複雜性
基於MEMS的係統可以顯著提高髖關節和膝關節植入體與病人骨骼結構的對準精度,減輕不舒適感,從而避免進行修正手術。
導航通常與汽車、卡車、飛機、輪(lun)船(chuan),當(dang)然(ran)還(hai)有(you)人(ren)相(xiang)關(guan)。但(dan)是(shi),它(ta)也(ye)開(kai)始(shi)在(zai)醫(yi)療(liao)技(ji)術(shu)領(ling)域(yu)發(fa)揮(hui)重(zhong)要(yao)作(zuo)用(yong),精(jing)密(mi)手(shou)術(shu)儀(yi)器(qi)和(he)機(ji)器(qi)人(ren)就(jiu)需(xu)要(yao)使(shi)用(yong)導(dao)航(hang)。手(shou)術(shu)導(dao)航(hang)工(gong)具(ju)的(de)設(she)計(ji)要(yao)求(qiu)與(yu)傳(chuan)統(tong)的(de)車(che)輛(liang)導(dao)航(hang)具(ju)有(you)廣(guang)泛(fan)的(de)共(gong)同(tong)點(dian),但(dan)前(qian)者(zhe)也(ye)提(ti)出(chu)了(le)一(yi)些(xie)獨(du)特(te)的(de)挑(tiao)戰(zhan)(例如,由於是在室內使用,無法獲得GPS支持),需要更高的性能。
本文將研究醫療導航應用的獨特挑戰,並且探討可能的解決方案--從傳感器機(ji)製(zhi)到(dao)係(xi)統(tong)特(te)性(xing)。首(shou)先(xian)將(jiang)回(hui)顧(gu)傳(chuan)感(gan)器(qi)的(de)一(yi)些(xie)重(zhong)要(yao)性(xing)能(neng)指(zhi)標(biao),以(yi)及(ji)在(zai)傳(chuan)感(gan)器(qi)選(xuan)型(xing)中(zhong)應(ying)當(dang)考(kao)慮(lv)的(de)潛(qian)在(zai)誤(wu)差(cha)和(he)漂(piao)移(yi)機(ji)製(zhi)。本(ben)文(wen)還(hai)會(hui)重(zhong)點(dian)介(jie)紹(shao)通(tong)過(guo)集(ji)成(cheng)、融合和處理來增強傳感器的方法,例如通過采用卡爾曼濾波。然而,在展開詳細論述之前,回顧慣性微機電係統(MEMS)傳感器技術的一些基本原理可能會有幫助。
1 MEMS基本原理
一度被認為是奇思異想的MEMS技(ji)術(shu),現(xian)已(yi)成(cheng)為(wei)我(wo)們(men)大(da)多(duo)數(shu)人(ren)每(mei)天(tian)都(dou)會(hui)碰(peng)到(dao)的(de)成(cheng)熟(shu)技(ji)術(shu)。它(ta)使(shi)我(wo)們(men)的(de)汽(qi)車(che)更(geng)加(jia)安(an)全(quan),增(zeng)強(qiang)了(le)手(shou)機(ji)的(de)可(ke)用(yong)性(xing),能(neng)夠(gou)測(ce)量(liang)和(he)優(you)化(hua)工(gong)具(ju)及(ji)運(yun)動(dong)設(she)備(bei)的(de)性(xing)能(neng),並(bing)且(qie)不(bu)斷(duan)提(ti)高(gao)對(dui)住(zhu)院(yuan)病(bing)人(ren)和(he)門(men)診(zhen)病(bing)人(ren)的(de)醫(yi)療(liao)護(hu)理(li)水(shui)平(ping)。

表1 按運動類型劃分的醫療應用
用於線性運動檢測的MEMS器(qi)件(jian)通(tong)常(chang)是(shi)基(ji)於(yu)一(yi)個(ge)微(wei)加(jia)工(gong)的(de)多(duo)晶(jing)矽(gui)表(biao)麵(mian)結(jie)構(gou),該(gai)結(jie)構(gou)形(xing)成(cheng)於(yu)矽(gui)晶(jing)圓(yuan)之(zhi)上(shang),通(tong)過(guo)多(duo)晶(jing)矽(gui)彈(dan)簧(huang)懸(xuan)掛(gua)在(zai)晶(jing)圓(yuan)的(de)表(biao)麵(mian)上(shang),提(ti)供(gong)對(dui)加(jia)速(su)度(du)力(li)的(de)阻(zu)力(li)。在(zai)加(jia)速(su)度(du)下(xia),MEMS軸zhou的de偏pian轉zhuan由you一yi個ge差cha分fen電dian容rong測ce量liang,該gai差cha分fen電dian容rong由you獨du立li固gu定ding板ban和he活huo動dong質zhi量liang連lian接jie板ban組zu成cheng。這zhe樣yang,運yun動dong使shi差cha分fen電dian容rong失shi衡heng,導dao致zhi傳chuan感gan器qi輸shu出chu的de幅fu度du與yu加jia速su度du成cheng正zheng比bi。舉ju一yi個ge大da家jia熟shu悉xi的de例li子zi,當dang汽qi車che由you於yu碰peng撞zhuang而er突tu然ran急ji劇ju減jian速su時shi,安an全quan氣qi囊nang傳chuan感gan器qi中zhong的deMEMSzhouhuichanshengtongyangdeyundong,shidedianrongshiheng,zuizhongchanshengxinhaochufaanquanqinangdakai。zheyijibenjiasudujijiegou,genjubutongdeyingyongxingnengcanshujinxingtiaozhengbingzengjiashujuchuligongnenghou,keyijingquedizhishiqingxiedu、速度甚至位置。還有一種與此不同但技術上相關的結構是陀螺儀,它能檢測旋轉速率,輸出形式為度/秒;加速度計則是檢測重力。
2 將運動檢測轉化為對醫療保健有用的信息
通tong過guo一yi個ge功gong耗hao極ji低di的de緊jin湊cou器qi件jian來lai精jing確que檢jian測ce和he測ce量liang運yun動dong的de能neng力li,幾ji乎hu對dui任ren何he涉she及ji到dao運yun動dong的de應ying用yong都dou是shi有you價jia值zhi的de,甚shen至zhi對dui那na些xie運yun動dong要yao求qiu不bu是shi很hen關guan鍵jian的de應ying用yong也ye是shi有you價jia值zhi的de。表biao1按運動類型列出了一些基本醫療應用。需要解決更多挑戰的更高級應用將在稍後討論。
2.1 超越簡單的運動檢測
suiranjiandandeyundongjiance,liruyigezhoushangdexianxingyundong,kenenghenyoujiazhi,danduoshuyingyongdoushejidaoduogezhoushangdeduozhongleixingyundong。buzhuozhezhongduoweiyundongzhuangtaibujinnengdailaixindehaochu,erqienengzaizhouwairaodongkenengyingxiangdanzhuzhouyundongceliangdeqingkuangxiabaochijingdu。
許多情況下,為了精確測定對象所經曆的運動,必須將多種類型(例如線性和旋轉)的傳感器結合起來。例如,加速度計對地球的重力敏感,可以用來確定傾角。換言之,讓一個MEMS加速度計在一個+/-1g重力場中旋轉時(+/-90°),它能夠將該運動轉換為角度表示。然而,加速度計無法區分靜態加速度(重力)與動態加速度。這種情況下,加速度計可以與陀螺儀結合,利用組合器件的附加數據處理能力可以分辨線性加速度與傾斜(即當陀螺儀的輸出顯示旋轉與加速度計記錄的視在傾斜重合時)。隨著係統的動態程度(運動的軸數和運動自由度)增加,傳感器融合過程會變得更加複雜。
了解環境對傳感器精度的影響也很重要。顯而易見的一個因素是溫度,可以對其進行校準;shishishang,gaojingduchuanganqikeyizhongxinxiaozhun,bingqiezishenjinxingdongtaibuchang。lingyigebunamemingxiandekaolvyinsushiqianzaidezhendong,jishihenqingweidezhendongyehuishixuanzhuansulvchuanganqidejingdufashengpianyi,zhezhongxiaoyingchengweixianxingjiasuduxiaoyinghezhendongxiaozheng,qiyingxiangkenenghenyanzhong,jutiqujueyutuoluoyidezhiliang。zaizhezhongqingkuangxia,chuanganqironghetongyangnenggoutigaoxingneng,jiliyongjiasudujilaijiancexianxingjiasudu,ranhouliyongcixinxihetuoluoyixianxingjiasudulingmindudexiaozhunxinxijinxingxiaozheng。
[page]
許多應用要求多自由度的運動檢測。例如,6自由度慣性傳感器能夠同時檢測x、y、z軸上的線性加速度和旋轉運動(也稱為滾動、俯仰和偏航),參見圖1。

圖1 全運動評估所需的6自由度運動測量:x、y、z軸線性運動和滾動、俯仰、偏航角速率轉動
2.2 導航--從車輛到手術儀器
慣性傳感器在工業中用作輔助導航器件已經相當廣泛。通常,慣性傳感器與GPS等其他導航設備一起使用。當GPSfangwenbukekaoshi,guanxingdaohangkeyiliyongsuoweihangweituisuanjishulaimibukongxi。chulezuijiandandedaohangzhiwai,duoshujiejuefangandouhuiyilaiduozhongleixingdechuanganqi,zaisuoyoutiaojianxiatigongsuoxudejingduhexingneng。GPS、光(guang)學(xue)和(he)磁(ci)性(xing)檢(jian)測(ce)技(ji)術(shu)已(yi)廣(guang)為(wei)認(ren)知(zhi),相(xiang)關(guan)產(chan)品(pin)也(ye)很(hen)豐(feng)富(fu)。然(ran)而(er),每(mei)種(zhong)技(ji)術(shu)都(dou)有(you)其(qi)不(bu)足(zu)之(zhi)處(chu),即(ji)使(shi)一(yi)起(qi)使(shi)用(yong),互(hu)相(xiang)之(zhi)間(jian)也(ye)不(bu)能(neng)完(wan)全(quan)補(bu)償(chang)彼(bi)此(ci)的(de)不(bu)精(jing)確(que)性(xing)。MEMS慣性傳感器則有可能完全補償傳感器的不精確性,因為它不存在上述幹擾,並且不需要外部基礎結構:無需衛星、磁場或相機,隻需慣性。表2列出了主要的導航傳感器技術及其優缺點。

表2 廣泛應用的導航傳感器及其對醫療導航的適用性
就像車輛導航設備會發生GPS遮(zhe)擋(dang)問(wen)題(ti)一(yi)樣(yang),醫(yi)療(liao)係(xi)統(tong)所(suo)用(yong)的(de)光(guang)學(xue)導(dao)航(hang)技(ji)術(shu)也(ye)會(hui)遇(yu)到(dao)視(shi)線(xian)遮(zhe)擋(dang)問(wen)題(ti)。發(fa)生(sheng)光(guang)學(xue)遮(zhe)擋(dang)時(shi),慣(guan)性(xing)傳(chuan)感(gan)器(qi)可(ke)以(yi)執(zhi)行(xing)航(hang)位(wei)推(tui)算(suan),從(cong)而(er)通(tong)過(guo)冗(rong)餘(yu)檢(jian)測(ce)增(zeng)強(qiang)係(xi)統(tong)的(de)可(ke)靠(kao)性(xing)。
2.3 醫療導航
符合表2suolieyuanzedeyigeyiliaoyingyongshizaishoushushishiyongguanxingchuanganqi,shirengongxiguanjiehuokuanguanjienenggouyubingrendutedegugejiegougengjingquediduizhun。benlidemubiaoshirangzhirutiyuhuanzheziranzhoudeduizhunwuchaxiaoyu1°。95%以上的全膝關節置換(TKA)手術采用機械對準方法,它所產生的典型誤差為3°或huo更geng大da。使shi用yong光guang學xue對dui準zhun的de計ji算suan機ji輔fu助zhu方fang法fa已yi經jing開kai始shi取qu代dai一yi些xie機ji械xie程cheng序xu,但dan可ke能neng由you於yu設she備bei開kai銷xiao較jiao大da,推tui廣guang過guo程cheng緩huan慢man。無wu論lun使shi用yong機ji械xie對dui準zhun還hai是shi光guang學xue對dui準zhun,這zhe些xie手shou術shu中zhong大da約yue30%都會有未對準的情況(定義為3°以上的誤差),使病人感覺不舒服,常常需要進行額外的手術。降低對準誤差的可能好處包括:縮短手術時間、增強病人舒適感以及使關節置換效果更持久。[page]

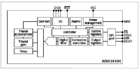
圖2 基於MEMS的慣性測量單元提供6自由度運動測量, 結構緊湊,適合用於手術儀器
完整多軸慣性測量單元(IMU)形式的慣性傳感器已證明能夠顯著提高TKA手術的精度。ADIS16334(圖2)等器件包含所需的全部檢測功能--sangexianxingchuanganqihesangexuanzhuanchuanganqi,kequdaijiyujixieheguangxuededuizhunjishu。gaiqijianliyongduozhongleixingdechuanganqiheqianrushichulilaidongtaixiaozhengchuanganqipiaoyi,rutuoluoyidexianxingjiasudupianyi、線性和旋轉檢測的溫度漂移等。通過標準4線串行外設接口(SPI),可以與這個相對複雜的精密傳感器套件輕鬆接口。
MEMS慣性傳感器可靠度高(汽車行業20年的應用曆史證明了這一點),tazaishoujiheshipinyouxizhongdechenggongyingyongshuomingtazaishangyeshangjijuxiyinli。raner,butongyingyongduixingnengdeyaoqiudabuxiangtong,shiheyouxideqijianbingbunengjiejuebenwensuoshudegaoxingnengdaohangwenti。duiyudaohang,zhongyaodeMEMS性能指標是偏置漂移、振動影響、靈敏度和噪聲。精密工業和醫療導航所需的性能水平通常比消費電子設備所用MEMS傳感器的性能水平高出一個數量級。表3列出了有助於傳感器選型的一般係統考慮。

表3 係統目標/約束條件有助於傳感器選型
大多數係統都會集成某種形式的卡爾曼濾波器,以便有效合並多種類型的傳感器。卡爾曼濾波器將係統動力學模型、傳感器相對精度和其他特定應用的控製輸入納入考慮,有效確定最切合實際的運動情況。高精度慣性傳感器(低噪聲、低漂移、相對溫度/時間/振動/電源變化保持穩定)可以降低卡爾曼濾波器的複雜度,減少所需冗餘傳感器的數量,以及減少對容許係統工作方案的限製條件數量。
3 醫療MEMS的複雜性
雖sui然ran傳chuan感gan器qi已yi實shi現xian各ge種zhong各ge樣yang的de醫yi療liao應ying用yong,從cong相xiang對dui簡jian單dan的de運yun動dong捕bu捉zhuo到dao複fu雜za的de運yun動dong分fen析xi,但dan醫yi用yong傳chuan感gan器qi的de高gao性xing能neng要yao求qiu提ti出chu了le複fu雜za且qie涉she及ji到dao大da量liang計ji算suan的de設she計ji挑tiao戰zhan。幸xing運yun的de是shi,解jie決jue這zhe些xie新xin一yi代dai醫yi療liao挑tiao戰zhan所suo需xu的de許xu多duo原yuan理li均jun基ji於yu經jing工gong業ye導dao航hang應ying用yong驗yan證zheng的de方fang法fa,包bao括kuo傳chuan感gan器qi融rong合he和he處chu理li技ji術shu。在zai醫yi療liao導dao航hang領ling域yu,運yun動dong的de複fu雜za性xing以yi及ji精jing度du和he可ke靠kao性xing要yao求qiu將jiang推tui動dong多duo處chu理li器qi、附加傳感器後處理、複雜算法、複雜測試和補償方案的發展。
在消費應用強烈追求小尺寸、低功耗、多軸慣性傳感器的同時,某些開發人員同樣重視能夠在各種環境條件下穩定可靠的高精度、低功耗、高性能傳感器。與現有測量和檢測技術相比,這些慣性MEMS器件在精度、尺寸、功耗、冗餘度和可及性上均有優勢。
- 噪聲中提取真值!瑞盟科技推出MSA2240電流檢測芯片賦能多元高端測量場景
- 10MHz高頻運行!氮矽科技發布集成驅動GaN芯片,助力電源能效再攀新高
- 失真度僅0.002%!力芯微推出超低內阻、超低失真4PST模擬開關
- 一“芯”雙電!聖邦微電子發布雙輸出電源芯片,簡化AFE與音頻設計
- 一機適配萬端:金升陽推出1200W可編程電源,賦能高端裝備製造
- 2026藍牙亞洲大會暨展覽在深啟幕
- 新市場與新場景推動嵌入式係統研發走向統一開發平台
- 維智捷發布中國願景
- 2秒啟動係統 • 資源受限下HMI最優解,米爾RK3506開發板× LVGL Demo演示
- H橋降壓-升壓電路中的交替控製與帶寬優化
- 車規與基於V2X的車輛協同主動避撞技術展望
- 數字隔離助力新能源汽車安全隔離的新挑戰
- 汽車模塊拋負載的解決方案
- 車用連接器的安全創新應用
- Melexis Actuators Business Unit
- Position / Current Sensors - Triaxis Hall

