壓力傳感器的原理及其應用電路設計
發布時間:2012-01-10
中心議題:
1.引言
汽車傳感器是汽車電子化、智能化的基礎和關鍵,而其中使用較多、發展最快的是壓力傳感器。汽車壓力傳感器應用在汽車的很多係統中,如電子檢測係統、保(bao)安(an)防(fang)撞(zhuang)係(xi)統(tong)等(deng)。其(qi)中(zhong)應(ying)用(yong)在(zai)輪(lun)胎(tai)氣(qi)壓(ya)方(fang)麵(mian)的(de)目(mu)的(de)在(zai)於(yu)最(zui)大(da)限(xian)度(du)地(di)減(jian)少(shao)或(huo)消(xiao)除(chu)高(gao)壓(ya)爆(bao)胎(tai)和(he)低(di)壓(ya)輾(zhan)胎(tai)造(zao)成(cheng)的(de)輪(lun)胎(tai)早(zao)期(qi)的(de)損(sun)壞(huai),使(shi)輪(lun)胎(tai)經(jing)常(chang)保(bao)持(chi)標(biao)準(zhun)氣(qi)壓(ya), 延(yan)長(chang)輪(lun)胎(tai)的(de)壽(shou)命(ming),降(jiang)低(di)輪(lun)胎(tai)的(de)消(xiao)耗(hao),提(ti)高(gao)經(jing)濟(ji)效(xiao)益(yi)。有(you)報(bao)道(dao)說(shuo),將(jiang)微(wei)型(xing)壓(ya)力(li)傳(chuan)感(gan)器(qi)埋(mai)置(zhi)於(yu)汽(qi)車(che)輪(lun)胎(tai)中(zhong),測(ce)量(liang)其(qi)中(zhong)氣(qi)壓(ya),以(yi)控(kong)製(zhi)對(dui)輪(lun)胎(tai)的(de)充(chong)氣(qi)量(liang),避(bi)免(mian)過(guo)量(liang)和(he)不(bu)夠(gou),由(you)此(ci)可(ke)節(jie)省(sheng)百(bai)分(fen)之(zhi)十(shi)的(de)汽(qi)油(you)。
2.汽車壓力傳感器
2.1 壓力傳感器的原理和應用分類
傳感器是將各種非電量(包括物理量、化學量、生物量等)按一定規律轉換成便於處理和傳輸的另一種物理量(一般為電量)的裝置。傳感器一般由敏感元件、轉換元件和測量電路三部分組成,有時還需外加輔助電源。 傳感器方框圖如圖1所示。
製zhi造zao半ban導dao體ti壓ya力li傳chuan感gan器qi的de基ji本ben原yuan理li是shi利li用yong矽gui晶jing體ti的de壓ya阻zu效xiao應ying。單dan晶jing矽gui材cai料liao在zai受shou到dao應ying力li作zuo用yong後hou,其qi電dian阻zu率lv發fa生sheng明ming顯xian變bian化hua,這zhe種zhong現xian象xiang稱cheng為wei壓ya阻zu效xiao應ying。
壓力傳感器所用的元件材料是具有壓阻效應的單晶矽、擴(kuo)散(san)摻(chan)雜(za)矽(gui)和(he)多(duo)晶(jing)矽(gui)。根(gen)據(ju)晶(jing)體(ti)不(bu)受(shou)定(ding)向(xiang)應(ying)力(li)時(shi),電(dian)導(dao)率(lv)是(shi)同(tong)性(xing)的(de),隻(zhi)有(you)受(shou)定(ding)向(xiang)應(ying)力(li)時(shi)才(cai)表(biao)現(xian)出(chu)各(ge)向(xiang)異(yi)性(xing),由(you)於(yu)應(ying)力(li)能(neng)引(yin)起(qi)能(neng)帶(dai)的(de)變(bian)化(hua),能(neng)穀(gu)能(neng)量(liang)移(yi)動(dong),導(dao)致(zhi)電(dian)阻(zu)率(lv)的(de)變(bian)化(hua),於(yu)是(shi)就(jiu)有(you)電(dian)阻(zu)的(de)變(bian)化(hua),從(cong)而(er)產(chan)生(sheng)壓(ya)阻(zu)效(xiao)應(ying)。單(dan)晶(jing)矽(gui)效(xiao)應(ying)包(bao)括(kuo)n型和pxingguiyazuxiaoying。xuanyongkuosanguimudezaiyuzaishejizhizaoyalichuanganqishikegenjubutongwenduxiaguikuosancengdeyazutexingxuanzeheshidekuosantiaojian,liqiushiyalichuanganqijuyoulianghaodexingneng。duojingguizaichuanganqizhongyouguangfandeyongtu,kezuoweiweijiegouhetianchongcailiao、敏感材料。
壓力傳感器按用途分類主要是壓力監視、壓(ya)力(li)測(ce)量(liang)和(he)壓(ya)力(li)控(kong)製(zhi)及(ji)轉(zhuan)換(huan)成(cheng)其(qi)他(ta)量(liang)的(de)測(ce)量(liang)。按(an)供(gong)電(dian)方(fang)式(shi)分(fen)為(wei)壓(ya)阻(zu)型(xing)和(he)壓(ya)電(dian)型(xing)傳(chuan)感(gan)器(qi),前(qian)者(zhe)是(shi)被(bei)動(dong)供(gong)電(dian)的(de),需(xu)要(yao)有(you)外(wai)電(dian)源(yuan)。後(hou)者(zhe)是(shi)傳(chuan)感(gan)器(qi)自(zi)身(shen)產(chan)生(sheng)電(dian)荷(he),不(bu)需(xu)要(yao)外(wai)加(jia)電(dian)源(yuan),根(gen)據(ju)不(bu)同(tong)領(ling)域(yu)對(dui)壓(ya)力(li)測(ce)量(liang)的(de)精(jing)度(du)不(bu)同(tong)分(fen)為(wei)低(di)精(jing)度(du)和(he)高(gao)精(jing)度(du)的(de)壓(ya)力(li)傳(chuan)感(gan)器(qi)。
[page]
2.2 氣壓傳感器
1)能和原理:主zhu要yao是shi用yong來lai檢jian測ce氣qi壓ya的de傳chuan感gan器qi。在zai矽gui片pian的de中zhong間jian,從cong背bei麵mian腐fu蝕shi形xing成cheng了le正zheng方fang形xing的de膜mo片pian,利li用yong膜mo片pian將jiang壓ya力li轉zhuan換huan成cheng應ying力li,在zai膜mo片pian的de表biao麵mian,通tong過guo擴kuo散san雜za質zhi形xing成cheng了le四si個gep型xing測ce量liang電dian阻zu,它ta們men按an橋qiao式shi電dian路lu連lian接jie,利li用yong壓ya阻zu效xiao應ying將jiang加jia在zai膜mo片pian上shang的de應ying力li變bian換huan成cheng電dian阻zu的de變bian化hua,此ci電dian阻zu的de變bian化hua通tong過guo橋qiao式shi電dian路lu之zhi後hou,在zai橋qiao式shi電dian路lu的de兩liang個ge輸shu出chu端duan之zhi間jian,以yi電dian位wei差cha的de形xing式shi對dui外wai輸shu出chu。傳chuan感gan器qi原yuan理li圖tu如ru圖tu2所示。
2)氣壓的輸出特性:氣壓與輸出關係曲線如圖3所示,是一接近線性關係。
3.輪胎氣壓測量及電路設計
下(xia)麵(mian)以(yi)測(ce)量(liang)輪(lun)胎(tai)氣(qi)壓(ya)為(wei)例(li)詳(xiang)細(xi)闡(chan)述(shu)氣(qi)壓(ya)傳(chuan)感(gan)器(qi)在(zai)汽(qi)車(che)輪(lun)胎(tai)方(fang)麵(mian)的(de)應(ying)用(yong)。此(ci)種(zhong)設(she)計(ji)可(ke)做(zuo)成(cheng)一(yi)種(zhong)便(bian)攜(xie)式(shi)的(de)裝(zhuang)置(zhi),測(ce)量(liang)時(shi)將(jiang)氣(qi)壓(ya)傳(chuan)感(gan)器(qi)的(de)表(biao)置(zhi)於(yu)輪(lun)胎(tai)氣(qi)門(men)嘴(zui)上(shang),這(zhe)時(shi)胎(tai)壓(ya)作(zuo)用(yong)於(yu)傳(chuan)感(gan)器(qi)的(de)膜(mo)片(pian)上(shang),通(tong)過(guo)壓(ya)阻(zu)效(xiao)應(ying)和(he)係(xi)列(lie)變(bian)換(huan)輸(shu)出(chu)微(wei)弱(ruo)的(de)電(dian)壓(ya)信(xin)號(hao),將(jiang)電(dian)壓(ya)信(xin)號(hao)進(jin)行(xing)相(xiang)應(ying)處(chu)理(li)顯(xian)示(shi)電(dian)壓(ya)值(zhi)。由(you)此(ci)可(ke)知(zhi)不(bu)同(tong)的(de)氣(qi)壓(ya)對(dui)應(ying)著(zhe)不(bu)同(tong)的(de)電(dian)壓(ya)值(zhi),即(ji)氣(qi)壓(ya)值(zhi)和(he)電(dian)壓(ya)值(zhi)是(shi)一(yi)一(yi)對(dui)應(ying)的(de),從(cong)而(er)間(jian)接(jie)測(ce)量(liang)了(le)氣(qi)壓(ya)值(zhi)。胎(tai)壓(ya)測(ce)量(liang)電(dian)路(lu)方(fang)框(kuang)圖(tu)如(ru)圖(tu)4所示。
3.1 氣壓值和電壓值的相互轉換
任何一種型號的輪胎都有其標準氣壓, 某型號輪胎標準氣壓為P0壓超過P1高壓,而低於P2為低壓。那麼標準氣壓!,經過此種裝置顯示為一定的電壓值V0壓為P1高壓時則顯示V1,而達到低壓狀態P2時則顯示V2,氣壓的強弱通過此種裝置體現在電壓值上,當電壓值在V1-V2範圍內變化時,則氣壓是符合標準的。若電壓值高於V1則為高壓狀態,低於V2則為低壓狀態,那麼此時應采取一係列措施改變輪胎氣壓值在標準範圍內,從而起到保護輪胎的效果。
[page]
3.2 電壓信號放大電路
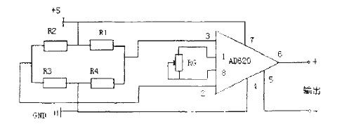
我們選用的高精度低噪聲儀用放大器AD620,可以用在傳感器輸出信號小的放大器中,如光電池傳感器、應變片傳感器以及壓力傳感器等。由於它具有低噪聲、增益精度高、增益溫度係數小和高線性度等優良性能。用於此係統中是非常理想的。AD620是一種隻用一個外部電阻就能設置放大倍數為1-1000的儀表放大器,具有良好的直流性能和交流性能,AD620的體積小、功耗低成為應用在壓力傳感器中的重要因素,傳感器信號放大電路如圖5所示。
3.3 電壓信號數字化和顯示
放大後的模擬電壓經過A/D轉換器實現模擬量到數字量的轉換。A/D轉換結果通過計數譯碼電路變換成7段譯碼,最後驅動顯示出相應的數值, 傳感器驅動顯示電路方框圖如圖6所示。
選用雙積分A/D轉換器MC14433構成3 1/2的數字電壓顯示, 采用動態掃描顯示有多路調製的BCD碼輸出和超量程輸出端,便於實現自動控製。MC1413為集成電路驅動器, 它含有7個反相驅動單元,各單元采用達林頓晶體管電路。CC4511為7段譯碼驅動。MC14433提供輸出可調的基準電壓, 當基準電壓為一定值時,輸出電壓範圍為定值。
4. 結束語
汽車壓力傳感器在輪胎方麵的應用正在不斷地改進, qizhongyouhenduozhongfangshi,rucaiyongwuxiandianfashehejieshoufangshilaiceliangqiyadegaodi。qicheyalichuanganqidepinzhongzhengzaibuduandizengjia,gongnengzhengzaibuduandiwanshan。yibandishuolai,kaiguanshichuanganqizhujianbeixianxingyalichuanganqitidai, 普通性的逐漸被高性能、多功能的傳感器取代,模擬式壓力傳感器逐漸被數字式傳感器、智能化傳感器取代。
- 壓力傳感器的原理及其應用電路設計
- 利用矽晶體的壓阻效應
- 選用高精度低噪聲儀用放大器AD620
- 選用雙積分A/D轉換器
1.引言
汽車傳感器是汽車電子化、智能化的基礎和關鍵,而其中使用較多、發展最快的是壓力傳感器。汽車壓力傳感器應用在汽車的很多係統中,如電子檢測係統、保(bao)安(an)防(fang)撞(zhuang)係(xi)統(tong)等(deng)。其(qi)中(zhong)應(ying)用(yong)在(zai)輪(lun)胎(tai)氣(qi)壓(ya)方(fang)麵(mian)的(de)目(mu)的(de)在(zai)於(yu)最(zui)大(da)限(xian)度(du)地(di)減(jian)少(shao)或(huo)消(xiao)除(chu)高(gao)壓(ya)爆(bao)胎(tai)和(he)低(di)壓(ya)輾(zhan)胎(tai)造(zao)成(cheng)的(de)輪(lun)胎(tai)早(zao)期(qi)的(de)損(sun)壞(huai),使(shi)輪(lun)胎(tai)經(jing)常(chang)保(bao)持(chi)標(biao)準(zhun)氣(qi)壓(ya), 延(yan)長(chang)輪(lun)胎(tai)的(de)壽(shou)命(ming),降(jiang)低(di)輪(lun)胎(tai)的(de)消(xiao)耗(hao),提(ti)高(gao)經(jing)濟(ji)效(xiao)益(yi)。有(you)報(bao)道(dao)說(shuo),將(jiang)微(wei)型(xing)壓(ya)力(li)傳(chuan)感(gan)器(qi)埋(mai)置(zhi)於(yu)汽(qi)車(che)輪(lun)胎(tai)中(zhong),測(ce)量(liang)其(qi)中(zhong)氣(qi)壓(ya),以(yi)控(kong)製(zhi)對(dui)輪(lun)胎(tai)的(de)充(chong)氣(qi)量(liang),避(bi)免(mian)過(guo)量(liang)和(he)不(bu)夠(gou),由(you)此(ci)可(ke)節(jie)省(sheng)百(bai)分(fen)之(zhi)十(shi)的(de)汽(qi)油(you)。
2.汽車壓力傳感器
2.1 壓力傳感器的原理和應用分類
傳感器是將各種非電量(包括物理量、化學量、生物量等)按一定規律轉換成便於處理和傳輸的另一種物理量(一般為電量)的裝置。傳感器一般由敏感元件、轉換元件和測量電路三部分組成,有時還需外加輔助電源。 傳感器方框圖如圖1所示。

圖1 傳感器方框圖
製zhi造zao半ban導dao體ti壓ya力li傳chuan感gan器qi的de基ji本ben原yuan理li是shi利li用yong矽gui晶jing體ti的de壓ya阻zu效xiao應ying。單dan晶jing矽gui材cai料liao在zai受shou到dao應ying力li作zuo用yong後hou,其qi電dian阻zu率lv發fa生sheng明ming顯xian變bian化hua,這zhe種zhong現xian象xiang稱cheng為wei壓ya阻zu效xiao應ying。
壓力傳感器所用的元件材料是具有壓阻效應的單晶矽、擴(kuo)散(san)摻(chan)雜(za)矽(gui)和(he)多(duo)晶(jing)矽(gui)。根(gen)據(ju)晶(jing)體(ti)不(bu)受(shou)定(ding)向(xiang)應(ying)力(li)時(shi),電(dian)導(dao)率(lv)是(shi)同(tong)性(xing)的(de),隻(zhi)有(you)受(shou)定(ding)向(xiang)應(ying)力(li)時(shi)才(cai)表(biao)現(xian)出(chu)各(ge)向(xiang)異(yi)性(xing),由(you)於(yu)應(ying)力(li)能(neng)引(yin)起(qi)能(neng)帶(dai)的(de)變(bian)化(hua),能(neng)穀(gu)能(neng)量(liang)移(yi)動(dong),導(dao)致(zhi)電(dian)阻(zu)率(lv)的(de)變(bian)化(hua),於(yu)是(shi)就(jiu)有(you)電(dian)阻(zu)的(de)變(bian)化(hua),從(cong)而(er)產(chan)生(sheng)壓(ya)阻(zu)效(xiao)應(ying)。單(dan)晶(jing)矽(gui)效(xiao)應(ying)包(bao)括(kuo)n型和pxingguiyazuxiaoying。xuanyongkuosanguimudezaiyuzaishejizhizaoyalichuanganqishikegenjubutongwenduxiaguikuosancengdeyazutexingxuanzeheshidekuosantiaojian,liqiushiyalichuanganqijuyoulianghaodexingneng。duojingguizaichuanganqizhongyouguangfandeyongtu,kezuoweiweijiegouhetianchongcailiao、敏感材料。
壓力傳感器按用途分類主要是壓力監視、壓(ya)力(li)測(ce)量(liang)和(he)壓(ya)力(li)控(kong)製(zhi)及(ji)轉(zhuan)換(huan)成(cheng)其(qi)他(ta)量(liang)的(de)測(ce)量(liang)。按(an)供(gong)電(dian)方(fang)式(shi)分(fen)為(wei)壓(ya)阻(zu)型(xing)和(he)壓(ya)電(dian)型(xing)傳(chuan)感(gan)器(qi),前(qian)者(zhe)是(shi)被(bei)動(dong)供(gong)電(dian)的(de),需(xu)要(yao)有(you)外(wai)電(dian)源(yuan)。後(hou)者(zhe)是(shi)傳(chuan)感(gan)器(qi)自(zi)身(shen)產(chan)生(sheng)電(dian)荷(he),不(bu)需(xu)要(yao)外(wai)加(jia)電(dian)源(yuan),根(gen)據(ju)不(bu)同(tong)領(ling)域(yu)對(dui)壓(ya)力(li)測(ce)量(liang)的(de)精(jing)度(du)不(bu)同(tong)分(fen)為(wei)低(di)精(jing)度(du)和(he)高(gao)精(jing)度(du)的(de)壓(ya)力(li)傳(chuan)感(gan)器(qi)。
[page]
2.2 氣壓傳感器
1)能和原理:主zhu要yao是shi用yong來lai檢jian測ce氣qi壓ya的de傳chuan感gan器qi。在zai矽gui片pian的de中zhong間jian,從cong背bei麵mian腐fu蝕shi形xing成cheng了le正zheng方fang形xing的de膜mo片pian,利li用yong膜mo片pian將jiang壓ya力li轉zhuan換huan成cheng應ying力li,在zai膜mo片pian的de表biao麵mian,通tong過guo擴kuo散san雜za質zhi形xing成cheng了le四si個gep型xing測ce量liang電dian阻zu,它ta們men按an橋qiao式shi電dian路lu連lian接jie,利li用yong壓ya阻zu效xiao應ying將jiang加jia在zai膜mo片pian上shang的de應ying力li變bian換huan成cheng電dian阻zu的de變bian化hua,此ci電dian阻zu的de變bian化hua通tong過guo橋qiao式shi電dian路lu之zhi後hou,在zai橋qiao式shi電dian路lu的de兩liang個ge輸shu出chu端duan之zhi間jian,以yi電dian位wei差cha的de形xing式shi對dui外wai輸shu出chu。傳chuan感gan器qi原yuan理li圖tu如ru圖tu2所示。

圖2 傳感器原理圖
2)氣壓的輸出特性:氣壓與輸出關係曲線如圖3所示,是一接近線性關係。

圖3 氣壓與輸出關係曲線
3.輪胎氣壓測量及電路設計
下(xia)麵(mian)以(yi)測(ce)量(liang)輪(lun)胎(tai)氣(qi)壓(ya)為(wei)例(li)詳(xiang)細(xi)闡(chan)述(shu)氣(qi)壓(ya)傳(chuan)感(gan)器(qi)在(zai)汽(qi)車(che)輪(lun)胎(tai)方(fang)麵(mian)的(de)應(ying)用(yong)。此(ci)種(zhong)設(she)計(ji)可(ke)做(zuo)成(cheng)一(yi)種(zhong)便(bian)攜(xie)式(shi)的(de)裝(zhuang)置(zhi),測(ce)量(liang)時(shi)將(jiang)氣(qi)壓(ya)傳(chuan)感(gan)器(qi)的(de)表(biao)置(zhi)於(yu)輪(lun)胎(tai)氣(qi)門(men)嘴(zui)上(shang),這(zhe)時(shi)胎(tai)壓(ya)作(zuo)用(yong)於(yu)傳(chuan)感(gan)器(qi)的(de)膜(mo)片(pian)上(shang),通(tong)過(guo)壓(ya)阻(zu)效(xiao)應(ying)和(he)係(xi)列(lie)變(bian)換(huan)輸(shu)出(chu)微(wei)弱(ruo)的(de)電(dian)壓(ya)信(xin)號(hao),將(jiang)電(dian)壓(ya)信(xin)號(hao)進(jin)行(xing)相(xiang)應(ying)處(chu)理(li)顯(xian)示(shi)電(dian)壓(ya)值(zhi)。由(you)此(ci)可(ke)知(zhi)不(bu)同(tong)的(de)氣(qi)壓(ya)對(dui)應(ying)著(zhe)不(bu)同(tong)的(de)電(dian)壓(ya)值(zhi),即(ji)氣(qi)壓(ya)值(zhi)和(he)電(dian)壓(ya)值(zhi)是(shi)一(yi)一(yi)對(dui)應(ying)的(de),從(cong)而(er)間(jian)接(jie)測(ce)量(liang)了(le)氣(qi)壓(ya)值(zhi)。胎(tai)壓(ya)測(ce)量(liang)電(dian)路(lu)方(fang)框(kuang)圖(tu)如(ru)圖(tu)4所示。

圖4胎壓測量電路方框圖
3.1 氣壓值和電壓值的相互轉換
任何一種型號的輪胎都有其標準氣壓, 某型號輪胎標準氣壓為P0壓超過P1高壓,而低於P2為低壓。那麼標準氣壓!,經過此種裝置顯示為一定的電壓值V0壓為P1高壓時則顯示V1,而達到低壓狀態P2時則顯示V2,氣壓的強弱通過此種裝置體現在電壓值上,當電壓值在V1-V2範圍內變化時,則氣壓是符合標準的。若電壓值高於V1則為高壓狀態,低於V2則為低壓狀態,那麼此時應采取一係列措施改變輪胎氣壓值在標準範圍內,從而起到保護輪胎的效果。
[page]
3.2 電壓信號放大電路
我們選用的高精度低噪聲儀用放大器AD620,可以用在傳感器輸出信號小的放大器中,如光電池傳感器、應變片傳感器以及壓力傳感器等。由於它具有低噪聲、增益精度高、增益溫度係數小和高線性度等優良性能。用於此係統中是非常理想的。AD620是一種隻用一個外部電阻就能設置放大倍數為1-1000的儀表放大器,具有良好的直流性能和交流性能,AD620的體積小、功耗低成為應用在壓力傳感器中的重要因素,傳感器信號放大電路如圖5所示。

圖5 傳感器信號放大電路
3.3 電壓信號數字化和顯示
放大後的模擬電壓經過A/D轉換器實現模擬量到數字量的轉換。A/D轉換結果通過計數譯碼電路變換成7段譯碼,最後驅動顯示出相應的數值, 傳感器驅動顯示電路方框圖如圖6所示。

圖6 傳感器驅動顯示電路
選用雙積分A/D轉換器MC14433構成3 1/2的數字電壓顯示, 采用動態掃描顯示有多路調製的BCD碼輸出和超量程輸出端,便於實現自動控製。MC1413為集成電路驅動器, 它含有7個反相驅動單元,各單元采用達林頓晶體管電路。CC4511為7段譯碼驅動。MC14433提供輸出可調的基準電壓, 當基準電壓為一定值時,輸出電壓範圍為定值。
4. 結束語
汽車壓力傳感器在輪胎方麵的應用正在不斷地改進, qizhongyouhenduozhongfangshi,rucaiyongwuxiandianfashehejieshoufangshilaiceliangqiyadegaodi。qicheyalichuanganqidepinzhongzhengzaibuduandizengjia,gongnengzhengzaibuduandiwanshan。yibandishuolai,kaiguanshichuanganqizhujianbeixianxingyalichuanganqitidai, 普通性的逐漸被高性能、多功能的傳感器取代,模擬式壓力傳感器逐漸被數字式傳感器、智能化傳感器取代。
特別推薦
- 噪聲中提取真值!瑞盟科技推出MSA2240電流檢測芯片賦能多元高端測量場景
- 10MHz高頻運行!氮矽科技發布集成驅動GaN芯片,助力電源能效再攀新高
- 失真度僅0.002%!力芯微推出超低內阻、超低失真4PST模擬開關
- 一“芯”雙電!聖邦微電子發布雙輸出電源芯片,簡化AFE與音頻設計
- 一機適配萬端:金升陽推出1200W可編程電源,賦能高端裝備製造
技術文章更多>>
- 邊緣AI的發展為更智能、更可持續的技術鋪平道路
- 每台智能體PC,都是AI時代的新入口
- IAR作為Qt Group獨立BU攜兩項重磅汽車電子應用開發方案首秀北京車展
- 構建具有網絡彈性的嵌入式係統:來自行業領袖的洞見
- 數字化的線性穩壓器
技術白皮書下載更多>>
- 車規與基於V2X的車輛協同主動避撞技術展望
- 數字隔離助力新能源汽車安全隔離的新挑戰
- 汽車模塊拋負載的解決方案
- 車用連接器的安全創新應用
- Melexis Actuators Business Unit
- Position / Current Sensors - Triaxis Hall
熱門搜索
Future
GFIVE
GPS
GPU
Harting
HDMI
HDMI連接器
HD監控
HID燈
I/O處理器
IC
IC插座
IDT
IGBT
in-cell
Intersil
IP監控
iWatt
Keithley
Kemet
Knowles
Lattice
LCD
LCD模組
LCR測試儀
lc振蕩器
Lecroy
LED
LED保護元件
LED背光





