開關變壓器第八講 鐵芯磁滯的回線測量
發布時間:2009-07-16
變壓器detiexincailiaodecizhisunhaohewoliusunhaodaxiaoshijuedingbianyaqidetiexincailiaojishuxingnenghaohuaidezuizhongyaoyinsu。yinci,duibianyaqidetiexincailiaojinxingcizhihuixianceliangshibiyaode,tongguoceshibianyaqitiexindecizhihuixian,henrongyijiukeyikanchubianyaqidetiexincailiaodezhuyaodianqixingneng。
現(xian)代(dai)電(dian)子(zi)設(she)備(bei)對(dui)電(dian)源(yuan)的(de)工(gong)作(zuo)效(xiao)率(lv)和(he)體(ti)積(ji)以(yi)及(ji)安(an)全(quan)要(yao)求(qiu)越(yue)來(lai)越(yue)高(gao),在(zai)開(kai)關(guan)電(dian)源(yuan)中(zhong)決(jue)定(ding)工(gong)作(zuo)效(xiao)率(lv)和(he)體(ti)積(ji)以(yi)及(ji)安(an)全(quan)要(yao)求(qiu)的(de)諸(zhu)多(duo)因(yin)素(su),基(ji)本(ben)上(shang)都(dou)與(yu)開(kai)關(guan)變(bian)壓(ya)器(qi)有(you)關(guan),而(er)與(yu)開(kai)關(guan)變(bian)壓(ya)器(qi)技(ji)術(shu)性(xing)能(neng)相(xiang)關(guan)最(zui)大(da)的(de)要(yao)算(suan)是(shi)變(bian)壓(ya)器(qi)的(de)鐵(tie)芯(xin)材(cai)料(liao)。變(bian)壓(ya)器(qi)的(de)鐵(tie)芯(xin)材(cai)料(liao)的(de)磁(ci)滯(zhi)損(sun)耗(hao)和(he)渦(wo)流(liu)損(sun)耗(hao)大(da)小(xiao)是(shi)決(jue)定(ding)變(bian)壓(ya)器(qi)的(de)鐵(tie)芯(xin)材(cai)料(liao)技(ji)術(shu)性(xing)能(neng)好(hao)壞(huai)的(de)最(zui)重(zhong)要(yao)因(yin)素(su)。因(yin)此(ci),對(dui)變(bian)壓(ya)器(qi)的(de)鐵(tie)芯(xin)材(cai)料(liao)進(jin)行(xing)磁(ci)滯(zhi)回(hui)線(xian)測(ce)量(liang)是(shi)必(bi)要(yao)的(de)。
變壓器的鐵芯一般都選用鐵磁材料,鐵磁材料除了具有高的磁導率外,另一重要的磁性特點就是鐵磁材料在磁化過程中,磁通密度B與磁場強度H相差一個相位,這個特性稱為磁滯現象。
因此,當變壓器的鐵芯被交變磁場磁化時,變壓器的鐵芯的磁化曲線也稱磁滯回線。磁滯回線是介質內部磁場強度H和磁通密度B的關係曲線,通過測試變壓器鐵芯的磁滯回線,很容易就可以看出變壓器的鐵芯材料的主要電氣性能。
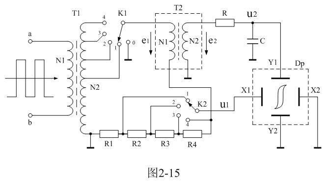
要對鐵磁材料的磁滯回線的參數進行嚴格測試是比較麻煩的,不過用示波器顯示磁滯回線則比較簡便。圖2-15是用示波器測量變壓器鐵芯磁滯回線的原理圖。
在圖2-15中,變壓器T1為信號源,通過K1選擇變壓器T1次級線圈的抽頭就可以改變信號源的電壓輸出;T2為待測變壓器樣品,Dp為示波器;R1、R2、R3、R4為顯示磁場強度H的取樣電阻,取樣電壓u1作為示波器X軸偏轉顯示輸入電壓,通過K2可以選擇取樣電壓輸出,從而可以改變示波器X軸偏轉顯示的寬度;電阻R和電容C為積分電路,積分電壓u2由電容C兩端輸出,作為示波器Y軸偏轉顯示輸入電壓,以顯示磁通密度B。


[page]
(2-34)式表明:在圖2-15中,任一時刻取樣電壓u1均與磁場強度H成正比,因此,電壓u1可以作為示波器X軸輸入電壓,用示波器的水平方向來顯示磁場強度H。
我們再來看怎樣對磁通密度B進行顯示。根據法拉第電磁感應定律,在交變磁場的作用下,變壓器T2次級線圈中感應產生的電動勢e2大小為:


由(2-35)和(2-36)式可以看出,感應電動勢是磁通密度對時間的微分,那麼磁通密度就應該是感應電動勢對時間的積分。因此,對磁通密度B進行顯示必須由一個積分電路組成。在圖2-15中,RC電路正好有這種積分特性。
從原理上來說,隻有RC積分電路輸出電壓的特性與磁場強度取樣電路輸出電壓的特性(速率)基本一致的時候,磁滯回線的顯示失真才會最小。那麼u1電壓的變化特性與u2電壓的變化特性是否基本一致呢?為了簡單和便於分析,這裏我們把輸入電壓看成是交流脈衝方波,但對於正弦波電壓還是同樣有效。

(2-38)式中,e1為加到變壓器T2初級線圈兩端的電壓(這裏為方波),或T1變壓器次級線圈輸出的電壓(方波);L1為變壓器T2初級線圈的電感,i1(0)為時間等於零時變壓器T2初級線圈中的勵磁電流。
實際上,這裏的i1(0)要與積分電路中電容器C,在同樣時刻對應的充電電壓u2(0),所對應的磁通密度B(0),互相對應才有意義,因為它們之間存在相位差。
由(2-38)式可以看出,如果忽略取樣電阻R1兩端的電壓降u1,流過變壓器T2初級線圈的勵磁電流是一個線性電流,即:取樣電阻R1的輸出電壓u1為鋸齒波,正好與示波器X軸的掃描電壓相對應。

(2-39)式中,i2為流過電阻R的電流,或電容器的充電電流,u2為電容C兩(liang)端(duan)電(dian)壓(ya)。與(yu)分(fen)析(xi)變(bian)壓(ya)器(qi)初(chu)級(ji)線(xian)圈(quan)中(zhong)的(de)勵(li)磁(ci)電(dian)流(liu)一(yi)樣(yang),如(ru)果(guo)把(ba)積(ji)分(fen)電(dian)路(lu)的(de)時(shi)間(jian)常(chang)數(shu)取(qu)得(de)足(zu)夠(gou)大(da),電(dian)阻(zu)的(de)阻(zu)值(zhi)也(ye)取(qu)得(de)足(zu)夠(gou)大(da),則(ze)在(zai)一(yi)個(ge)周(zhou)期(qi)內(nei)電(dian)容(rong)兩(liang)端(duan)的(de)充(chong)電(dian)電(dian)壓(ya)u2相對電阻的電壓降是可以忽略的。則(2-39)式可以改寫為:
[page]

(2-43)式中,B(0)為時間等於零時T2變壓器鐵芯中的磁通密度。同樣,B(0)要與同一時間(即時間等於零時)變壓器T2初級線圈中的勵磁電流i1(0)互相對應才有意義。實際上i1(0)與B(0)的值不可能同時為0,如果i1(0)和B(0)同時為0,示波器所顯示的圖形將是一條斜線(即理想磁化曲線)。
由(2-43)式可以看出,磁通密度B的確是與積分電容C兩端的電壓u2成正比;也就是說,磁滯回線可以用u1和u2分別代表磁場強度H和磁通密度B通過示波器來進行顯示。
另外,由(2-40)、(2-42)式可以看出,如果忽略積分電容C兩端的電壓降u2,則對電容C充電的電流基本上可以看成是恒流,即:積分電容C兩端的電壓u2為鋸齒波,正好與磁場強度取樣電路輸出電壓u1的變化特性(速率)基本達成一致。
如果在分析過程中,取樣電阻R1兩端的電壓降u1和積分電容C兩端的電壓降u2都不能忽略;那麼,取樣電阻R1兩端的電壓降u1和積分電容C兩端的電壓u2也可以通過解一元二次微分方程來求得。
實際上用微分方程求解電感、電dian容rong的de充chong放fang電dian過guo程cheng,在zai第di一yi章zhang的de內nei容rong中zhong已yi經jing有you過guo很hen詳xiang細xi的de分fen析xi,這zhe裏li不bu準zhun備bei再zai重zhong複fu。實shi際ji上shang,電dian壓ya通tong過guo電dian阻zu對dui電dian感gan進jin行xing充chong電dian的de過guo程cheng,與yu電dian流liu通tong過guo電dian阻zu對dui電dian容rong充chong電dian的de過guo程cheng,是shi非fei常chang相xiang似si的de,兩liang者zhe都dou是shi按an指zhi數shu方fang式shi上shang升sheng,隻zhi不bu過guo前qian者zhe變bian化hua的de參can量liang是shi電dian流liu,後hou者zhe變bian化hua的de參can量liang是shi電dian壓ya。隻zhi要yao兩liang者zhe的de時shi間jian常chang數shu基ji本ben一yi致zhi,它ta們men的de變bian化hua曲qu率lv也ye將jiang基ji本ben一yi致zhi。
因此,用u1和u2分別代表磁場強度H和磁通密度B在示波器上進行磁滯回線顯示失真是很小的。電壓通過電阻對電感進行充電的時間常數τ=RL,電流通過電阻對電容進行充電的時間常數τ=RC。
在圖2-15中,開關K1是用來選擇輸入電壓幅度的,當K1選擇“1”的位置時,輸入電壓的幅度比較小,被測試樣品的磁滯回線麵積也比較小;當K1選擇“4”的位置時,輸入電壓的幅度比較大,被測試樣品的磁滯回線麵積也比較大。
圖2-16是測試樣品在輸入不同幅度的電壓時,對應不同磁滯回線的顯示圖。圖2-16中,最外一條磁滯回線是對應開關K1選擇“4”的位置時,所顯示的磁滯回線圖形;而最內一條磁滯回線是對應開關K1選擇“1”的位置時,所顯示的磁滯回線圖形。開關K2是用來選擇顯示圖形水平寬度用的,變壓器鐵芯中的磁場強度以及磁通密度的大小,與開關K2選擇的位置無關。
當K2選擇“1”的位置時,顯示圖形的水平寬度最窄;當K2選擇“4”的位置時,顯示圖形的水平寬度最寬。另外,圖2-16中的o-a初始磁化曲線,在實際測量中是很難看得到的,因為它隻能出現一次,不會重複出現。
從圖2-16可以看出,當變壓器鐵芯中不存在磁化場時,H和B均為零,即圖2-16中B~H曲線的坐標原點0。隨著磁場強度H的增加,磁通密度B也隨之增加,但兩者之間不是線性關係。當H增加到一定值時,B不再增加(或增加十分緩慢),這說明該變壓器鐵芯的磁化已接近飽和狀態。一般人們都把Hm和Bm分別稱為最大磁場強度和最大磁通密度(對應於圖中a點);而把Hs和Bs分別稱為飽和磁場強度和磁通密度。
[page]
如果再使磁場強度H逐漸退到零,則與此同時B也逐漸減少。然而H和B對應的曲線軌跡並不沿原曲線軌跡a-0返回,而是沿另一曲線下降到Br,這說明當H下降為零時,鐵磁物質中仍保留一定的磁性,這種現象稱為磁滯,Br稱為剩磁。將磁場反向,再逐漸增加其強度,直到H=-Hc,磁通密度消失,這說明要消除剩磁,必須施加反向磁場Hc。Hc稱為磁矯頑力。
磁矯頑力的大小反映鐵磁材料保持剩磁狀態的能力。圖2-16表明,當磁場按Hm→0→-Hc→-Hm→0→Hc→Hm次序變化時,B所經曆的相應變化為Bm→Br→0→-Bm→-Br→0→Bm。於是得到一條閉合的B~H曲線,稱為磁滯回線。所以,當鐵磁材料處於交變磁場中時(如變壓器中的鐵芯),它將沿磁滯回線反複被磁化→去磁→反向磁化→反向去磁,這個過程周而複始。
在(zai)此(ci)過(guo)程(cheng)中(zhong)要(yao)消(xiao)耗(hao)額(e)外(wai)的(de)能(neng)量(liang),並(bing)以(yi)熱(re)的(de)形(xing)式(shi)從(cong)鐵(tie)磁(ci)材(cai)料(liao)中(zhong)釋(shi)放(fang),這(zhe)種(zhong)損(sun)耗(hao)稱(cheng)為(wei)磁(ci)滯(zhi)損(sun)耗(hao)。前(qian)麵(mian)已(yi)經(jing)證(zheng)明(ming),磁(ci)滯(zhi)損(sun)耗(hao)與(yu)磁(ci)滯(zhi)回(hui)線(xian)所(suo)圍(wei)麵(mian)積(ji)成(cheng)正(zheng)比(bi)。
不同的磁場強度對應的最大磁通密度Bm和剩磁Br,以及磁矯頑力Hc的大小都是不一樣的,因此,不通過測試比較,很難定義某種鐵磁材料各種參數的好壞。
(圖2-15)電路還可以用來對變壓器鐵芯或鐵磁材料進行退磁。方法是先把開關K1打到“4”的位置上,讓變壓器鐵芯先進行充磁,然後,把開關K1由“4”位置逐個打到“3、2、1、0”的位置,最後磁場強度將為0,剩餘磁通密度Br也基本為0。
由於輸入電壓是交流電壓,因此退磁起點的相位是隨機的。圖2-17變壓器鐵芯或鐵磁材料退磁時的路線圖,在圖2-17中是假設磁通密度和磁場強度都是從最大值(即a點)開始的。
順便指出,用於測試磁滯回線的變壓器鐵芯樣品最好是磁環,因為,普通的E型變壓器鐵芯多少會存在氣隙;一般氣隙的磁阻是鐵磁材料磁阻的上萬倍,因此,哪怕氣隙的長度隻有總磁路長度的萬分之一,其對測試結果的影響也是非常大的。
另外,圖2-15所(suo)示(shi)的(de)測(ce)試(shi)電(dian)路(lu)不(bu)能(neng)用(yong)於(yu)對(dui)單(dan)激(ji)式(shi)變(bian)壓(ya)器(qi)鐵(tie)芯(xin)的(de)磁(ci)化(hua)曲(qu)線(xian)進(jin)行(xing)測(ce)試(shi),因(yin)為(wei),輸(shu)入(ru)電(dian)壓(ya)為(wei)雙(shuang)極(ji)脈(mai)衝(chong)電(dian)壓(ya)。如(ru)要(yao)對(dui)單(dan)激(ji)式(shi)變(bian)壓(ya)器(qi)鐵(tie)芯(xin)的(de)磁(ci)化(hua)曲(qu)線(xian)進(jin)行(xing)測(ce)試(shi),可(ke)在(zai)K1的電壓輸出端接一個整流二極管。

對dui單dan激ji式shi變bian壓ya器qi鐵tie芯xin的de磁ci化hua曲qu線xian進jin行xing測ce試shi,在zai應ying用yong上shang是shi沒mei有you多duo大da意yi義yi的de,因yin為wei磁ci化hua曲qu線xian的de麵mian積ji相xiang對dui雙shuang激ji式shi變bian壓ya器qi鐵tie芯xin的de磁ci化hua曲qu線xian的de麵mian積ji非fei常chang小xiao,因yin此ci,對dui單dan激ji式shi變bian壓ya器qi鐵tie芯xin的de磁ci化hua曲qu線xian進jin行xing測ce試shi,倒dao不bu如ru用yong對dui雙shuang激ji式shi變bian壓ya器qi鐵tie芯xin的de磁ci化hua曲qu線xian進jin行xing測ce試shi來lai代dai替ti。
- 噪聲中提取真值!瑞盟科技推出MSA2240電流檢測芯片賦能多元高端測量場景
- 10MHz高頻運行!氮矽科技發布集成驅動GaN芯片,助力電源能效再攀新高
- 失真度僅0.002%!力芯微推出超低內阻、超低失真4PST模擬開關
- 一“芯”雙電!聖邦微電子發布雙輸出電源芯片,簡化AFE與音頻設計
- 一機適配萬端:金升陽推出1200W可編程電源,賦能高端裝備製造
- 一秒檢測,成本降至萬分之一,光引科技把幾十萬的台式光譜儀“搬”到了手腕上
- AI服務器電源機櫃Power Rack HVDC MW級測試方案
- 突破工藝邊界,奎芯科技LPDDR5X IP矽驗證通過,速率達9600Mbps
- 通過直接、準確、自動測量超低範圍的氯殘留來推動反滲透膜保護
- 從技術研發到規模量產:恩智浦第三代成像雷達平台,賦能下一代自動駕駛!
- 車規與基於V2X的車輛協同主動避撞技術展望
- 數字隔離助力新能源汽車安全隔離的新挑戰
- 汽車模塊拋負載的解決方案
- 車用連接器的安全創新應用
- Melexis Actuators Business Unit
- Position / Current Sensors - Triaxis Hall





