便攜式電子產品的電路保護
發布時間:2009-06-08 來源:中華電子網
中心議題:
- 便攜式電子產品中電路保護的重要性
- 保護原件的種類和工作原理
- 新型過壓器件的應用
解決方法:
- 在線路中應用MLV、PESD、PolySwitchTM元件
在電子產品中最重要的設計工作是電路設計。電路可分為兩類:功能電路和保護電路。功能電路(如電源電路、振蕩器電路、A/D變換電路等)是用來實現電子產品各種功能的;而保護電路(過流保護電路、過壓保護電路及過流、過壓保護電路)是用來保護功能電路,以實現電子產品的安全性、可靠性及耐用性的。
近年來,便攜式電子產品發展迅速,如MP3、MP4、PMP、DVD、數碼相機及攝像機,筆記本電腦、上網本(一種小型筆記本電腦)和智能手機等。這些便攜式電子產品的主要特點是功能多、電路複雜、工作頻率高、頻帶寬、信號傳輸率高,並且體積小(全部采用SMD元器件),這對電路保護提出了更高的設計要求。
在手機、筆記本電腦一類便攜式電子產品中,由於其工作頻率高、頻帶寬、要求高數據傳輸速率,電路保護設計的優劣就不僅涉及電子產品的安全性、可靠性和耐用性,同時也涉及到電子產品的性能質量及成本。所以,電路保護是電子產品設計的重要工作。
電路保護的重要性
現在的便攜式電子產品中,電路保護的範圍極寬,數量也多。這裏舉兩個典型便攜式電子產品來說明電路保護的重要性。
1 手機
手機的發展從單一的通話到能實現聽音樂、拍照、上網、看電視、GPS等功能的智能手機,電路愈加複雜,而相應的保護電路範圍也不斷擴展。

圖1 手機中需要保護的部件
2 筆記本電腦
筆記本電腦已成為一種時尚的便攜式電子產品,最近開發出的“上網本”更受到年輕人的青睞。筆記本電腦比手機更複雜,其需要保護的部件範圍更廣(見圖2)。

圖2 筆記本電腦中需要保護的部件
這裏要說明的是,圖1及圖2中的便攜式電子產品還不是最新的產品,但也能看出來電路保護的範圍之廣及數量之多,可見保護電路在這些產品中的重要性。
正是這些保護元器件才實現了電子產品的安全性、可靠性和耐用性,並且減少了用戶的維修次數、維修費用及設有手機及筆記本電腦對工作帶來的影響。
保護元器件的種類及工作原理
保護元器件分為三類:過流保護、過壓保護及過流、過壓保護。它們的基本工作原理如下。
1、過流保護
過流保護元件是一種非線性正溫度係數熱敏電阻(PPTC),如圖3suoshi。yidanyouguoliuzhuangtaichuxian,guodadedianliurangbaohuyuanjianfareshizuzhifashengbianhua,youdizutaiyuebianweigaozutai,congerxianzhidianliu,shibeibaohudedianlumianshouguoliusunhuai;在zai過guo流liu故gu障zhang排pai除chu後hou,保bao護hu元yuan件jian冷leng卻que,自zi動dong由you高gao阻zu態tai轉zhuan變bian為wei低di阻zu態tai,恢hui複fu正zheng常chang工gong作zuo。這zhe種zhong保bao護hu元yuan件jian稱cheng為wei自zi複fu式shi過guo流liu保bao護hu元yuan件jian,如ru泰tai科ke電dian子zi公gong司si的dePolySwitchTM元件。

圖3 PolySwitchTM元件工作電路 [page]
2、過壓保護
過壓保護元器件並聯在被保護的電路上(見圖4)。在輸入電壓未過壓時,過壓保護元器件呈高阻態,其泄漏電流甚微;yidanshurudianyaguoyashi,guoyabaohuyuanqijianzaishunjiantigongdizukangtonglu,bingjiangdianyaqianweiyuanquandedidianya,congerbaohudianlumianshouguoyasunhai。dangshurudianyajiangluodaozhengchanggongzuodianyashi,guoyabaohuyuanqijianhuizidonghuifudaogaozutai。taikedianzigongsideduocengyamindianzu(MLV)及ESD保護元件PESD就是常用的過壓保護元件。

圖4 過壓保護元件工作電路
3、過流、過壓保護
過流、過壓保護器件是過流保護元件與過壓保護元件組成的模塊(集成電路),如圖5所示。它能在輸入電壓過壓或由於短路造成過流故障時,保護電路不受損害。

圖5 過流、過壓保護器件工作電路
便攜式產品的保護元器件的特點
為滿足便攜式電子產品對保護元器件的要求,保護元器件應具有下述特點。
1、性能
● 響應時間要短;
● 自身的功耗要小,可延長電池壽命;
● 性能穩定,並且壽命長;
● 不影響被保護電路的性能;
● 滿足對環境的要求(無鉛,符合RoHs規範)。
2、封裝及尺寸
● 貼片式(SMD)封裝,滿足SMT要求;
● 封裝尺寸小(占PCB麵積小)及剖麵高度小。
3、其他
● 可以采用回流焊焊接工藝;
● 價格低,降低產品成本。
PolySwitchTM元件及其應用電路
PolySwitchTM元件是一種自複式聚合物非線性正溫度係數(PPTC)熱敏電阻。
PolySwitchTM元件的主要參數:在未過流時,其電阻值很小(不同的額定電壓下阻值不同,一般為零點幾Ω到幾Ω);在過流發生時,其電阻值可達mΩ,電流極小接近“斷開”,且斷開時間(time-to-trip)更短。
該元件的封裝尺寸小;電流為0.05~3A;電壓為6~60V;常態時阻值小;通過UL、CSA。
該元件應用範圍極廣,主要為計算機、便攜式電子產品、多媒體、遊戲機、移動電話,同時也適用於汽車、工業控製及電池等。

圖6 用PolySwitchTM元件實現過流保護
PolySwitchTM元件在便攜式電子產品適配器(外接電源)中的過流保護如圖6所示。圖中結構用了兩個PolySwitchTM器件,可防止短路時損壞適配器。

圖7 用PolySwitchTM元件對充電器進行保護
充電器是便攜式電子產品中是必要的附件,圖7是充電器中PolySwitchTM元件的應用。圖7中的虛線框內是電池組,PolySwitchTM元件在其中作充、放電過流保護。[page]
MLV、PESD及其應用電路
MLV、PESD都是過壓保護元器,它們除用過壓保護外,也是靜電放電(ESD)保護元件。在插拔便攜式產品的各種插頭時,各端口很容易受到靜電放電的損壞,因此插拔端口都需要加ESD保護元器件。
在傳輸信號的端口上增加ESD保護元器可以防止靜電放電的損害,但由於ESD保護元器自身有一定的電容,在高速信號傳輸過程中,會造成信號的衰減及失真。所以,高速數據傳輸端口的ESD保護元器件的正確選擇十分重要。
MLV的電容量較大(40~220pF),主要用於直流及數據傳輸率較低的端口。但MLV中的“E”係列,其電容量較小,僅3~12pF,可以適用於較高的數據傳輸速率的端口作ESD保護。
PESD是專門為高數據傳輸率端口作ESD保護所開發的保護元件。由於它的電容量極低(0.25pF),所以能滿足IEEE1394及HDMI1.3的要求,在高速數據傳輸時滿足了信號傳輸質量。因此在高清電視、LCD等離子電視、筆記本電腦和手機等產品中都采用PESD作ESD保護元件。

圖8 PESD的抑製特性曲線
ESD的主要特性:泄露電流要小,響應時間要短(<1ns),相位電壓要低,電容量要小。
PESD有倆種型號:PESD0603-240及PESD0402-140,其電氣特性如表1所示,其抑製特性曲線如圖8所示。

ESD元件最重要的參數是電容量。一般MLV的電容量是40~220pf,E係列的電容量是3~12pf;而PESD的電容量僅為0.25pf。

圖9 2.25GHz下的ESD保護元件眼圖

圖10 3.4GHz下的PESD眼圖

圖11 顯示端口保護電路
不同工作頻率及要求ESD保護元件的電容量關係如表2所示。常用的ESD保護元件比較如表3所示。[page]
采用矽ESD保護元件在2.25GHz時的眼圖如圖9所示,而采用PESD元件在3.4GHz時的眼圖如圖10所示,這兩圖的比較說明了PESD的優良性能。
圖11是一種典型的顯示端口保護電路。2.7GHz的高頻信號線采用8個PESD保護元件,輔助通道工作頻率為1MHz,采用5個MLV保護元件;在低壓直流電源中則采用了PolySwitchTM元件作過流保護。這樣的設計既滿足電路能耗要求,並且降低了成本。

圖12 USB2.0接口保護電路

圖13 IEEE1394接口保護電路
圖12及圖13分別是USB2.0接口電路的保護電路設計及IEEE1394接口電路的保護電路設計。
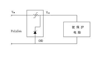
PolyZenTM元件及其應用電路
PolyZenTM元件器件是由精密齊納二極管和聚合物正溫度係數(PPTC)元件組合而成的集成電路。它是用於防止感應尖峰電壓、瞬間高電壓、錯用電源適配器對電路產生過壓、過流危害的保護器件,內部結構如圖14所示。其典型應用電路如圖15所示。在圖15中,RLOAD為被保護的下遊電路。

圖14 PolyZenTM元件內部結構

圖15 PolyZenTM元件典型應用電路
在正常工作時,VIN輸入電壓高於齊納二極管的擊穿電壓VZ,有IFLT電流經齊納二極管到地,VOUT輸出穩定的電壓。有不正常的過壓輸入VIN 時,則齊納二極管的IFLT會產生過流,當器件上有過流時,其電阻由低阻態瞬變到高阻態,使在其上的壓降大增,VOUT輸出基本不變,而流過齊納二極管的電流IFLT反而減小,如圖16所示。器件上電壓降的增大既保護了齊納二極管,又保護了下遊的電路。另外,若被保護的下遊電路中存在有局部短路或短路故障時,IOUT會增加,PPTC元件由低阻態變成高阻態,可使電路得到過流保護。
在正常工作時,VIN輸入電壓高於齊納二極管的擊穿電壓VZ,有IFLT電流經齊納二極管到地,VOUT輸出穩定的電壓。有不正常的過壓輸入 VIN時,則齊納二極管的IFLT會產生過流,當器件上有過流時,其電阻由低阻態瞬變到高阻態,使在其上的壓降大增,VOUT輸出基本不變,而流過齊納二極管的電流IFLT反而減小,如圖16所示。器件上電壓降的增大既保護了齊納二極管,又保護了下遊的電路。另外,若被保護的下遊電路中存在有局部短路或短路故障時,IOUT會增加,PPTC元件由低阻態變成高阻態,可使電路得到過流保護。

圖16 PolyZenTM元件工作時的電壓或電流變化
該器件的主要特點:保護下遊電子元器件免受過壓及反向偏壓的損害(例如5V的適配器錯用了12V的適配器或極性接反);由於PPTC元件的作用,減少了齊納二極管散熱的要求,減小占PCB的麵積及降低成本;在過壓故障時,VOUT輸出基本不變;齊納二極管的耐受能量大,可達30W;小尺寸貼片或4mm×4mm封裝。
該器件主要應用於便攜式多媒體播放器(PMP)、GPS、5V和12V硬型驅動器的總線保護、USB5V總線保護等。
該器件有9個品種,其電氣特性如表4所示。其中,ZEN132V230A16LS及ZEN056V075ALS是即將上市的新產品。
結語
由於電路保護元器件看起來是一些結構簡單的元器件,往往不被人重視。在眾多電路書籍中,沒有介紹保護電路或僅介紹幾種老產品(如保險絲、氧化鋅壓敏電阻及TVS),這方麵的技術書籍跟不上產品的發展的需要,所以資料的來源主要是電路保護元器件生產廠商的數據資料及應用指南。
由you於yu篇pian幅fu所suo限xian,本ben文wen僅jin簡jian單dan地di介jie紹shao了le泰tai科ke電dian子zi公gong司si幾ji種zhong應ying用yong在zai便bian攜xie式shi電dian子zi產chan品pin中zhong的de保bao護hu原yuan器qi件jian。另ling外wai,保bao護hu元yuan器qi件jian的de應ying用yong範fan圍wei極ji寬kuan,除chu便bian攜xie式shi電dian子zi產chan品pin外wai,還hai有you通tong信xin、汽車、醫療儀器、家用電器、工業控製等領域。
- 噪聲中提取真值!瑞盟科技推出MSA2240電流檢測芯片賦能多元高端測量場景
- 10MHz高頻運行!氮矽科技發布集成驅動GaN芯片,助力電源能效再攀新高
- 失真度僅0.002%!力芯微推出超低內阻、超低失真4PST模擬開關
- 一“芯”雙電!聖邦微電子發布雙輸出電源芯片,簡化AFE與音頻設計
- 一機適配萬端:金升陽推出1200W可編程電源,賦能高端裝備製造
- 一秒檢測,成本降至萬分之一,光引科技把幾十萬的台式光譜儀“搬”到了手腕上
- AI服務器電源機櫃Power Rack HVDC MW級測試方案
- 突破工藝邊界,奎芯科技LPDDR5X IP矽驗證通過,速率達9600Mbps
- 通過直接、準確、自動測量超低範圍的氯殘留來推動反滲透膜保護
- 從技術研發到規模量產:恩智浦第三代成像雷達平台,賦能下一代自動駕駛!
- 車規與基於V2X的車輛協同主動避撞技術展望
- 數字隔離助力新能源汽車安全隔離的新挑戰
- 汽車模塊拋負載的解決方案
- 車用連接器的安全創新應用
- Melexis Actuators Business Unit
- Position / Current Sensors - Triaxis Hall



