小功率三極管自動判斷管腳的電路設計方案
發布時間:2016-05-20 責任編輯:wenwei
【導讀】測量三極管管腳的方法有多種,其中實驗室常用的是利用萬用表和三極管各管腳的特點進行測量,但由於三極管各個引腳間的電壓、電流關係複雜,且三極管本身體積較小,給測量帶來很大不便,而目前市場上還沒有對三極管管腳、類型自動判別的裝置。因此,設計出一款能夠自動判別三極管管腳、類型的電路顯得尤為重要。
1硬件電路組成原理
根據目前常用三極管的類型及管腳排列方式,設計的自動判別電路包含中心控製單元、轉換電路、檢測放大電路和顯示電路四個部分,如圖1所示,其中用AT89C2051作為中心控製單元。

圖1判別儀的係統方框圖
2硬件電路設計
圖2所示為三極管管腳類型自動判別硬件電路原理圖,該硬件電路主要包括單片機AT89C2051、反相器CD4069、光電耦合器4N25、74LS06、74LS07、若幹電阻和電容等元器件。
圖2判別電路原理圖
首先由單片機的P3.0~P3.2口送出三位二進製碼(高低不同的電平),分別送至三極管的1、2、3號引腳。對於不同的三極管,在單片機送出不同的編碼時,其1、2、3haoyinjiaoshangdedianliufangxiangbutong,youliuruheliuchuliangzhongqingkuang,yongliangzhiguangdianouheqifanxiangbinglianlaijiancenagefangxiangshangyoudianliutongguo,cishisanweierjinzhimabianchengliuweierjinzhima。jiangjiancedaodelaiziguangdianouheqidedianxinhaojinxingfangda,youyucishishuchudexinhaobingfeibiaozhundegaodidianping,bunengzhijiebeidanpianjishibie,xiangweiyebufuheyaoqiu,gujiayijifanxiangqiCD4069進行反相,然後將反相器輸出的標準的六位二進製碼送至單片機的P1.0~P1.5口。單片機根據從P1口讀出的數據與單片機內部預先寫入的數據進行比較,當滿足相應的條件時從P3.3~P3.7口輸出檢測結果,最後用發光二極管來顯示對應的三極管類型。
3軟件設計
由於常用的中小功率三極管中NPN的三極管管腳排列順序有EBC、ECB、BCE三種(有極少數例外,可忽略不計),而PNP的隻有EBC一(yi)種(zhong)排(pai)列(lie)順(shun)序(xu)。所(suo)以(yi),按(an)照(zhao)此(ci)規(gui)律(lv)進(jin)行(xing)軟(ruan)件(jian)的(de)編(bian)寫(xie)。總(zong)體(ti)編(bian)程(cheng)思(si)想(xiang)是(shi)在(zai)各(ge)種(zhong)不(bu)同(tong)管(guan)腳(jiao)排(pai)列(lie)順(shun)序(xu)的(de)三(san)極(ji)管(guan)三(san)個(ge)管(guan)腳(jiao)上(shang)加(jia)上(shang)不(bu)同(tong)電(dian)壓(ya),測(ce)試(shi)其(qi)電(dian)流(liu)情(qing)況(kuang)並(bing)將(jiang)其(qi)轉(zhuan)化(hua)為(wei)二(er)進(jin)製(zhi)碼(ma)。將(jiang)這(zhe)些(xie)二(er)進(jin)製(zhi)碼(ma)寫(xie)入(ru)單(dan)片(pian)機(ji),外(wai)部(bu)輸(shu)入(ru)的(de)數(shu)據(ju)與(yu)單(dan)片(pian)機(ji)內(nei)部(bu)的(de)二(er)進(jin)製(zhi)碼(ma)進(jin)行(xing)比(bi)較(jiao),如(ru)果(guo)讀(du)入(ru)數(shu)據(ju)與(yu)內(nei)部(bu)事(shi)先(xian)寫(xie)入(ru)的(de)某(mou)個(ge)數(shu)據(ju)相(xiang)等(deng),則(ze)所(suo)測(ce)的(de)三(san)極(ji)管(guan)就(jiu)為(wei)這(zhe)個(ge)數(shu)據(ju)所(suo)對(dui)應(ying)的(de)三(san)極(ji)管(guan)的(de)管(guan)型(xing)和(he)管(guan)腳(jiao),然(ran)後(hou)用(yong)對(dui)應(ying)的(de)發(fa)光(guang)二(er)極(ji)管(guan)點(dian)亮(liang)指(zhi)示(shi)出(chu)管(guan)型(xing)、管腳。
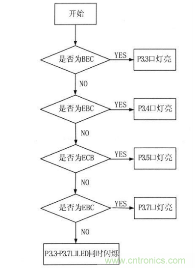
軟件主程序流程圖如圖3所示。

圖3程序流程圖
對應的程序為:





圖4所示為製作的PCB板圖,實物製作成功後,取一隻三極管,將管腳按1、2、3順序插入產品的測試孔中,保證接觸良好,然後按下電源鍵,係統自動複位後運行,由LED指示出所測三極管對應的管型和管腳。LED燈的順序與管腳管型是一一對應的,若左邊第一隻LED燈亮則所測三極管為NPN型,管腳排列順序為BEC;若左邊第二隻LED燈亮則所測三極管為PNP型,管腳排列順序為EBC;若左邊第三隻LED燈亮則所測三極管為NPN型,管腳排列順序為ECB;若左邊第四隻LED燈亮則所測三極管為NPN型,管腳排列順序為EBC;若四隻LED燈同時閃爍則可能是被測三極管已壞或有引腳接觸不良,單片機中未寫該管型對應的程序。

在製作實物的過程中,可以從左至右依次在LED燈的一側標明所對應的管腳和類型,也可以用不同顏色的LED燈來顯示不同的管腳和管型。
4結論
根(gen)據(ju)硬(ying)件(jian)電(dian)路(lu)和(he)軟(ruan)件(jian)設(she)計(ji)進(jin)行(xing)電(dian)路(lu)的(de)焊(han)接(jie)和(he)調(tiao)試(shi),設(she)計(ji)所(suo)得(de)的(de)判(pan)別(bie)儀(yi)可(ke)以(yi)快(kuai)速(su)準(zhun)確(que)地(di)判(pan)斷(duan)小(xiao)功(gong)率(lv)三(san)極(ji)管(guan)的(de)管(guan)腳(jiao)和(he)類(lei)型(xing),並(bing)由(you)相(xiang)應(ying)的(de)指(zhi)示(shi)電(dian)路(lu)顯(xian)示(shi)出(chu)判(pan)斷(duan)結(jie)果(guo),比(bi)用(yong)萬(wan)用(yong)表(biao)測(ce)量(liang)要(yao)方(fang)便(bian)快(kuai)捷(jie)很(hen)多(duo)。
本設計由於采用單片機作為中心控製單元,故可擴展性強。比如可在本作品的基礎上增加測量三極管β值的電路,可用數碼管顯示出β值。另外,本設計現在隻能測量常見中小功率的三極管,若加上驅動電路、限流電路,修改部分源程序也可測量大功率三極管。
【推薦閱讀】
工程師教你如何設計一個“優質”D類音頻放大器!
變壓器對於電路的重要性毋庸置疑,選擇時應注意什麼呢?
什麼是負載開關,為什麼需要負載開關?
同步降壓轉換器電路分析及輸出紋波的探討
電池供電設備電流監控的三個要點——你真的做對了嗎?
特別推薦
- 噪聲中提取真值!瑞盟科技推出MSA2240電流檢測芯片賦能多元高端測量場景
- 10MHz高頻運行!氮矽科技發布集成驅動GaN芯片,助力電源能效再攀新高
- 失真度僅0.002%!力芯微推出超低內阻、超低失真4PST模擬開關
- 一“芯”雙電!聖邦微電子發布雙輸出電源芯片,簡化AFE與音頻設計
- 一機適配萬端:金升陽推出1200W可編程電源,賦能高端裝備製造
技術文章更多>>
- 一秒檢測,成本降至萬分之一,光引科技把幾十萬的台式光譜儀“搬”到了手腕上
- AI服務器電源機櫃Power Rack HVDC MW級測試方案
- 突破工藝邊界,奎芯科技LPDDR5X IP矽驗證通過,速率達9600Mbps
- 通過直接、準確、自動測量超低範圍的氯殘留來推動反滲透膜保護
- 從技術研發到規模量產:恩智浦第三代成像雷達平台,賦能下一代自動駕駛!
技術白皮書下載更多>>
- 車規與基於V2X的車輛協同主動避撞技術展望
- 數字隔離助力新能源汽車安全隔離的新挑戰
- 汽車模塊拋負載的解決方案
- 車用連接器的安全創新應用
- Melexis Actuators Business Unit
- Position / Current Sensors - Triaxis Hall
熱門搜索
按鈕開關
白色家電
保護器件
保險絲管
北鬥定位
北高智
貝能科技
背板連接器
背光器件
編碼器型號
便攜產品
便攜醫療
變容二極管
變壓器
檳城電子
並網
撥動開關
玻璃釉電容
剝線機
薄膜電容
薄膜電阻
薄膜開關
捕魚器
步進電機
測力傳感器
測試測量
測試設備
拆解
場效應管
超霸科技



