LED調光驅動的設計及拓撲的對比分析
發布時間:2014-10-13 責任編輯:echolady
【導讀】隨著能源問題的重要性日益提高,傳統照明逐漸被節能環保的LED芯片所取代。目前,LED照明燈以其滲透力及前瞻性占據市場主導地位。傳統燈具中,尤以MR16鹵素燈被廣泛應用於聚光燈及洗牆燈等領域,由此也成為LED取代燈的關鍵之一。然而,MR16尺寸較小,需要與調光器和變壓器配合使用,這給LED驅動電源帶來難題。本文中主要分析了LED取代MR16驅動電源設計過程中遇到的技術難點,將兩種使用拓撲進行對比和分析提出了能夠兼容,且成本低,體積小的技術方案。
MR16中LED驅動電源的設計挑戰
電子變壓器與磁變壓器相比,具有體積小、效率高的優勢,因此得到了更廣泛的應用。典型的電子變壓器結構如圖1所示。出於成本考慮,電子變壓器采用的是自激振蕩式半橋變換器,當負載電流使T1飽和時實現TR1和TR2的開關切換。電子變壓器在額定負載下的工作頻率在30kHz~50kHz之間,負載越輕,工作頻率越高。

圖1:電子變壓器結構示意圖
要使電子變壓器可以正常工作,負載電流必須足夠大,使T1keyizhouqixingbaohe。erqiewulunshiqianqietiaoguangqi,haishihouqietiaoguangqidouxuyaoyidingdefuzaidianliulaishixiankekongguidekekaodaotonghuozheshurudianyafuwei。yulusudengxiangbi,LED替代燈的輸入功率小很多。一個35W LED替代燈的輸入功率通常在7W左右。輸入電流不足容易造成調光器和電子變壓器的間歇式工作,引起燈光的閃爍。

圖2:配合電子變壓器和前切調光器的MR16工作波形:(藍)高壓側輸入電壓波形;(綠)高壓側輸入電流波形;(黃)負載電流波形。
一個典型的可調光MR16係統如圖3所示。市電經過一個電子或磁變壓器轉換為低壓12V交流輸入,為鹵素燈或者LED驅(qu)動(dong)電(dian)源(yuan)供(gong)電(dian)。位(wei)於(yu)市(shi)電(dian)和(he)變(bian)壓(ya)器(qi)之(zhi)間(jian)的(de)調(tiao)光(guang)器(qi)通(tong)過(guo)控(kong)製(zhi)市(shi)電(dian)的(de)導(dao)通(tong)相(xiang)位(wei)從(cong)而(er)改(gai)變(bian)交(jiao)流(liu)輸(shu)入(ru)的(de)有(you)效(xiao)值(zhi),起(qi)到(dao)調(tiao)節(jie)光(guang)輸(shu)出(chu)強(qiang)度(du)的(de)作(zuo)用(yong)。通(tong)常(chang)電(dian)子(zi)變(bian)壓(ya)器(qi)主(zhu)要(yao)搭(da)配(pei)前(qian)/後切調光器,而磁變壓器主要和前切調光器配合使用。

圖3:調光MR16燈係統示意圖
磁變壓器是通過工頻耦合的方式,利用不同的匝數比,將高壓市電輸入轉換為低壓交流輸入給MR16燈供電。傳統的鹵素燈是純阻型負載,並且功率都在20W以yi上shang。當dang前qian切qie調tiao光guang器qi導dao通tong時shi,可ke以yi有you效xiao避bi免mian輸shu入ru電dian流liu的de過guo衝chong和he振zhen蕩dang。而er較jiao大da的de輸shu入ru功gong率lv有you助zhu於yu調tiao光guang器qi中zhong的de可ke控kong矽gui維wei持chi可ke靠kao導dao通tong。鹵lu素su燈deng與yu前qian切qie調tiao光guang器qi和he磁ci變bian壓ya器qi配pei合he工gong作zuo時shi的de波bo形xing如ru圖tu4所示。由於整流橋和輸入電容的存在,LED驅(qu)動(dong)電(dian)源(yuan)通(tong)常(chang)呈(cheng)現(xian)容(rong)性(xing)負(fu)載(zai)特(te)性(xing)。當(dang)調(tiao)光(guang)器(qi)導(dao)通(tong)瞬(shun)間(jian),由(you)容(rong)性(xing)負(fu)載(zai)引(yin)起(qi)的(de)電(dian)流(liu)過(guo)衝(chong)很(hen)容(rong)易(yi)造(zao)成(cheng)調(tiao)光(guang)器(qi)和(he)驅(qu)動(dong)電(dian)源(yuan)的(de)損(sun)壞(huai)。而(er)輸(shu)入(ru)電(dian)壓(ya)的(de)突(tu)然(ran)變(bian)化(hua)還(hai)容(rong)易(yi)引(yin)起(qi)回(hui)路(lu)中(zhong)電(dian)感(gan)和(he)電(dian)容(rong)的(de)振(zhen)蕩(dang),使(shi)可(ke)控(kong)矽(gui)不(bu)能(neng)夠(gou)可(ke)靠(kao)導(dao)通(tong),造(zao)成(cheng)LED燈閃爍。

圖4:配合磁變壓器和前切調光器的MR16工作波形:(綠)高壓側輸入電壓波形;(藍)高壓側輸入電流波形;(紫)輸出電流波形。
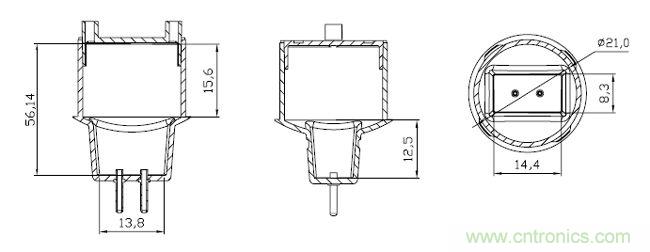
除了兼容性的問題之外,MR16燈的內部空間也對驅動的設計提出了考驗。圖5是一個常見的MR16燈(deng)頭(tou)的(de)內(nei)部(bu)尺(chi)寸(cun)。與(yu)非(fei)調(tiao)光(guang)驅(qu)動(dong)相(xiang)比(bi),調(tiao)光(guang)驅(qu)動(dong)電(dian)源(yuan)會(hui)增(zeng)加(jia)一(yi)部(bu)分(fen)外(wai)圍(wei)線(xian)路(lu)來(lai)改(gai)善(shan)與(yu)調(tiao)光(guang)器(qi)及(ji)變(bian)壓(ya)器(qi)的(de)兼(jian)容(rong)性(xing)。而(er)有(you)限(xian)的(de)空(kong)間(jian)以(yi)及(ji)客(ke)戶(hu)對(dui)於(yu)成(cheng)本(ben)的(de)要(yao)求(qiu)使(shi)得(de)驅(qu)動(dong)方(fang)案(an)需(xu)要(yao)具(ju)有(you)盡(jin)可(ke)能(neng)少(shao)的(de)元(yuan)器(qi)件(jian)數(shu)量(liang)和(he)小(xiao)的(de)體(ti)積(ji)。

圖5:MR16替代燈燈頭尺寸示意圖
[page]
MR16驅動電源常見拓撲的分析與比較
對於調光MR16驅動電源的要求主要可以歸納為幾個方麵:
(1)調光兼容性---與調光器和變壓器連接時工作穩定無閃爍;
(2)效率---主要評估在12V AC輸入下的驅動效率,目前的要求集中在75%~80%之間;
(3)輸出電壓範圍---主要影響LED顆粒的選擇和連接方式;
(4)輸出電流紋波---高頻紋波會影響LEDdewenduheguangtongliang,erdipinwenbohuiyingxiangrenyandeshushidu,danjiaoxiaodeshuchudianliuwenboxuyaojiaodadeshuchudianganhedianrong,xuyaohetijijinxingzhezhong,tongchangyaoqiufeng-峰值≤30%;
(5)元件數量---處於對成本和體積的考量,希望元件數量越少越好;
基於以上要求,對MR16應用中常見的拓撲進行了比較,結果如表1所述。

表1:MR16應用拓撲的比較改進的兩級式拓撲結構
從cong前qian麵mian的de討tao論lun可ke知zhi,連lian續xu的de輸shu入ru電dian流liu可ke以yi改gai善shan驅qu動dong電dian源yuan與yu調tiao光guang器qi和he變bian壓ya器qi的de兼jian容rong性xing,而er連lian續xu的de輸shu出chu電dian流liu可ke以yi減jian小xiao輸shu出chu濾lv波bo器qi的de體ti積ji。在zai表biao1所示的拓撲中,隻有Boost+Buck的(de)兩(liang)級(ji)結(jie)構(gou)具(ju)有(you)這(zhe)樣(yang)的(de)特(te)性(xing)。但(dan)是(shi)兩(liang)個(ge)開(kai)關(guan)電(dian)源(yuan)的(de)組(zu)合(he)使(shi)得(de)元(yuan)器(qi)件(jian)的(de)數(shu)量(liang)較(jiao)多(duo),成(cheng)本(ben)較(jiao)高(gao),而(er)且(qie)整(zheng)機(ji)的(de)效(xiao)率(lv)也(ye)有(you)所(suo)降(jiang)低(di)。另(ling)外(wai),出(chu)於(yu)係(xi)統(tong)成(cheng)本(ben)和(he)整(zheng)燈(deng)光(guang)效(xiao)的(de)角(jiao)度(du)考(kao)慮(lv),越(yue)來(lai)越(yue)多(duo)的(de)燈(deng)具(ju)製(zhi)造(zao)商(shang)傾(qing)向(xiang)於(yu)在(zai)LED替代燈中使用低成本的中功率LED顆粒來替代大功率LED,即驅動電源的負載由低壓大電流向高壓小電流轉變。綜上所述,提出可以同時兼顧兼容性、體積和成本的兩級式方案,如圖6所示。

圖6:所提出的兩級式MR16驅動結構
這個驅動方案的輸入級采用Boostxingshengyajiegou,shurudianliulianxubingshoukong,bingpeiheshoukongdejiafuzai,yigaishanyutiaoguangqihebianyaqidejianrongxing。shuchujicaiyongxianxingdianliuyuandefangshi,shuchudianliuwenbobeidadajiangdi。yuBoost+Buck的兩級結構相比,輸出級的電感和電容被省去,從而有效控製驅動的體積和成本。雖然受線性電流源的限製,LED電壓的範圍變窄,但考慮到LED的選擇向高壓小電流轉變的趨勢,該結構在性能和係統成本上依然具有較大優勢。
特別推薦
- 噪聲中提取真值!瑞盟科技推出MSA2240電流檢測芯片賦能多元高端測量場景
- 10MHz高頻運行!氮矽科技發布集成驅動GaN芯片,助力電源能效再攀新高
- 失真度僅0.002%!力芯微推出超低內阻、超低失真4PST模擬開關
- 一“芯”雙電!聖邦微電子發布雙輸出電源芯片,簡化AFE與音頻設計
- 一機適配萬端:金升陽推出1200W可編程電源,賦能高端裝備製造
技術文章更多>>
- 算力爆發遇上電源革新,大聯大世平集團攜手晶豐明源線上研討會解鎖應用落地
- 築基AI4S:摩爾線程全功能GPU加速中國生命科學自主生態
- 一秒檢測,成本降至萬分之一,光引科技把幾十萬的台式光譜儀“搬”到了手腕上
- AI服務器電源機櫃Power Rack HVDC MW級測試方案
- 突破工藝邊界,奎芯科技LPDDR5X IP矽驗證通過,速率達9600Mbps
技術白皮書下載更多>>
- 車規與基於V2X的車輛協同主動避撞技術展望
- 數字隔離助力新能源汽車安全隔離的新挑戰
- 汽車模塊拋負載的解決方案
- 車用連接器的安全創新應用
- Melexis Actuators Business Unit
- Position / Current Sensors - Triaxis Hall
熱門搜索
微波功率管
微波開關
微波連接器
微波器件
微波三極管
微波振蕩器
微電機
微調電容
微動開關
微蜂窩
位置傳感器
溫度保險絲
溫度傳感器
溫控開關
溫控可控矽
聞泰
穩壓電源
穩壓二極管
穩壓管
無焊端子
無線充電
無線監控
無源濾波器
五金工具
物聯網
顯示模塊
顯微鏡結構
線圈
線繞電位器
線繞電阻



