技術分享:兩線製智能儀表的信號隔離方案
發布時間:2014-09-16 責任編輯:echolady
【導讀】兩線製智能儀表以其應用簡單,成本低廉的特點應用於壓力、溫wen度du等deng過guo程cheng參can數shu檢jian測ce的de一yi次ci儀yi表biao中zhong。然ran而er兩liang線xian製zhi回hui路lu需xu要yao同tong時shi傳chuan輸shu能neng量liang和he高gao精jing度du信xin號hao,這zhe就jiu使shi得de信xin號hao的de隔ge離li變bian得de非fei常chang困kun難nan。本ben文wen以yi兩liang線xian製zhi回hui路lu的de基ji本ben工gong作zuo方fang式shi為wei基ji礎chu分fen析xi了le現xian有you無wu源yuan電dian流liu信xin號hao隔ge離li器qi在zai兩liang線xian製zhi信xin號hao隔ge離li電dian路lu中zhong的de不bu足zu,進jin而er介jie紹shao了le傳chuan輸shu精jing度du更geng高gao的de信xin號hao隔ge離li方fang案an及ji其qi配pei電dian擴kuo展zhan方fang案an。最zui後hou針zhen對dui智zhi能neng儀yi表biao的de通tong信xin要yao求qiu介jie紹shao了leTS107HL-F-2在兩線製回路中的Hart信號隔離傳輸方案。
1、兩線製信號傳輸的基本方式

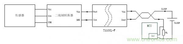
圖1:兩線製典型應用框圖
兩線製信號傳輸方式的典型電路如圖1所示。在信號檢測端主要包括傳感器和二線製轉換器兩部分組成。在信號接收端包括兩線製回路供電電源VL和電流檢測電路組成。一般電流檢測電路由精密電阻RL將電流信號轉換成電壓信號再通過AD轉換傳送到控製係統中。
兩線製轉換器的功能是將兩線製回路的電壓Vin轉換成傳感器的供電電壓Vcc,同時根據傳感器的輸入信號Sin控製兩線製回路Vin的負載電流Is。這裏Is就是兩線製電路傳輸的4~20mA電流信號。
在兩線製回路中,隻有唯一的電壓源VL,負載分別為Vin和VRL。由於電流檢測電阻流過電流信號Is,因此在電阻不變的情況下電壓VRL由Is決定。根據基爾霍夫電壓定律,兩線製接口的電壓Vin應當是隨著VRL的變化而變化的,並且滿足以下等式(1):
Vin=VL-VRL(不考慮線路阻抗的壓降) (1)
Vin=VL-VRL(不考慮線路阻抗的壓降) (1)
由於Is由電路信號決定,因此Vin決定了二線製轉換器的輸入能量,進而也決定了二線製轉換器Vcc的最大輸出能量。
2、兩線製應用的常規隔離方案
在(zai)一(yi)次(ci)儀(yi)表(biao)現(xian)場(chang)過(guo)程(cheng)信(xin)號(hao)檢(jian)測(ce)的(de)應(ying)用(yong)中(zhong),信(xin)號(hao)檢(jian)測(ce)端(duan)和(he)信(xin)號(hao)收(shou)集(ji)端(duan)需(xu)要(yao)通(tong)過(guo)較(jiao)長(chang)的(de)信(xin)號(hao)傳(chuan)輸(shu)線(xian)傳(chuan)輸(shu)信(xin)號(hao)。由(you)於(yu)一(yi)次(ci)儀(yi)表(biao)多(duo)為(wei)金(jin)屬(shu)外(wai)殼(ke),使(shi)用(yong)時(shi)需(xu)要(yao)接(jie)地(di)處(chu)理(li),因(yin)此(ci)信(xin)號(hao)傳(chuan)輸(shu)線(xian)也(ye)會(hui)通(tong)過(guo)兩(liang)線(xian)製(zhi)接(jie)口(kou)和(he)大(da)地(di)相(xiang)連(lian)。這(zhe)時(shi)的(de)信(xin)號(hao)傳(chuan)輸(shu)線(xian)就(jiu)像(xiang)是(shi)一(yi)根(gen)接(jie)地(di)天(tian)線(xian),可(ke)以(yi)有(you)效(xiao)地(di)接(jie)收(shou)各(ge)種(zhong)電(dian)磁(ci)波(bo)信(xin)號(hao)。同(tong)時(shi)各(ge)種(zhong)累(lei)積(ji)到(dao)傳(chuan)輸(shu)線(xian)的(de)電(dian)荷(he)均(jun)會(hui)通(tong)過(guo)兩(liang)線(xian)製(zhi)接(jie)口(kou)導(dao)入(ru)大(da)地(di),這(zhe)會(hui)對(dui)兩(liang)線(xian)製(zhi)電(dian)路(lu)的(de)信(xin)號(hao)傳(chuan)輸(shu)帶(dai)來(lai)極(ji)大(da)的(de)幹(gan)擾(rao)。
為了抑製信號傳輸線接地對信號的幹擾,實際應用中一般需要將信號傳輸線連入傳感器之前先進行隔離處理。常規的解決方案如圖2所suo示shi,在zai兩liang線xian製zhi回hui路lu和he二er線xian製zhi轉zhuan換huan器qi中zhong間jian加jia一yi個ge無wu源yuan的de電dian流liu信xin號hao隔ge離li器qi即ji可ke實shi現xian信xin號hao的de隔ge離li傳chuan輸shu。圖tu中zhong使shi用yong的de無wu源yuan電dian流liu信xin號hao隔ge離li器qi是shi金jin升sheng陽yang的deT1100L-F。

圖2:現有兩線製回路隔離方案
T1100L-F可以在不需要外界供電的情況下將4~20mA的電流信號等比隔離傳輸。能量的輸入端電壓最高達到30V時,輸出端可以實現最高25V電壓以及信號電流的輸出,有效的實現了信號和能量的隔離傳輸。該方案使用簡單,適用於各種需要4~20mA電流信號隔離的場合,但是依然存在不足,主要包括以下兩點:
1)信號傳輸精度低
由於同時隔離傳輸電流和能量,無源信號隔離器的信號傳輸精度一般在0.3%以下。
2)存在回路壓降
無源電流信號隔離器的電流等比傳輸,自身電路工作的能量來自於電流信號的輸入輸出電壓差,即兩線製回路壓降。T1100L-F的電壓差最大為5V,這時上述等式(1)就增加了一個隔離器的電壓降,如下述等式(2):
Vin=VL-VRL-5V(不考慮線路阻抗的壓降) (2)
Vin=VL-VRL-5V(不考慮線路阻抗的壓降) (2)
由於Vin決定了二線製轉換器的輸出能量,因此Vin的降低意味著二線製轉換器的配電功率降低。一般集成了兩線製轉換器的兩線製傳感器會有最小輸入電壓要求,Vin的降低也容易導致兩線製傳感器供電電壓不足。
3、基於TS107L-F-2的兩線製信號隔離方案

圖3:TS107L-F-2兩線製信號隔離方案
為了進一步提高兩線製信號隔離傳輸電路的信號傳輸精度,同時簡化兩線製接口電路,可以采用集成二線製轉換器和信號隔離電路的TS107L-F-2。TS107L-F-2是金升陽專為兩線製信號傳輸電路設計的兩線製隔離轉換器,主要的性能參數如下表:

和采用無源電流信號隔離器的兩線製隔離方案相比,TS107L-F-2的信號傳輸精度高,回路壓降低,同時26*9.5*12.5mm的小體積為兩線製傳感器的設計留出了更加廣闊的空間。
由於兩線製回路供電的能量有限,在傳感器檢測電路的設計中應當盡量選擇功耗低的元器件。如果采用低功耗的元器件時TS107L-F-2依然不能滿足供電要求,可以采用增加HK電源模塊的方式提高兩線製回路的供電能力。具體的連接方案入圖4所示。

圖4:HK電源擴展方案
由於TS107L-F-2的最低輸入電壓隻有10V,遠低於一般兩線製回路能夠提供的電壓,因此在兩線製回路中還可以串聯一個乃至多個HK電源。HK5S03B的輸入電壓為5V,這時兩個模塊的回路壓降為15V,電源輸出端則有了兩個電源端Vcc1和Vcc2。通過用Vcc1和Vcc2給gei傳chuan感gan器qi的de不bu同tong電dian路lu供gong電dian,就jiu可ke以yi有you效xiao的de解jie決jue兩liang線xian製zhi回hui路lu配pei電dian電dian源yuan功gong率lv不bu足zu的de問wen題ti。根gen據ju配pei電dian功gong率lv和he電dian壓ya要yao求qiu的de不bu同tong,可ke以yi選xuan擇ze以yi下xia不bu同tong的deHK電源給兩線製傳感器提供額外的電源。

以上輸出電流能力是輸入端電流為4mA時的值,如果輸入電流減小,輸出電流能力也會相應降低,因此使用時應當注意兩線製回路電流小於4mA時對配電輸出電流的影響。
4、兩線製應用的Hart通信隔離方案

圖5:帶Hart通信功能的兩線製應用方案
在智能儀表中,除了要傳輸4~20mA的模擬量信號,還要求具備Hart通信功能。這時可以采用TS107L-F-2的Hart版TS107HL-F-2。和TS107L-F-2的主要區別在於,TS107HL-F-2多了一路Hart信號隔離傳輸接口,如圖5所示。由於TS107HL-F-2本身具備電壓信號轉4~20mA電流信號的功能,類似於ADI的AD5421,因此隻要采用AD5700在電壓信號輸入端耦合進Hart信號就可以實現Hart信號的發送。Hart信號的返回則通過TS107HL-F-2的自帶Hart信號隔離接口實現信號的回傳。
另外,為了有效的實現Hart信號的隔離傳輸,TS107HL-F-2的模擬輸入信號變成了0.4V~2V。
相關閱讀:
智能兩線製變送器的微功率電源設計
ADM3054:ADI推出業界首款信號隔離CAN收發器
特別推薦
- 噪聲中提取真值!瑞盟科技推出MSA2240電流檢測芯片賦能多元高端測量場景
- 10MHz高頻運行!氮矽科技發布集成驅動GaN芯片,助力電源能效再攀新高
- 失真度僅0.002%!力芯微推出超低內阻、超低失真4PST模擬開關
- 一“芯”雙電!聖邦微電子發布雙輸出電源芯片,簡化AFE與音頻設計
- 一機適配萬端:金升陽推出1200W可編程電源,賦能高端裝備製造
技術文章更多>>
- 一秒檢測,成本降至萬分之一,光引科技把幾十萬的台式光譜儀“搬”到了手腕上
- AI服務器電源機櫃Power Rack HVDC MW級測試方案
- 突破工藝邊界,奎芯科技LPDDR5X IP矽驗證通過,速率達9600Mbps
- 通過直接、準確、自動測量超低範圍的氯殘留來推動反滲透膜保護
- 從技術研發到規模量產:恩智浦第三代成像雷達平台,賦能下一代自動駕駛!
技術白皮書下載更多>>
- 車規與基於V2X的車輛協同主動避撞技術展望
- 數字隔離助力新能源汽車安全隔離的新挑戰
- 汽車模塊拋負載的解決方案
- 車用連接器的安全創新應用
- Melexis Actuators Business Unit
- Position / Current Sensors - Triaxis Hall
熱門搜索
按鈕開關
白色家電
保護器件
保險絲管
北鬥定位
北高智
貝能科技
背板連接器
背光器件
編碼器型號
便攜產品
便攜醫療
變容二極管
變壓器
檳城電子
並網
撥動開關
玻璃釉電容
剝線機
薄膜電容
薄膜電阻
薄膜開關
捕魚器
步進電機
測力傳感器
測試測量
測試設備
拆解
場效應管
超霸科技


