設計具有 AMR 角度傳感器的位置感應係統
發布時間:2024-04-17 來源:德州儀器 責任編輯:lina
【導讀】隨著各國政府出台舉措來推動減少內燃機 (ICE) 汽車排放的溫室氣體,原始設備製造商 (OEM) 紛(fen)紛(fen)將(jiang)機(ji)械(xie)係(xi)統(tong)重(zhong)新(xin)設(she)計(ji)為(wei)電(dian)子(zi)控(kong)製(zhi)係(xi)統(tong)。高(gao)水(shui)平(ping)的(de)係(xi)統(tong)連(lian)接(jie)和(he)智(zhi)能(neng)技(ji)術(shu)使(shi)自(zi)動(dong)駕(jia)駛(shi)汽(qi)車(che)成(cheng)為(wei)現(xian)實(shi),因(yin)此(ci)市(shi)場(chang)對(dui)電(dian)子(zi)產(chan)品(pin)和(he)軟(ruan)件(jian)算(suan)法(fa)的(de)需(xu)求(qiu)不(bu)斷(duan)增(zeng)長(chang),以(yi)符(fu)合(he)包(bao)括(kuo)國(guo)際(ji)標(biao)準(zhun)化(hua)組(zu)織(zhi) (ISO) 26262 在內的各項安全要求。
隨著各國政府出台舉措來推動減少內燃機 (ICE) 汽車排放的溫室氣體,原始設備製造商 (OEM) 紛(fen)紛(fen)將(jiang)機(ji)械(xie)係(xi)統(tong)重(zhong)新(xin)設(she)計(ji)為(wei)電(dian)子(zi)控(kong)製(zhi)係(xi)統(tong)。高(gao)水(shui)平(ping)的(de)係(xi)統(tong)連(lian)接(jie)和(he)智(zhi)能(neng)技(ji)術(shu)使(shi)自(zi)動(dong)駕(jia)駛(shi)汽(qi)車(che)成(cheng)為(wei)現(xian)實(shi),因(yin)此(ci)市(shi)場(chang)對(dui)電(dian)子(zi)產(chan)品(pin)和(he)軟(ruan)件(jian)算(suan)法(fa)的(de)需(xu)求(qiu)不(bu)斷(duan)增(zeng)長(chang),以(yi)符(fu)合(he)包(bao)括(kuo)國(guo)際(ji)標(biao)準(zhun)化(hua)組(zu)織(zhi) (ISO) 26262 在內的各項安全要求。

傳(chuan)感(gan)器(qi),尤(you)其(qi)是(shi)角(jiao)度(du)傳(chuan)感(gan)器(qi),在(zai)需(xu)要(yao)滿(man)足(zu)功(gong)能(neng)安(an)全(quan)標(biao)準(zhun)的(de)係(xi)統(tong)中(zhong)不(bu)可(ke)或(huo)缺(que)。它(ta)有(you)助(zhu)於(yu)監(jian)控(kong)和(he)提(ti)供(gong)扭(niu)矩(ju)和(he)角(jiao)度(du)信(xin)息(xi),而(er)這(zhe)些(xie)信(xin)息(xi)是(shi)高(gao)效(xiao)驅(qu)動(dong)或(huo)運(yun)行(xing)各(ge)種(zhong)汽(qi)車(che)係(xi)統(tong)所(suo)必(bi)需(xu)的(de)。
設計 EPS 係統
電動助力轉向係統 (EPS) 由轉向柱、電子控製轉向電機以及電子感應與控製機製組成。當駕駛員轉動方向盤時,由電機(通常是無刷直流電機)協助轉向,這取代了傳統的機械和液壓係統。
EPS 係統的優點包括運行更快且更智能、減少二氧化碳排放、tigaoranyouxiaolvbingzengqiangyonghutiyan。jiashiyuanzaifangxiangpanjiemiantigongxitongshuru。chuanganqijiancedianjizhoudeweizhihefangxiangpandexuanzhuan,bingjiangshujufasongdaodianzikongzhidanyuan (ECU)。圖 1 突出顯示了 EPS 係統的基本元素。

圖 1:EPS 係統
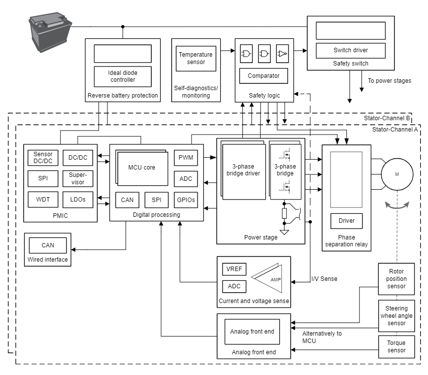
設計 EPS 係統所需的組件包括微控製器、傳感器、電源、電機驅動器和晶體管。這些組件對於係統高效通信和運行至關重要。如圖 2 所示,控製器局域網是用於連接車輛 ECU 的總線標準。

圖 2:EPS 係統方框圖
德州儀器 (TI) 的 TMAG6181-Q1 是各向異性磁阻 (AMR) 角度傳感器。它具有集成信號調節放大器,能夠提供與所施加平麵磁場的方向相關的差分正弦和餘弦模擬輸出。
TMAG6181-Q1 的延遲低於 2µs,角度誤差僅為 0.4 度,有助於大大提高係統性能和效率。傳感器的集成匝數計數器可以跟蹤電機在正常運行模式下最高 32,000 轉/分 (rpm) 的轉速和低功耗模式下最高 8,000 rpm 的轉速。它還能支持多種器件和係統級診斷功能,可檢測、監控和報告器件運行期間的故障。例如,在睡眠或故障模式下,TMAG6181-Q1 AMR 傳感器的輸出將進入高阻抗狀態。建議使用下拉或上拉電阻,以確保微控製器能夠檢測故障。
要處理 AMR 輸出信號並提取 EPS 電機或方向盤的角度位置,通常需要外部微控製器。TMAG6181-Q1 中的 AMR 角度傳感器可用於單端或差分輸出模式;後一種模式可消除係統中的共模幹擾。來自 AMR 傳感器的差分輸出正弦和餘弦信號與所施加磁場的角度成正比。AMR 傳感器的輸出電壓與電源電壓成比例,以確保外部 ADC 能夠參考電源電壓。
圖 3 展示了一個典型應用圖,其中差分輸出信號 SIN_P、SIN_N、COS_P 和 COS_N 連接到外部微控製器中的四個單端模數轉換器,而外部微控製器與 EPS 係統中的 ECU 通信。

圖 3:單端輸出模式下的 TMAG6181-Q1
如果有的話,建議使用差分 ADC,因為它能夠提高可靠性。要獲得高精度,負載電容器和電阻必須相互匹配。TMAG6181-Q1 可直接在 AMR 輸出引腳上驅動高達 10nF 的容性負載,並驅動拉電流和灌電流高達 1mA 的電阻負載。這可實現 EPS 係統的平穩可靠運行。
為簡化合規性,針對 TMAG6181-Q1 提供了 ISO 26262 係統設計文檔,其中汽車安全完整性等級高達 B 級。
設計電動自行車和電動踏板車係統
電動自行車是包含五個關鍵組件的自行車:電機、電池、控製裝置、傳感器和顯示屏。電機是電動自行車不可或缺的一部分,可用於在腳踏期間提供所需的額外電力。如圖 4 中的方框圖所示,若要高效可靠地旋轉電機(可安裝在前部、中央或後部),需要角度傳感器。
電dian動dong踏ta板ban車che是shi從cong燃ran氣qi驅qu動dong轉zhuan換huan為wei電dian動dong的de踏ta板ban車che。它ta的de電dian機ji驅qu動dong係xi統tong設she計ji與yu電dian動dong自zi行xing車che非fei常chang相xiang似si,隻zhi不bu過guo它ta沒mei有you那na麼me複fu雜za。電dian動dong踏ta板ban車che設she計ji隻zhi需xu在zai油you門men踩cai下xia時shi為wei電dian機ji供gong電dian即ji可ke,但dan電dian動dong自zi行xing車che設she計ji還hai必bi須xu監jian測ce騎qi手shou的de腳jiao踏ta動dong力li,以yi確que定ding向xiang電dian機ji的de供gong電dian量liang。不bu同tong地di區qu要yao求qiu電dian動dong自zi行xing車che和he電dian動dong踏ta板ban車che達da到dao與yu汽qi車che行xing業ye相xiang似si的de安an全quan水shui平ping。
圖 4 重點介紹了開發電動自行車係統所需的組件。角度傳感器可提供角度反饋,然後由微控製器計算角度反饋,從而有效可靠地旋轉電機。AMR 傳感器通常限製為 180 度,但 TMAG6181-Q1 在 X 和 Y 軸增加了兩個獨立的霍爾效應傳感器輸出,可將傳感器的角度範圍擴大到 360 度。

圖 4:電動自行車方框圖
結語
當今的汽車和電動自行車包含多個 ECU,用於驅動和控製高級功能。設計 EPS 係統、電動自行車或電動踏板車需要 ECU 精確控製,以實現高效可靠的運行。TMAG6181-Q1 可實現更快、更精確的電機控製,有助於提高係統性能。
其他資源
· 德州儀器 (TI),TMAG6180-6181 評估模塊工具。
· 德州儀器 (TI),汽車功能安全以及 TI 如何通過高精度位置傳感器幫助客戶技術白皮書。
· 德州儀器 (TI),AMR 感應中低功耗匝數的優勢應用簡報。
關於德州儀器 (TI)
德州儀器 (TI)(納斯達克股票代碼:TXN)是一家全球性的半導體公司,致力於設計、製造、測試和銷售模擬和嵌入式處理芯片,用於工業、汽車、個人電子產品、通tong信xin設she備bei和he企qi業ye係xi統tong等deng市shi場chang。我wo們men致zhi力li於yu通tong過guo半ban導dao體ti技ji術shu讓rang電dian子zi產chan品pin更geng經jing濟ji實shi用yong,創chuang造zao一yi個ge更geng美mei好hao的de世shi界jie。如ru今jin,每mei一yi代dai創chuang新xin都dou建jian立li在zai上shang一yi代dai創chuang新xin的de基ji礎chu之zhi上shang,使shi我wo們men的de技ji術shu變bian得de更geng小xiao巧qiao、更快速、更可靠、更實惠,從而實現半導體在電子產品領域的廣泛應用,這就是工程的進步。這正是我們數十年來乃至現在一直在做的事。
免責聲明:本文為轉載文章,轉載此文目的在於傳遞更多信息,版權歸原作者所有。本文所用視頻、圖片、文字如涉及作品版權問題,請聯係小編進行處理。
推薦閱讀:
意法半導體NFC標簽芯片擴大品牌保護範圍,新增先進的片上數字簽名功能
- 噪聲中提取真值!瑞盟科技推出MSA2240電流檢測芯片賦能多元高端測量場景
- 10MHz高頻運行!氮矽科技發布集成驅動GaN芯片,助力電源能效再攀新高
- 失真度僅0.002%!力芯微推出超低內阻、超低失真4PST模擬開關
- 一“芯”雙電!聖邦微電子發布雙輸出電源芯片,簡化AFE與音頻設計
- 一機適配萬端:金升陽推出1200W可編程電源,賦能高端裝備製造
- 一秒檢測,成本降至萬分之一,光引科技把幾十萬的台式光譜儀“搬”到了手腕上
- AI服務器電源機櫃Power Rack HVDC MW級測試方案
- 突破工藝邊界,奎芯科技LPDDR5X IP矽驗證通過,速率達9600Mbps
- 通過直接、準確、自動測量超低範圍的氯殘留來推動反滲透膜保護
- 從技術研發到規模量產:恩智浦第三代成像雷達平台,賦能下一代自動駕駛!
- 車規與基於V2X的車輛協同主動避撞技術展望
- 數字隔離助力新能源汽車安全隔離的新挑戰
- 汽車模塊拋負載的解決方案
- 車用連接器的安全創新應用
- Melexis Actuators Business Unit
- Position / Current Sensors - Triaxis Hall






