霍爾效應傳感器的原則是怎樣的
發布時間:2020-03-05 責任編輯:wenwei
【導讀】霍爾效應開關和儀器級傳感器zaigongyeyingyongzhongzhengbiandeyuelaiyuepuji,rujinchanpinhezhizaogongyishejishikeyixuanyonggaodujichengdegezhonghuoerxiaoyingqijian。suiranzaixuyaonaxieguifanyijicichangceliangfangmianzongdelaishuorengyouxuduokunhuo,danzhexieqijianyibeizhengmingyingyongqilaixiangdangjianbian。
霍爾效應傳感器曆史
自從1879年Edwin H.Hall博bo士shi用yong一yi片pian金jin箔bo做zuo實shi驗yan時shi出chu現xian這zhe種zhong行xing為wei後hou,霍huo爾er效xiao應ying的de知zhi識shi就jiu被bei廣guang泛fan流liu傳chuan開kai來lai。雖sui然ran現xian代dai傳chuan感gan器qi的de開kai發fa花hua去qu了le全quan球qiu科ke學xue家jia和he工gong程cheng師shi大da量liang的de時shi間jian和he精jing力li,但dan霍huo金jin的de開kai發fa起qi到dao了le拋pao磚zhuan引yin玉yu的de作zuo用yong。選xuan取qu合he適shi的de材cai料liao是shi導dao致zhi延yan遲chi的de部bu分fen原yuan因yin。在zai20世紀50年nian代dai中zhong期qi之zhi前qian,鉍bi是shi用yong於yu傳chuan感gan器qi開kai發fa的de最zui好hao實shi用yong材cai料liao。雖sui然ran仍reng然ran不bu理li想xiang,但dan鉍bi可ke以yi提ti供gong足zu夠gou的de霍huo爾er電dian壓ya和he穩wen定ding性xing,完wan全quan可ke以yi在zai諸zhu如ru電dian磁ci場chang控kong製zhi器qi等deng設she備bei中zhong用yong作zuo傳chuan感gan器qi。
在20世紀40年代期間材料科學終於迎來了突破性進展,當時III-V族半導體是蘇聯的主要研究課題。德國西門子公司的科學家則首先認識到,新發現的這些化合物特性可以做出優異的霍爾效應器件(霍爾發電機)。
這類半導體具有霍爾效應應用所需的高載流子遷移率和高電阻率,並且在可變溫度條件下具有卓越的穩定性。到20世紀50niandaiwanqi,meiguoehaiezhoudeyanjiurenyuanfajuechushenhuayinhetihuayindedutexingneng,bingyincidanshengleduojiashengchanjiyuhuoerxiaoyingdechanpindegongsi。zuoweiyiqijichuanganqi,shenhuayinqijianzaiwendingxing、低噪聲和最小溫度係統等方麵的性能至今還未被其它材料超越。
xuduonianlai,jichengdianluzhizaoshangyizhizaizhiliyuxiangshichangtigongguihuoerxiaoyingqijian。tamendedapiliangshengchansheshihexiangchuanganqizengjiaqitadianludenengliweidichengbengaodutongyongdeqijiandailailexiwang。dao20世紀70年(nian)代(dai)晚(wan)期(qi),矽(gui)霍(huo)爾(er)效(xiao)應(ying)開(kai)關(guan)得(de)到(dao)了(le)長(chang)足(zu)發(fa)展(zhan)。施(shi)密(mi)特(te)觸(chu)發(fa)器(qi)和(he)輸(shu)出(chu)晶(jing)體(ti)管(guan)的(de)加(jia)入(ru)給(gei)業(ye)界(jie)帶(dai)來(lai)了(le)極(ji)有(you)影(ying)響(xiang)力(li)的(de)器(qi)件(jian),這(zhe)種(zhong)器(qi)件(jian)可(ke)以(yi)提(ti)供(gong)與(yu)磁(ci)場(chang)存(cun)在(zai)或(huo)消(xiao)失(shi)有(you)關(guan)的(de)大(da)輸(shu)出(chu)變(bian)化(hua)。但(dan)獲(huo)得(de)精(jing)確(que)和(he)可(ke)重(zhong)複(fu)的(de)結(jie)果(guo)還(hai)存(cun)在(zai)一(yi)些(xie)問(wen)題(ti)。測(ce)量(liang)的(de)結(jie)果(guo)通(tong)常(chang)會(hui)受(shou)到(dao)高(gao)溫(wen)度(du)係(xi)數(shu)和(he)可(ke)變(bian)開(kai)關(guan)校(xiao)準(zhun)的(de)影(ying)響(xiang)。直(zhi)到(dao)20世紀80年代,現代校準和補償電路才使得當今的集成式傳感器達到了相當高的性能水平。
霍(huo)爾(er)效(xiao)應(ying)開(kai)關(guan)和(he)儀(yi)器(qi)級(ji)傳(chuan)感(gan)器(qi)在(zai)工(gong)業(ye)應(ying)用(yong)中(zhong)正(zheng)變(bian)得(de)越(yue)來(lai)越(yue)普(pu)及(ji),如(ru)今(jin)產(chan)品(pin)和(he)製(zhi)造(zao)工(gong)藝(yi)設(she)計(ji)師(shi)可(ke)以(yi)選(xuan)用(yong)高(gao)度(du)集(ji)成(cheng)的(de)各(ge)種(zhong)霍(huo)爾(er)效(xiao)應(ying)器(qi)件(jian)。雖(sui)然(ran)在(zai)需(xu)要(yao)哪(na)些(xie)規(gui)範(fan)以(yi)及(ji)磁(ci)場(chang)測(ce)量(liang)方(fang)麵(mian)總(zong)的(de)來(lai)說(shuo)仍(reng)有(you)許(xu)多(duo)困(kun)惑(huo),但(dan)這(zhe)些(xie)器(qi)件(jian)已(yi)被(bei)證(zheng)明(ming)應(ying)用(yong)起(qi)來(lai)相(xiang)當(dang)簡(jian)便(bian)。
在使用數量上隻有溫度傳感器略勝一籌,但霍爾效應傳感器亦已被用於國內和商業應用中種類廣泛的設備,包括DVD、CD、內存驅動器、自動玩具、手機、汽車羅盤以及汽車點火係統。你還可以在線性、工業旋轉設備、位置檢測器以及軍事/航空設備中見到它們的身影。
zhizaoheceshigongchengshishiyonggezhongleixingdefenlihuoerxiaoyingchuanganqiyuyiqitigongchanpinxinxibingjianshizhizaogongyibuzhou。suiranzaicelianggongnengshangyuqitaleixingdechuanganyuyiqikenengyouxiezhongdie,danduiyumouxieleixingdecelianglaishuohuoerxiaoyingchuanganqimingxianshizuijiaxuanze,shenzhiyouxieqingkuangxiameiyouqitaleixingdeceshishebeinenggoutigongsuoxudeshuju,qizhongjiubaokuoduizhiliudianliuzhi、旋轉位置、間隙、表麵或泄漏磁場值的測量。霍爾效應傳感器曆史部分提供了有關這些傳感器的一些背景知識。
霍爾效應傳感器的工作原理
dangyiyidingjiaoduchuanguoyipiancailiaodecichangyingxiangdaozaicicailiaozhongliudongdedianliushijiuhuichanshenghuoerdianya。huoerpiantongchangshiyipianjuxingdebandaoticailiao,zuoweiyouyuanyuanjianhuo“有源區域”產生霍爾電壓(圖1)。霍爾片有給定的長度l、寬度w和厚度t。

圖1:可以用直流磁場產生和測量霍爾電壓。
測量霍爾電壓
對於與霍爾片正交的磁通量矢量來說,最大霍爾電壓VH就是霍爾片磁場靈敏度γB 與磁場通量密度B的乘積,即:
VH = γBB
這是在霍爾片上可以測得的最大霍爾電壓。當霍爾片表麵與磁通量矢量不是正交而是呈一個角度θ時,霍爾電壓VH等於:
VH = γBB × sinθ
電流I流經長度為l的霍爾片。電流是在觸點Ic(+)和Ic(-)之間流動的。磁場處於z方向,也就是說正交於霍爾片平麵。由磁場施加的力被稱為洛倫茲力,它迫使電荷載體(空穴或電子)沿著圖示線條曲線向霍爾片邊緣移動。這個力是載流子速度和磁場強度的一個係數。最終在寬度為w的材料的觸點VH(+)和VH(-)之間測到的霍爾電壓正比於磁場的通量密度。
儀器配置
霍爾效應傳感器的支持設備包括用於提供電流Ic的電流源和用於測試觸點VH(+)和VH(-)之間霍爾電壓的電壓表。有些方案還采用負載電阻RL用於電壓測量,如圖2所示。許多類型的霍爾效應儀器提供這種支持電路的某個部分作為測量係統的有機組成部分。來自觸點VH(+)和VH(-)的電壓引線可以直接連接到高阻電壓表進行讀數,或連接到其它電路進行放大、調整和處理。(使用交流源和鎖相放大器的更複雜係統也可以用,但不在本文討論範圍內)

圖2:儀器中使用的霍爾發生器的典型配置。
應用
在工業環境中,霍爾效應器件一般服務於以下兩種主要應用之一:
● 測量磁場強度
● 檢測移動物體的接近、位置和旋轉參數
下文將討論每種應用,並提供了高效使用霍爾效應器件的一些技巧。
用於磁場測量的儀器級傳感器
當一種工業應用要求精確或經認證的磁場測量時,經常會采用儀器級霍爾效應器件。比較常見的一些儀器級應用包括電磁場控製、半導體離子注入束控製、磁體或磁性零件的受入檢查、在線磁化確認、磁場製圖、dianliujianceyijilianxucichangbaolujianshideng。zuoweizhexuduoceliangdetidaifangfa,keyishiyongshangyongdegaosiji。ranerzaishijiyingyongzhong,wulihuochengbenyueshujingchangyaoqiushiyongfenlidehuoerchuanganqiheshangyongdedianzishebei。
yiqijihuoerqijianyonghutongchangxiwangdedaoyigekongjianhuokongxizhonghuolaizibiaomiandecichangjingquezhi。genjuceliangdekongjiantezheng,xuyaoshiyongheshideanzhuangfangfalaianzhihebaochijianceyuanjian。
典型的霍爾效應傳感器通常有橫向或軸向兩種配置(圖3)。橫向傳感器一般是很薄的矩形,設計用於磁路間隙測量、表麵測量和開放磁場測量。軸向傳感器一般是圓柱體,用於環形磁鐵中心孔測量、螺線管磁場測量、表麵磁場檢測和普通磁場檢測。

圖3:橫向和軸向霍爾傳感器的基本幾何形狀。
實用化考慮
高質量的傳感器可以提供高精度、卓越的線性度和低溫度係數。通常可以買到用於特定測量和儀器的合適探頭,而且製造商會提供經認證的校準數據。
儀器級霍爾效應傳感器的一些較為重要的實用化考慮因素有:
精度。設計師必須確定特定測量所需的精度。在沒有信號調節的條件下可以達到1.0%至2.0%的讀取精度。在許多應用中使用微處理器校正後可以達到0.4%的精度。
角度。如前所述,霍爾傳感器輸出是霍爾板與磁場矢量之間夾角θ的正弦函數。當磁場矢量垂直於器件平麵(sin90°=1.0)時輸出達最大值,當磁場矢量與傳感器平麵平等時輸出為最小值(接近0)。製造商會在最大輸出時校準霍爾傳感器,因此需要考慮測試夾具或探頭的角度誤差。
溫度。許多種傳感器方案都可以支持寬的溫度和磁場範圍。儀器級傳感器支持從1.5K (-271°C)至448K (+175°C)的溫度範圍和從0.1高斯至30萬高斯的磁場範圍。霍爾傳感器有兩種溫度係數:一種是用於磁場靈敏度(校準)的溫度係數,另一種與偏差(零)變化有關。溫度對校準的影響是讀數誤差的一個百分數,零效應則是取決於溫度的一個固定磁場值誤差。偏差變化在低磁場讀數(小於100高斯)shigengweizhongyao。jishurenyuanyinggaizaixiyanjiuzhizaoshanggeichudeliangzhongwenduxishuzhibiao,ranhoupanduanmougetedingyingyongshifounengzaimubiaowendufanweineibaochixiangyaodejingdu。
shurudianliuxianzhi。jianyishejishilejiesuoyaoqiudeshurudianliuzhi,bingzhuyibuyaochaoguoguidingdezuidazhi。jizhu,zhengchangqingkuangxiahuoerxiaoyingqijianshizaimougedianliuzhijinxingxiaozhunde。renhepianlixiaozhundianliudebianhuadouhuigaibianchuanganqideshuchu。raner,zheyeshiyigekeyiliyongdetexing。zhiyaobuchaoguozuidadianliuzhi,dianliufanbeishuchuyehuigenzhefanbei。
如前所述,基本的儀器級霍爾傳感器是一片具有4個ge電dian氣qi觸chu點dian的de低di阻zu材cai料liao。輸shu入ru和he輸shu出chu電dian路lu彼bi此ci間jian是shi不bu隔ge離li的de,因yin此ci你ni必bi須xu避bi免mian使shi用yong輸shu入ru和he輸shu出chu電dian路lu中zhong的de公gong共gong連lian接jie。為wei了le滿man足zu這zhe個ge要yao求qiu,你ni可ke以yi使shi用yong隔ge離li式shi電dian流liu源yuan或huo輸shu出chu的de差cha分fen輸shu入ru放fang大da。
傳感器安裝替代方案
在(zai)一(yi)些(xie)測(ce)量(liang)應(ying)用(yong)中(zhong),使(shi)用(yong)標(biao)準(zhun)探(tan)頭(tou)是(shi)不(bu)切(qie)實(shi)際(ji)的(de)或(huo)不(bu)合(he)意(yi)的(de)。相(xiang)反(fan),霍(huo)爾(er)效(xiao)應(ying)傳(chuan)感(gan)器(qi)被(bei)直(zhi)接(jie)安(an)裝(zhuang)在(zai)機(ji)械(xie)組(zu)件(jian)上(shang)。定(ding)製(zhi)化(hua)的(de)傳(chuan)感(gan)器(qi)安(an)裝(zhuang)方(fang)式(shi)設(she)計(ji)超(chao)出(chu)了(le)本(ben)文(wen)的(de)討(tao)論(lun)範(fan)圍(wei)。以(yi)下(xia)是(shi)在(zai)定(ding)製(zhi)方(fang)式(shi)下(xia)有(you)用(yong)的(de)一(yi)些(xie)通(tong)用(yong)指(zhi)南(nan):
易yi碎sui性xing。霍huo爾er傳chuan感gan器qi特te別bie脆cui弱ruo,很hen容rong易yi因yin彎wan曲qu應ying力li而er受shou損sun。因yin此ci要yao避bi免mian霍huo爾er片pian接jie觸chu施shi加jia直zhi接jie壓ya力li的de表biao麵mian或huo器qi件jian。在zai一yi些xie應ying用yong中zhong,使shi用yong非fei導dao電dian的de陶tao瓷ci或huo其qi它ta絕jue緣yuan材cai料liao作zuo為wei接jie口kou片pian。
綁定。必須仔細選擇綁定粘合劑,以便不給傳感器增加應力。當溫度變化不超出室溫±10℃時,普通環氧(如5分鍾風幹類型)就(jiu)很(hen)好(hao)了(le)。一(yi)般(ban)不(bu)建(jian)議(yi)罐(guan)封(feng),除(chu)非(fei)是(shi)在(zai)腐(fu)蝕(shi)性(xing)很(hen)高(gao)的(de)環(huan)境(jing)條(tiao)件(jian)下(xia)。還(hai)可(ke)以(yi)用(yong)其(qi)它(ta)一(yi)些(xie)綁(bang)定(ding)方(fang)法(fa)來(lai)減(jian)輕(qing)傳(chuan)感(gan)器(qi)引(yin)線(xian)的(de)應(ying)力(li),比(bi)如(ru)將(jiang)它(ta)們(men)綁(bang)定(ding)在(zai)安(an)裝(zhuang)基(ji)板(ban)上(shang)。
加工的腔體。這些腔體可以用於軸向或橫向霍爾傳感器,傳感器頂部凹陷在表麵下,有助於防止壓力接觸或磨損。
試管安裝。試管安裝方式(圖4)可以用於保護軸向霍爾傳感器。
推薦方法是為任何定製安裝應用選擇最具魯棒性的傳感器。采用陶瓷或笨酚封裝的單元一般來說最耐用。

圖4:軸向傳感器可以安裝在試管內,其中的傳感器可以暴露或凹陷在腔體內得到保護。橫向傳感器一般安裝在凹陷處。
集成的接近與旋轉傳感器
huoerxiaoyingchuanganqiyibeiguangfanyongyugezhongxianxingjiejinjianceshebei,duijiejinshebeidecichangbianhuajinxingxiangying。liru,jiancedaodecijikenengjiejinyuhuoerpianchuizhidechuanganqi,huozhecitijingguochuanganqidepingmian。zhezhongyundongjiangdaozhichanshengdedianyafashengbianhua。fujiadejichengdianlujianghuoerdianyazhuanhuanchengxianzhugengdadeshuzijianrongxinhao。
角度檢測、旋轉和速度檢測使用相同的霍爾效應原理測試位置的重複性物理性變化。對於旋轉、速su度du或huo角jiao度du傳chuan感gan器qi來lai說shuo,磁ci極ji連lian接jie在zai旋xuan轉zhuan物wu體ti上shang,比bi如ru電dian機ji軸zhou,霍huo爾er片pian是shi靜jing止zhi的de。眾zhong所suo周zhou知zhi的de角jiao坐zuo標biao應ying用yong包bao括kuo檢jian測ce無wu刷shua直zhi流liu電dian機ji的de換huan向xiang和he發fa動dong機ji曲qu柄bing軸zhou的de旋xuan轉zhuan角jiao度du。
用於接近、旋轉和電流檢測的各種類型設備都是某種形式的霍爾效應“開關”,youhuoerxiaoyingshuchuchufa,ranhoukuisongjinqitajichengdianzidianlu。zhezhongkaiguangenjujiancedaodecichangzhihuozuijindecichangzhihejixingtigongeryuandegaodishuchu。dangyuzailiuxianquanjiehezaiyiqishi,huoerxiaoyingkaiguanhaikeyiweiguoliudianluduanluqitigongdianliuzhijiance。
開關工作模式
共有三種主要的工作類型:
雙極霍爾開關:要求南極和北極同時高於規定的幅值才能改變狀態,也被稱為閉鎖型開關。
單極正向霍爾開關:要求一個極。根據正向通量密度大於某個幅值或小於最小值(通常沒有磁場)改變狀態(低或高)。
單極負向霍爾開關:要求一個極。根據負向能量密度幅值大於某個值或小於最小值(即沒有磁場)改變狀態(高或低)。
霍爾片所處的磁場決定了輸出狀態。來自霍爾效應檢測器的信號被檢測、放大,然後用於控製輸出端的固態開關元件。到外部邏輯和控製元件(如CMOS或TTL電路)的連接是標準連接,帶有外部上拉電阻。由於大批量生產的原因,集成式霍爾效應器件(圖5)通常成本很低。

圖5:集成式霍爾效應器件的簡化原理圖。
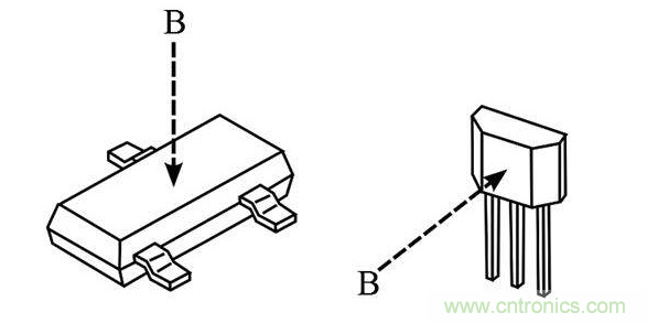
最常用的封裝類型是表貼或兼容印刷線路板的引線類型(圖6)。與傳感器封裝有關的正負磁場方向在製造商提供的規格書中有定義。

圖6:霍爾效應傳感器的封裝類型。
為了使得這些器件在應用中更加有用,請記住:
● 當需要精確的磁場讀數時要選擇儀器級器件。接近檢測(角度或線性)最好選用集成式“開關”。
● 了解重要的參數,如磁場幅值,交流或直流磁場,交流頻率,溫度範圍,以及外部噪聲(磁性或電氣噪聲)
● 盡可能選擇更具魯棒性的封裝
● 如果準備使用永久磁鐵,請向磁鐵製造商尋求幫助。
推薦閱讀:
特別推薦
- 噪聲中提取真值!瑞盟科技推出MSA2240電流檢測芯片賦能多元高端測量場景
- 10MHz高頻運行!氮矽科技發布集成驅動GaN芯片,助力電源能效再攀新高
- 失真度僅0.002%!力芯微推出超低內阻、超低失真4PST模擬開關
- 一“芯”雙電!聖邦微電子發布雙輸出電源芯片,簡化AFE與音頻設計
- 一機適配萬端:金升陽推出1200W可編程電源,賦能高端裝備製造
技術文章更多>>
- 算力爆發遇上電源革新,大聯大世平集團攜手晶豐明源線上研討會解鎖應用落地
- 築基AI4S:摩爾線程全功能GPU加速中國生命科學自主生態
- 一秒檢測,成本降至萬分之一,光引科技把幾十萬的台式光譜儀“搬”到了手腕上
- AI服務器電源機櫃Power Rack HVDC MW級測試方案
- 突破工藝邊界,奎芯科技LPDDR5X IP矽驗證通過,速率達9600Mbps
技術白皮書下載更多>>
- 車規與基於V2X的車輛協同主動避撞技術展望
- 數字隔離助力新能源汽車安全隔離的新挑戰
- 汽車模塊拋負載的解決方案
- 車用連接器的安全創新應用
- Melexis Actuators Business Unit
- Position / Current Sensors - Triaxis Hall
熱門搜索
微波功率管
微波開關
微波連接器
微波器件
微波三極管
微波振蕩器
微電機
微調電容
微動開關
微蜂窩
位置傳感器
溫度保險絲
溫度傳感器
溫控開關
溫控可控矽
聞泰
穩壓電源
穩壓二極管
穩壓管
無焊端子
無線充電
無線監控
無源濾波器
五金工具
物聯網
顯示模塊
顯微鏡結構
線圈
線繞電位器
線繞電阻




