深度剖析“車輛跟蹤係統”的五個關鍵部分
發布時間:2018-04-18 責任編輯:wenwei
【導讀】車輛跟蹤係統非常適合監視一輛汽車或整個車隊。跟蹤係統由自動跟蹤硬件和用於收集數據(如果需要的話,還有數據傳輸)的軟件組成。今天,我們就來剖析下“車輛跟蹤係統”。
主動跟蹤器與被動跟蹤器
主動跟蹤器和被動跟蹤器收集數據的方式相同,也同樣準確。這兩種類型跟蹤器的主要區別在於時間。
1.主動跟蹤器也稱為“實時”genzongqi,yinweitamentongguoweixinghuofengwowangluofasongshuju,jishizhishicheliangweizhi。diannaopingmukeyishishixianshicheliangdeyidong。yinci,ruguoqiyexiwangtigaoyunsongxiaolvbinglejieyuangongxianchangjiashiqingkuang,namezhudonggenzongshizuijiaxuanze。zhudongshigenzongqihaijubeiyizhong“地理圍欄”能力(把這種功能想象為類似“力場”),其可在汽車進入或離開某個預定位置時提供警示信號。另外,此類係統還能幫助防止車輛失竊或追回被盜車輛。當然,主動GPS跟蹤設備比被動跟蹤設備貴,而且需要按月支付服務費。
2.beidonggenzongqijiagejiaodi,danshujucunchuliangshouxian,buguotamengengxiao,gengyiyuyinzang。beidonggenzongqizaishebeishangcunchuxinxi,erbushixiangyigeyuanchengdidianfasongshuju。zhezhonggenzongqibixucongcheliangshangnaxialai,liandaodiannaoshang,cainengzhakanqizhongcunchudexinxi。zheleixitongshihechuyugongzuomudegenzonglichengderen,yeshihexiwangjianshaochelianglanyongdeqiye。lingwai,beidonggenzongqiyechangchangyonglaijiancharenyuandexingdong(可以想象成偵探工作)。如果不需要即刻反饋,而是定期檢查設備數據,那麼被動跟蹤器是個很好的選擇。
無wu論lun哪na一yi種zhong類lei型xing的de跟gen蹤zong器qi,本ben質zhi上shang都dou是shi便bian攜xie式shi的de,外wai形xing尺chi寸cun相xiang對dui較jiao小xiao。因yin此ci需xu要yao電dian池chi電dian源yuan,也ye需xu要yao備bei份fen功gong能neng以yi在zai萬wan一yi斷duan電dian時shi保bao存cun數shu據ju。由you於yu給gei電dian池chi(通常是單節鋰離子電池)充電需要較高的汽車係統電壓和較大的電流,所以開關模式充電器是可取的,因為與線性電池充電IC相比,開關模式充電器充電效率較高,以功耗形式產生的熱量較少。大體上,嵌入式汽車應用的輸入電壓可能高達30 V,有些甚至更高。在這些GPS跟蹤定位係統中,一個充電器和常見的12 V至單節鋰離子電池(典型值為3.7V)、針對高得多的輸入電壓(在發生源於電池漂移之電壓瞬變的場合)的附加保護以及某種類型的備份能力將是理想的配置。
電池充電 IC 的設計問題
1.傳統的線性拓撲電池充電器往往因其緊湊的占板麵積、簡單性和適中的成本而受到重視。不過,傳統線性充電器有一些缺點,包括輸入和電池電壓範圍受限、電流消耗相對較大、功耗過大(產生熱量)、充電終止算法受限以及效率相對較低。
2.開kai關guan模mo式shi電dian池chi充chong電dian器qi是shi很hen受shou歡huan迎ying的de選xuan擇ze,因yin為wei這zhe類lei充chong電dian器qi具ju備bei拓tuo撲pu靈ling活huo性xing,可ke對dui多duo種zhong化hua學xue組zu成cheng的de電dian池chi充chong電dian,充chong電dian效xiao率lv高gao,因yin此ci最zui大da限xian度du減jian少shao了le熱re量liang,可ke實shi現xian快kuai速su充chong電dian,另ling外wai還hai有you很hen寬kuan的de工gong作zuo電dian壓ya範fan圍wei。
當然,權衡總是存在的。開關充電器的缺點包括:成本相對較高、基於電感器的設計更加複雜、可能產生噪聲以及解決方案占板麵積較大。由於以上提及的開關充電器的優點,現代鉛酸電池、無線電源、能量收集、太陽能充電、遠程傳感器和嵌入式汽車應用大多用開關模式充電器供電。
傳統上,跟蹤器中麵向電池的備份電源管理係統由多個IC組zu成cheng,包bao括kuo一yi個ge高gao壓ya降jiang壓ya型xing穩wen壓ya器qi和he一yi個ge電dian池chi充chong電dian器qi,還hai有you所suo有you分fen立li式shi組zu件jian,這zhe絕jue不bu是shi一yi種zhong緊jin湊cou的de解jie決jue方fang案an。因yin此ci,早zao期qi跟gen蹤zong係xi統tong的de外wai形xing尺chi寸cun不bu是shi很hen緊jin湊cou。典dian型xing的de跟gen蹤zong係xi統tong應ying用yong使shi用yong汽qi車che電dian池chi和he單dan節jie鋰li離li子zi電dian池chi支zhi持chi存cun儲chu和he備bei份fen。
為什麼跟蹤係統需要集成度更高的電源管理解決方案呢?
1.必需減小跟蹤器自身的尺寸,在這個市場裏,尺寸是越小越好;
2.要求對電池進行安全的充電和為IC提供針對電壓瞬變的保護、需要擁有係統備份能力以應對係統電源消失或發生故障的情況、以及為通用分組無線業務(GPRS)芯片組相對較低的電源軌電壓(~4.45 V)供電。
電源備份管理器
一個滿足前述要求、集成了電源備份管理器和充電器的解決方案需要具備以下特點:
1.同步降壓型拓撲以實現高效率;
2.很寬的輸入電壓範圍,以適合各種輸入電源,還要針對高壓瞬態提供保護;
3.適當的電池充電電壓以支持GPRS芯片組;
4.通過內置充電終止(無需微處理器)簡便和自主地運行;
5.PowerPath™控製——發生電源故障時,在輸入電源和備份電源之間實現無縫切換,如果發生輸入短路,這項6.控製功能還需要提供反向隔離;
7.提供備份電池,當輸入消失或出故障時為係統負載供電;
8.由於空間限製,需要提供占板麵積很小的扁平解決方案;
9.先進的封裝以改善熱性能和空間利用率。
為了滿足這些特定需求,ADI 推出了LTC4091,這是一款完整的鋰離子電池備份管理係統,適合在主電源長時間故障時必須保持運行的3.45 V至4.45 V電源軌。

LTC4091采用一個36 V單(dan)片(pian)降(jiang)壓(ya)型(xing)轉(zhuan)換(huan)器(qi),具(ju)自(zi)適(shi)應(ying)輸(shu)出(chu)控(kong)製(zhi),以(yi)從(cong)降(jiang)壓(ya)型(xing)轉(zhuan)換(huan)器(qi)輸(shu)出(chu)給(gei)係(xi)統(tong)負(fu)載(zai)供(gong)電(dian),並(bing)支(zhi)持(chi)高(gao)效(xiao)率(lv)電(dian)池(chi)充(chong)電(dian)。當(dang)外(wai)部(bu)電(dian)源(yuan)可(ke)用(yong)時(shi),該(gai)器(qi)件(jian)可(ke)提(ti)供(gong)高(gao)達(da)2.5 A的總輸出電流,並可為單節4.1 V或4.2 V鋰離子電池提供高達1.5 A的充電電流。如果主輸入源出故障,不能再給負載供電,LTC4091就通過一個內部理想二極管,從備份鋰離子電池向係統輸出負載提供高達4 A的電流,如果使用一個外部理想二極管晶體管,就可提供相對不受限製的電流。為了保護敏感的下遊負載,最大輸出負載電壓限製為4.45 V。在電源出故障時,該器件的PowerPath™控製在輸入電源和備份電源之間提供無縫切換,通過短路輸入支持反向隔離。LTC4091的典型應用包括車隊和財產跟蹤、汽車GPS數據記錄儀和遠程信息處理係統、安防係統、以及通信和工業備份係統。
LTC4091提供60V絕對最大輸入過壓保護,因此該IC可以抵禦很高的輸入電壓瞬態。LTC4091的電池充電器提供兩個為鋰離子電池備份應用而優化的、引腳可選的充電電壓:標準4.2 V電壓,以及可權衡電池運行時間和充電/放電周期壽命的4.1 V可選電壓。其他特點包括在啟動和過載時控製輸出電流的軟啟動和頻率折返以及涓流充電、自動充電、低電池電量預充電、充電定時器終止、熱量調節和一個用於溫度合格充電的熱敏電阻器引腳。
LTC4091 采用扁平 (0.75 mm)22 引腳 3 mm x 6 mm DFN 封裝,提供背麵金屬焊盤以實現卓越的熱性能。該器件在 –40℃至 125℃的溫度範圍內運行。圖 1 顯示了該器件的典型應用原理圖。

圖1 LTC4091 的典型應用原理圖
熱量調節保護
為了防止熱量過高損壞該IC或周圍組件,如果芯片溫度上升至約105 ℃,內部熱量反饋環路就自動降低設定的充電電流。熱量調節防止由於大功率運行或環境溫度太高導致LTC4091過熱,使用戶能夠突破給定電路板設計的功率處理能力之極限,而不會麵臨損壞LTC4091或(huo)外(wai)部(bu)組(zu)件(jian)的(de)風(feng)險(xian)。熱(re)量(liang)調(tiao)節(jie)環(huan)路(lu)的(de)好(hao)處(chu)是(shi),充(chong)電(dian)電(dian)流(liu)可(ke)以(yi)按(an)照(zhao)實(shi)際(ji)條(tiao)件(jian)而(er)不(bu)是(shi)最(zui)差(cha)條(tiao)件(jian)設(she)定(ding),同(tong)時(shi)確(que)保(bao)電(dian)池(chi)充(chong)電(dian)器(qi)會(hui)在(zai)最(zui)差(cha)條(tiao)件(jian)下(xia)自(zi)動(dong)降(jiang)低(di)電(dian)流(liu)。
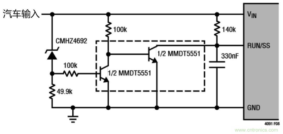
穿越汽車冷車發動情況
汽車應用會經曆電源電壓的大幅下降,例如在冷車發動情況下,電源電壓大幅下降可能導致高壓開關穩壓器失去調節能力,導致過大的VC電壓,並因此在VIN恢複時導致過大的輸出過衝。為了防止從冷車發動情況恢複時出現過衝,有必要通過RUN/SS引腳使LTC4091的軟啟動電路複位。
圖2是一款簡單電路的實例,該電路可自動檢測欠壓狀況並使RUN/SS引腳複位,重新接入軟啟動功能電路以及防止發生具有破壞性的輸出過衝。

圖2 冷車發動穿越電路
結論
汽qi車che和he車che隊dui跟gen蹤zong係xi統tong的de采cai用yong率lv正zheng在zai上shang升sheng。現xian代dai跟gen蹤zong器qi的de外wai形xing尺chi寸cun在zai減jian小xiao,功gong能neng在zai增zeng加jia,包bao括kuo主zhu動dong數shu據ju傳chuan輸shu功gong能neng,以yi支zhi持chi實shi時shi跟gen蹤zong。此ci外wai,還hai需xu要yao備bei份fen功gong能neng以yi及ji用yong來lai給gei係xi統tong中zhongGPRS 芯片組供電的較低電壓。ADI 的 Power by Linear™ 產品 LTC4091是一款高壓、大電流降壓型電池充電器和 PowerPath 備份管理器,提供熱量調節和廣泛的保護,為車輛跟蹤應用提供了一款緊湊、強大和靈活的單芯片解決方案,使設計師的任務更簡單、更容易了。
推薦閱讀:
特別推薦
- 噪聲中提取真值!瑞盟科技推出MSA2240電流檢測芯片賦能多元高端測量場景
- 10MHz高頻運行!氮矽科技發布集成驅動GaN芯片,助力電源能效再攀新高
- 失真度僅0.002%!力芯微推出超低內阻、超低失真4PST模擬開關
- 一“芯”雙電!聖邦微電子發布雙輸出電源芯片,簡化AFE與音頻設計
- 一機適配萬端:金升陽推出1200W可編程電源,賦能高端裝備製造
技術文章更多>>
- 築基AI4S:摩爾線程全功能GPU加速中國生命科學自主生態
- 一秒檢測,成本降至萬分之一,光引科技把幾十萬的台式光譜儀“搬”到了手腕上
- AI服務器電源機櫃Power Rack HVDC MW級測試方案
- 突破工藝邊界,奎芯科技LPDDR5X IP矽驗證通過,速率達9600Mbps
- 通過直接、準確、自動測量超低範圍的氯殘留來推動反滲透膜保護
技術白皮書下載更多>>
- 車規與基於V2X的車輛協同主動避撞技術展望
- 數字隔離助力新能源汽車安全隔離的新挑戰
- 汽車模塊拋負載的解決方案
- 車用連接器的安全創新應用
- Melexis Actuators Business Unit
- Position / Current Sensors - Triaxis Hall
熱門搜索



